GM Service Manual Online
For 1990-2009 cars only
Makes
🢒
Chevrolet
🢒
2001
🢒
Blazer - 4WD - RHD
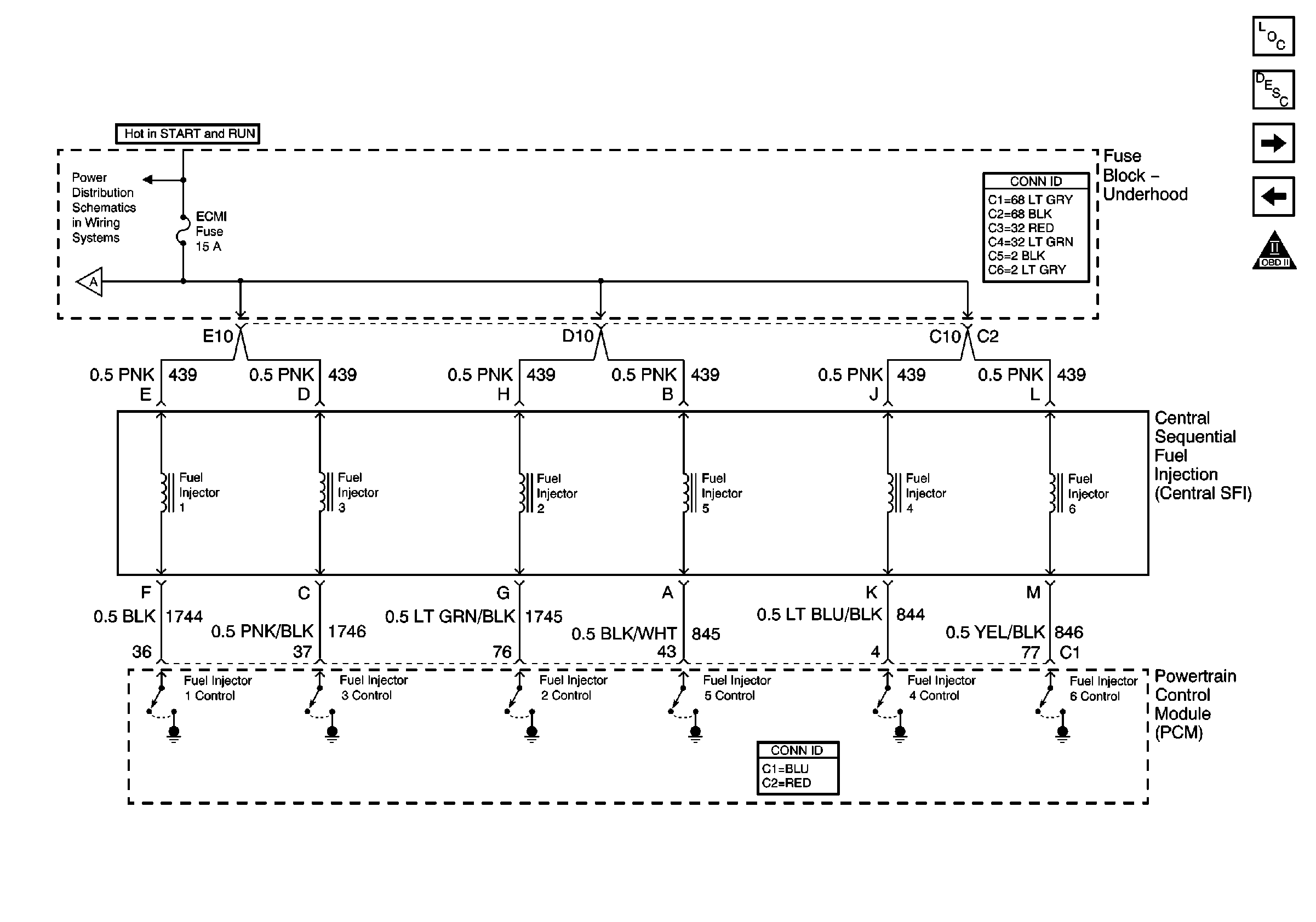
🢒 Fuel Injection Controls
Fuel Injection Controls
Fuel Injection Controls
Master Electrical Component List
Fuel System Description
Engine Sensors
Fuel Level Sensor
OBD II Symbol Description Notice
ECM I Fuse
Power, Ground, MIL and VCM