GM Service Manual Online
For 1990-2009 cars only
Makes
🢒
Chevrolet
🢒
2001
🢒
Blazer - 4WD - RHD
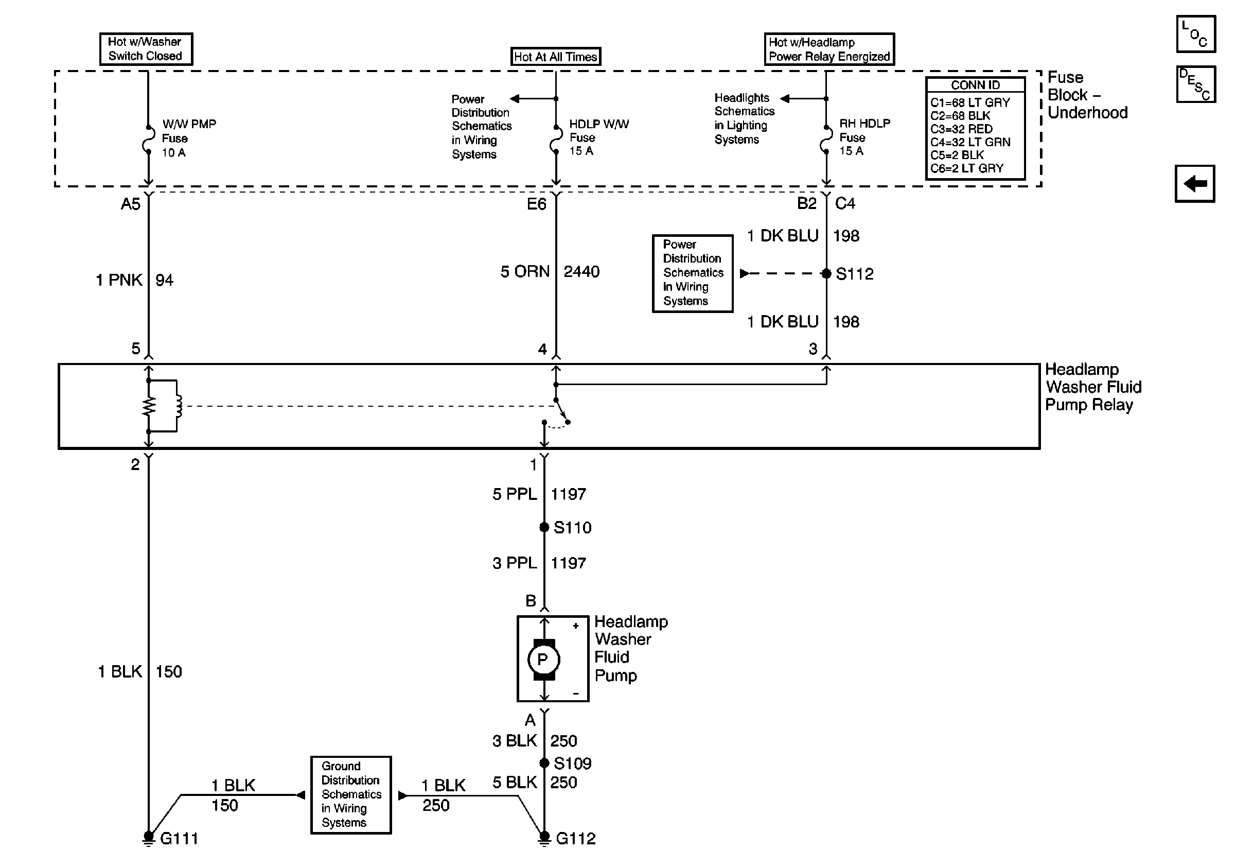
🢒 Headlamp Washers
Headlamp Washers
Headlamp Washers
Master Electrical Component List
Headlamp Washer System Description and Operation
Rear Wipers
B+ Bus Bar
Power, Flash To Pass, and BCM
MIR/LKS, LH HDLP and RH HDLP Fuses
G111 and G112