GM Service Manual Online
For 1990-2009 cars only

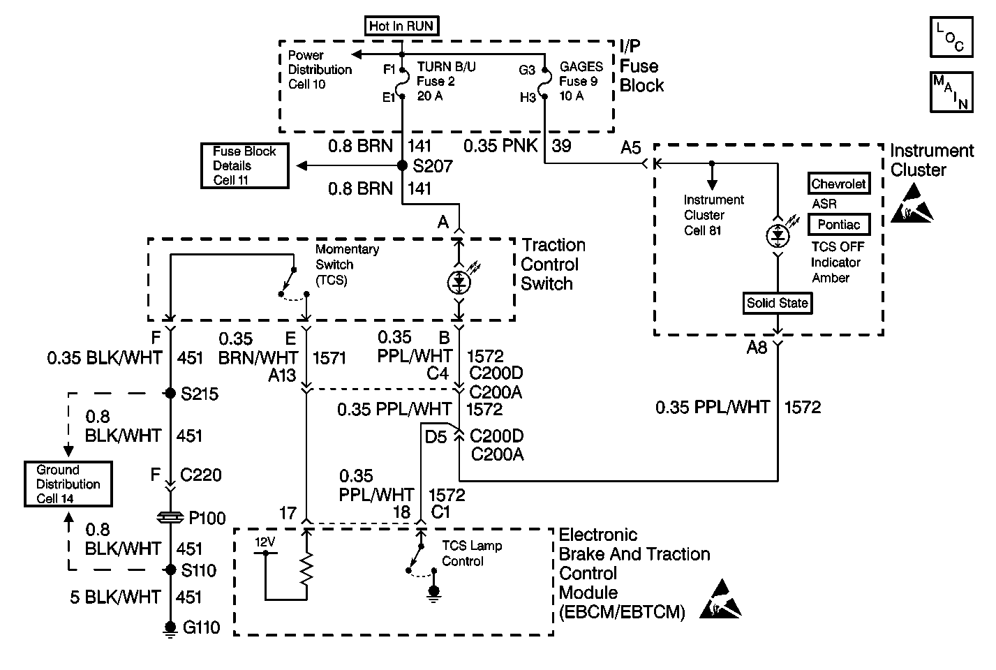
Object Number: 213310  Size: MF
ABS Components
ABS/TCS Schematics
Power Distribution Schematics
Ground Distribution Schematics
Handling ESD Sensitive Parts Notice
Handling ESD Sensitive Parts Notice
Fuse Block Schematics
Instrument Cluster: Analog Schematics

Circuit Description

The TCS Off indicator is controlled by the EBTCM. The EBTCM supplies the ground to CKT 1572 in order to keep the indicator off. When CKT 1572 looses ground at the EBTCM, the TCS Off indicator turns on. When the EBTCM sees the traction control switch voltage go low it turn the TCS Off indicator on and disables traction control.

Diagnostic Aids

    • It is very important that a thorough inspection of the wiring and connectors be performed. Failure to carefully and fully inspect wiring and connectors may result in misdiagnosis, causing part replacement with reappearance of the malfunction.
    • Thoroughly inspect any circuitry that may be causing the complaint for the following conditions:
       - Backed out terminals
       - Improper mating
       - Broken locks
       - Improperly formed or damaged terminals
       - Poor terminal-to-wiring connections
       - Physical damage to the wiring harness
    • The following conditions may cause an intermittent malfunction:
       - A poor connection
       - Rubbed-through wire insulation
       - A broken wire inside the insulation
    • If an intermittent malfunction exists refer to Troubleshooting Procedures Cell 4 in Electrical Diagnosis for further diagnosis.

Test Description

The number(s) below refer to the step number(s) on the diagnostic table.

  1. This step checks for an internal EBTCM malfunction.

  2. This step checks for a short to ground in CKT 1572.

TCS Off Indicator Inoperative with No DTC Set

Step

Action

Value(s)

Yes

No

DEFINITION: TCS Off indicator is inoperative when attempting to disable traction control.

1

Was the Diagnostic System Check performed?

--

Go to Step 2

Go to Diagnostic System Check

2

  1. Turn the ignition switch to the RUN position, engine off.
  2. Using a scan tool enter TCS Data List.
  3. While monitoring the TCS On/Off switch status, press and release the TCS On/Off switch.

Does the switch status change from pressed to released as the TCS switch is pressed and released?

--

Go to Step 3

Go to Step 8

3

  1. Turn the ignition switch to the OFF position.
  2. Disconnect the EBTCM connector C1.
  3. Turn the ignition switch to the RUN position, engine off.

Does the TCS Off Indicator turn on?

--

Go to Step 4

Go to Step 5

4

Replace the EBTCM. Refer to Electronic Brake Control Module Replacement .

Is the replacement complete?

--

Go to Diagnostic System Check

--

5

  1. Turn the ignition switch to the OFF position.
  2. Disconnect the EBTCM connector C1.
  3. Install the J 39700 Universal Pinout Box using the J 39700-530 cable adapter to connector C1 only.
  4. Disconnect the Instrument Cluster connector. Refer to Instrument Cluster Cell 81 in Electrical Diagnosis for connector pinout.
  5. Using J 39200 DMM, measure the resistance between terminals 18 and 15 of J 39700 .

Is the resistance within the range specified in the value(s) column?

OL (infinite)

Go to Step 7

Go to Step 6

6

Repair CKT 1572 for a short to ground. Refer to Repair Procedures Cell 5 in Electrical Diagnosis.

Is the repair complete?

--

Go to A Diagnostic System Check - ABS

--

7

Suspect the Instrument Panel. Refer to Instrument Panel in Instrument Panel, Gauges and Console.

Is the repair complete?

--

Go to Diagnostic System Check

--

8

  1. Turn the ignition switch to the OFF position.
  2. Disconnect the EBTCM connector C1.
  3. Install the J 39700 Universal Pinout Box using the J 39700-530 cable adapter to connector C1 only.
  4. Using J 39200 DMM, measure the resistance between terminals 17 and 15 of J 39700 while an assistant presses the TCS On/Off switch.

Is the resistance within the range specified in the value(s) column?

0-5ohms

Go to Step 4

Go to Step 9

9

Repair CKT 1571 or 451 for an open or high resistance, being sure to check the traction control switch for an open. Refer to Repair Procedures Cell 5 in Electrical Diagnosis.

Is the repair complete?

--

Go to Diagnostic System Check

--