GM Service Manual Online
For 1990-2009 cars only

Object Number: 214853  Size: LF
Engine Controls Components
Cell 20: Knock Sensors, VSS, Camshaft and Crankshaft Position Sensors
OBD II Symbol Description Notice
Handling ESD Sensitive Parts Notice
Handling ESD Sensitive Parts Notice

Circuit Description

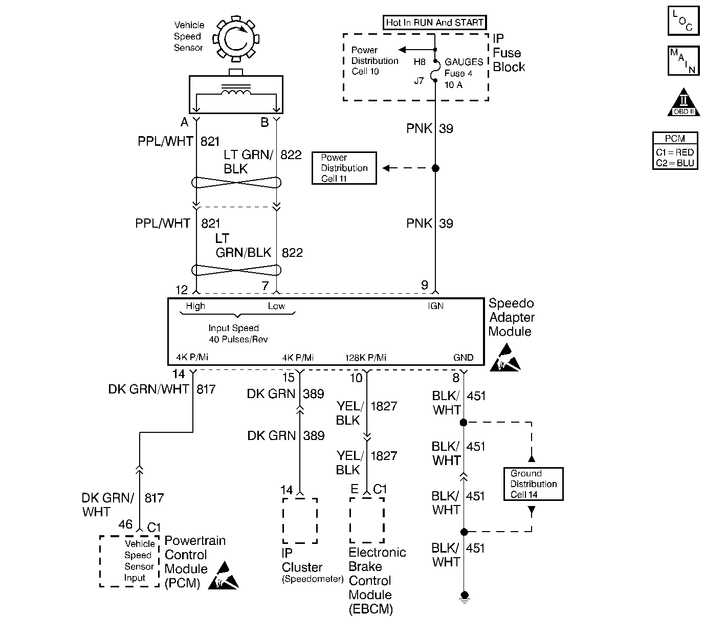
The Vehicle Speed Sensor (VSS) circuit is of the magnetic induction type. The gear teeth are pressed on the outside diameter of the output shaft assembly. The gear teeth induce an alternating current in the sensor as the shaft rotates. The signal goes to the Speedo Adapter Module then directly to the PCM. This pulsing action takes place about 40 times per revolution of output shaft of transmission. The PCM calculates the vehicle speed based on the time between pulses.

Conditions for Running the DTC

    • No MAP DTCs
    • Vehicle speed is 0 mph
    • Engine coolant temperature above 60°C
    • Engine speed is at least 1400 but no more than 4400 RPM.
    • MAP below 20 kPa
    • TP is less than 3.125 percent

Conditions for Setting the DTC

The following conditions will set the DTC:

PCM detects vehicle speed at 0 mph for 110 seconds, or more

Action Taken When the DTC Sets

    • The PCM illuminates the malfunction indicator lamp (MIL) when the diagnostic runs and fails.
    • The PCM records the operating conditions at the time the diagnostic fails. The PCM stores this information in the Freeze Frame and the Failure Records.

Conditions for Clearing the MIL/DTC

    • The PCM turns the MIL OFF after 3 consecutive drive trips that the diagnostic runs and does not fail.
    • A last test failed (current DTC) clears when the diagnostic runs and does not fail.
    • A History DTC clears after 40 consecutive warm-up cycles, if this or any other emission related diagnostic does not report any failures.
    • The PCM battery voltage is interrupted.
    • Use a scan tool in order to clear the MIL/DTC.

Diagnostic Aids

Check proper calibration for the speedometer.

Test Description

The numbers below refer to the step numbers in the diagnostic table.

  1. This step determines if the DTC P0500 is the result of a hard failure or an intermittent condition.

  2. This step checks the wiring, the connections, the PCM, and the VSS.

Step

Action

Values

Yes

No

1

Important: Before clearing DTCs, use the scan tool in order to record the freeze frame and the failure records for reference because the Clear Info function will lose the data.

Was the Powertrain On-Board Diagnostic (OBD) System Check performed?

--

Go to Step 2

Go to Powertrain On Board Diagnostic (OBD) System Check

2

  1. Connect the scan tool.
  2. Clear the DTCs.
  3. Back probe across the VSS signal circuits High and Low using the J 35616 connector test adapter kit.
  4. Raise the wheels of the vehicle.
  5. Operate the engine in gear.
  6. Set the voltmeter on the AC 200 volt scale.

Is the voltage constant?

--

Go to Step 5

Go to Step 3

3

Does the voltage vary?

--

Go to Diagnostic Aids

Go to Step 4

4

Does the voltmeter read NO voltage?

--

Go to Step 11

Go to Step 13

5

  1. With vehicle still raised, disconnect the Vehicle Speed Sensor (VSS).
  2. Operate the engine.
  3. Transmission in gear.
  4. The voltmeter on the AC 200 scale.
  5. Measure the voltage across the Vehicle Speed Sensor terminals A and B.

Does the voltage vary with the RPM?

--

Go to Step 7

Go to Step 6

6

Replace the Vehicle Speed Sensor.

Is the action complete?

--

Go to Step 13

--

7

  1. Check for a poor connection at the PCM harness connector. Refer to Wiring Repairs in Wiring Systems.
  2. Check for a poor connection at the Speedo Adapter Module. Refer to Wiring Repairs in Wiring Systems.
  3. Check for a poor connection at the Vehicle Speed Sensor connector. Refer to Wiring Repairs in Wiring Systems.

Was a problem found?

--

Go to Step 9

Go to Step 8

8

  1. Check for an open or a short circuit between the Speedo Adapter Module and the PCM connector terminal for the VSS signal low circuit and the Vehicle Speed Sensor connector terminal A. Refer to Wiring Repairs in Wiring Systems.
  2. Check for an open or a short circuit between the Speedo Adapter Module and PCM connector terminal for the VSS signal high circuit and the Vehicle Speed Sensor connector terminal B. Refer to Wiring Repairs in Wiring Systems.

Was a problem found?

--

Go to Step 10

Go to Step 13

9

Repair the connection as necessary. Refer to Wiring Repairs in Wiring Systems.

Is the action complete?

--

Go to Step 13

--

10

Repair the open or short as necessary. Refer to Wiring Repairs in Wiring Systems.

Is the action complete?

--

Go to Step 13

--

11

Replace the Speedo Adapter Module. Refer to Vehicle Speed Sensor Module Replacement .

Was a problem found?

--

Go to Step 13

Go to Step 12

12

  1. Replace the PCM. Refer to Powertrain Control Module Replacement .
  2. Program the new PCM. Refer to Powertrain Control Module Replacement .

Is the action complete?

--

Go to Step 13

--

13

  1. Using the scan tool, select the DTC and the Clear Info.
  2. Start the Engine.
  3. Idle at the normal operating temperature.
  4. Select the DTC and the Specific.
  5. Enter the DTC number which was set.
  6. Operate the vehicle within the conditions for setting this DTC as specified in the supporting text.

Does the scan tool indicate that this diagnostic ran and passed?

--

Go to Step 14

Go to Step 2

14

Using the scan tool, select the Capture Info and the Review Info.

Are any DTCs displayed that have not been diagnosed?

--

Go to The Applicable DTC Table

System OK