GM Service Manual Online
For 1990-2009 cars only
Makes
🢒
Chevrolet
🢒
2000
🢒
Chevrolet C-Series Medium Duty Truck B7
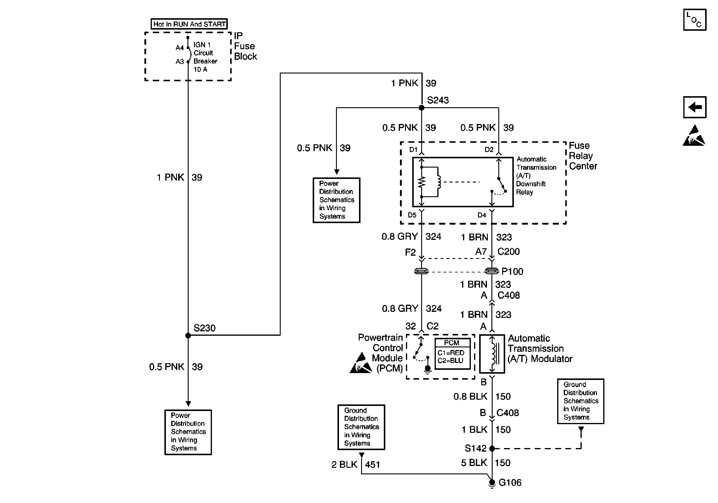
🢒 Automatic Transmission Downshift
Automatic Transmission Downshift
Automatic Transmission Downshift
Engine Controls Components
Clutch/Starter and Neutral Switches
Handling ESD Sensitive Parts Notice
IGN 1 Circuit Breaker (2 of 2)
IGN 1 Circuit Breaker (1 of 2)
Gasoline Engine, G102
Gasoline Engine, G102
Powertrain Control Module Connector End Views