GM Service Manual Online
For 1990-2009 cars only
Makes
🢒
Chevrolet
🢒
2002
🢒
Chevrolet C-Series Medium Duty Truck B7
🢒
Body and Accessories
🢒
Data Link Communications
🢒 Data Link Connector Schematics
Figure
1:
L18
Master Electrical Component List
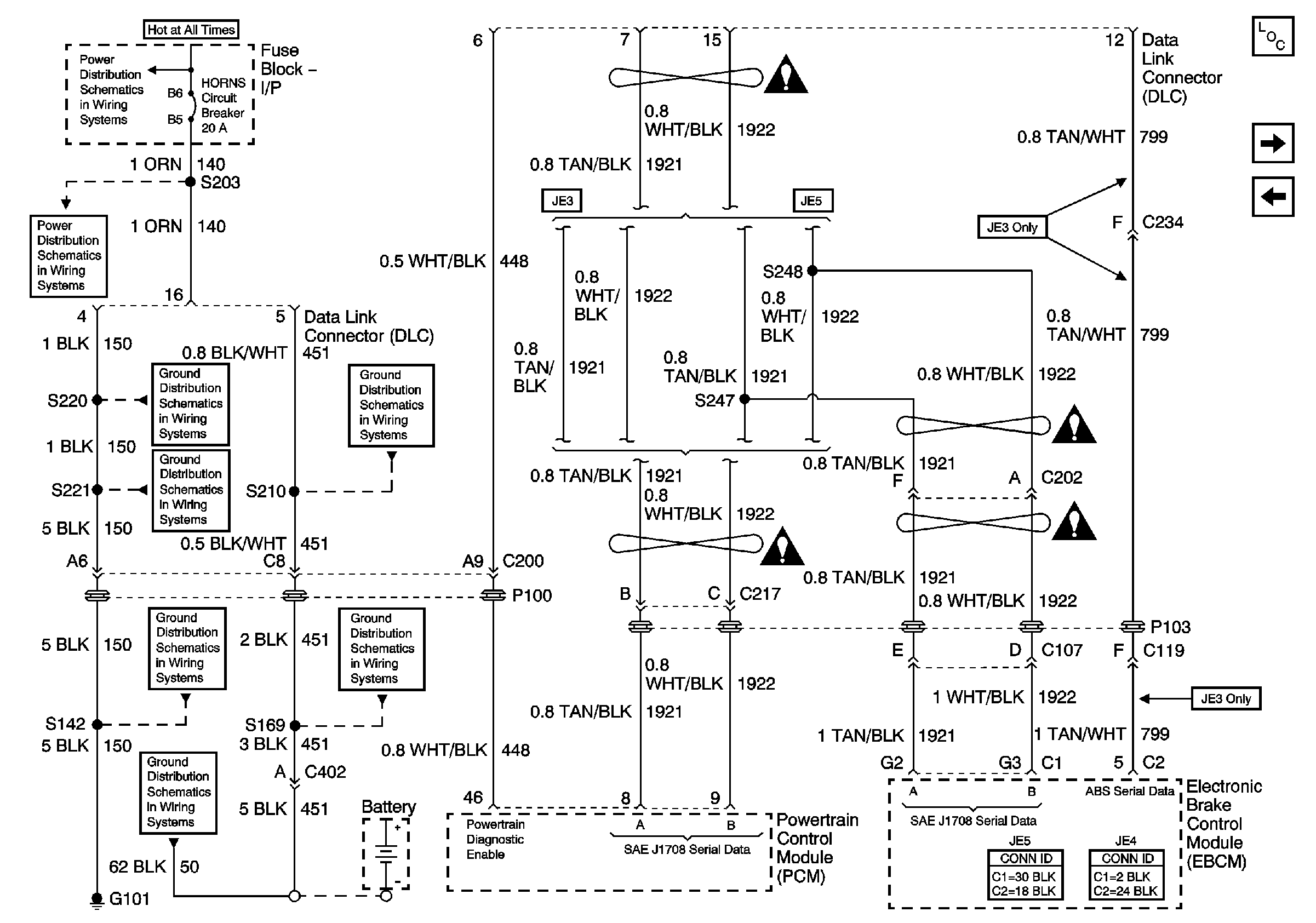
Data LInk Connector (DCL) Schematics - Terminals 6,7,12 and 15 LG5
Data Link Communications Schematic Icons
Data Link Communications Schematic Icons
02Ground Distribution Schematics - S141 and S210 L18
02Ground Distribution Schematics - G108, and S220 L18
Ground Distribution Schematics - G207, G208, and S221 L18
Ground Distribution Schematics - S142, S178, S179, S405 and S409 L18
Ground Distribution Schematics - G102, and S138 L18
Battery and BRK, HORNS, and STOP LP Circuit Breakers, HD LP SW, HORN/STOP and IGN SW 1 Fuses
Power Distribution Schematics - HAZ, Horns, PNL, STOP LP and TL/MKR Circuit Breakers
Ground Distribution Schematics - G102, and S138 L18
02Ground Distribution Schematics - S141 and S210 L18
Figure
2:
Terminals 6, 7, 12 and 15 (LG5)
Battery and BRK, HORNS, and STOP LP Circuit Breakers, HD LP SW, HORN/STOP and IGN SW 1 Fuses
Power Distribution Schematics - HAZ, Horns, PNL, STOP LP and TL/MKR Circuit Breakers
Ground Distribution Schematics - S220, S229 LG5
Ground Distribution Schematics - G108, G207, G208 and S221 LG5
Ground Distribution Schematics - S142 and S241 LG5
Ground Distribution Schematics - G100, G101, G103, G107, G117, G119, G120, G121, G124, G400, G401, G405, G412, G413, G414, S170
Ground Distribution Schematics - S169, S210, S411 and S414 LG5
Ground Distribution Schematics - S169, S210, S411 and S414 LG5
Data Link Communications Schematic Icons
Data Link Communications Schematic Icons
Data Link Communications Schematic Icons
Data Link Communications Schematic Icons
Master Electrical Component List
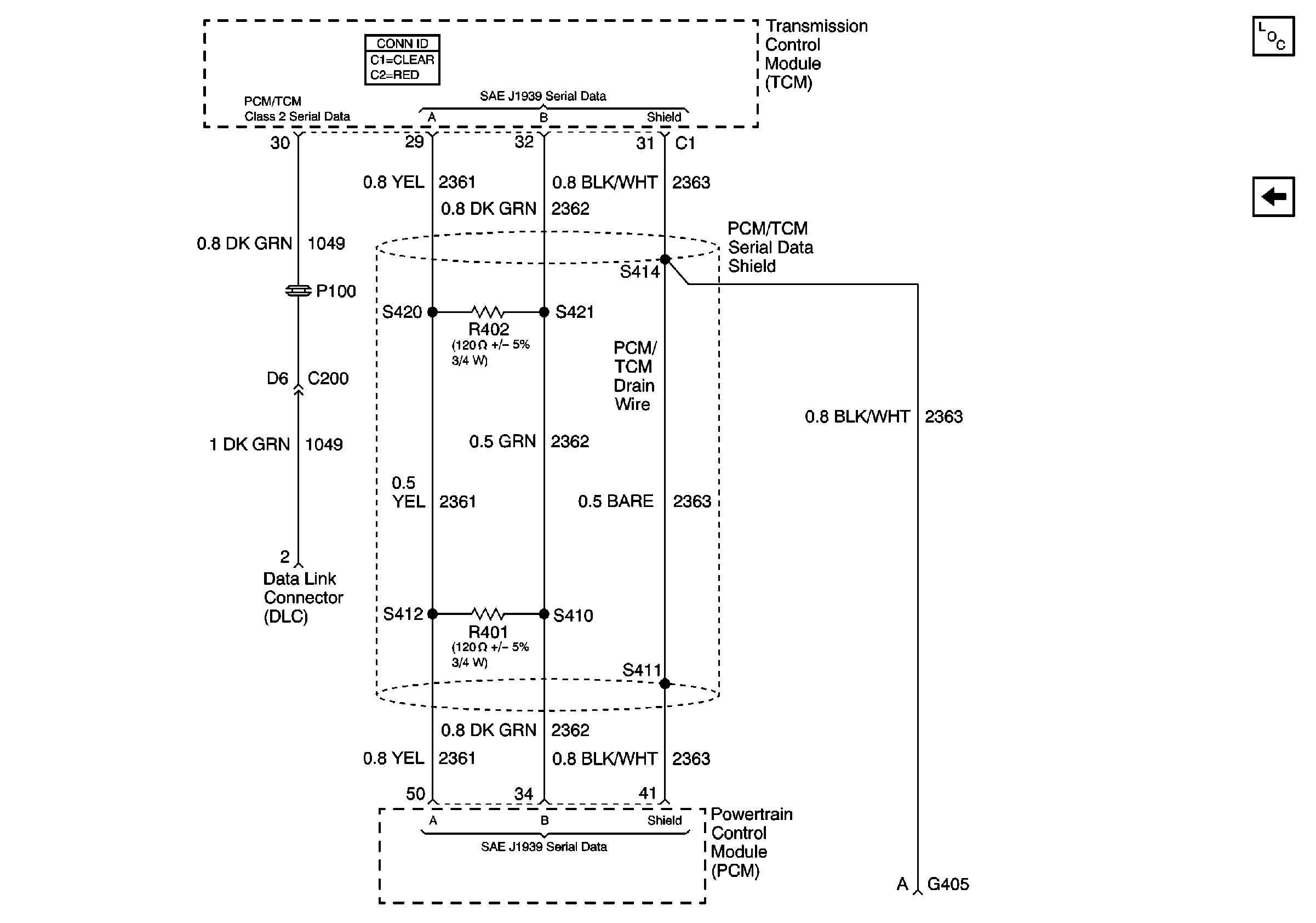
Data LInk Connector (DCL) Schematics - Terminal 2 LG5
Data LInk Connector (DCL) Schematics - L18
Figure
3:
Terminal 2 (LG5)
Master Electrical Component List
Data LInk Connector (DCL) Schematics - Terminals 6,7,12 and 15 LG5