GM Service Manual Online
For 1990-2009 cars only
Makes
🢒
Chevrolet
🢒
2002
🢒
Chevrolet C-Series Medium Duty Truck B7
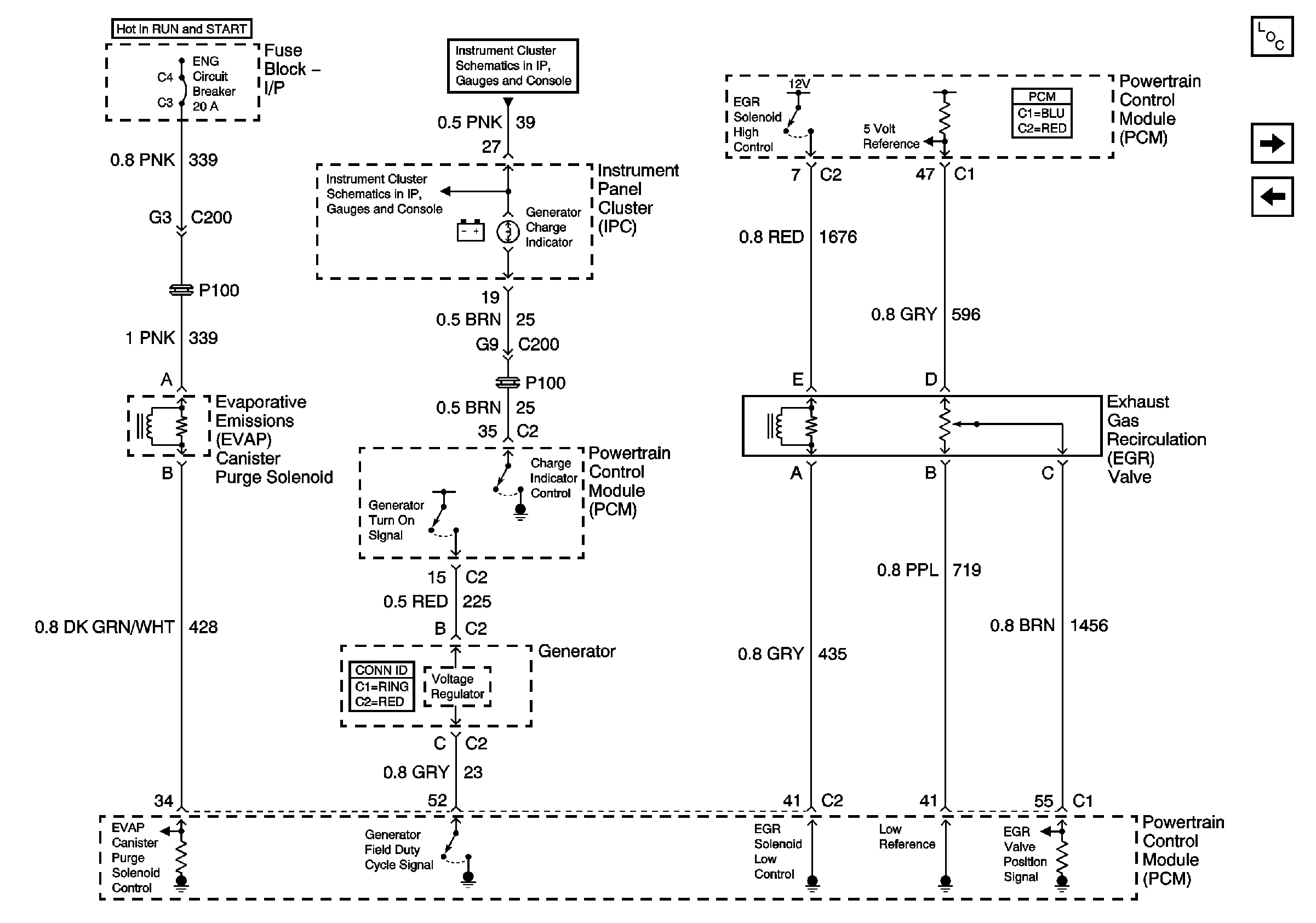
🢒 Evaporative Emissions (EVAP) Canister Purge Solenoid, Exhaust Gas Recalculation(EGR) Valve, Generator and Generator Charge Indicator
Evaporative Emissions (EVAP) Canister Purge Solenoid, Exhaust Gas Recalculation(EGR) Valve, Generator and Generator Charge Indicator
Evaporative Emissions (EVAP) Canister Purge Solenoid, Exhaust Gas Recirculation (EGR) Valve, Generator and Generator Charge Indicator
Master Electrical Component List
Throttle Actuator Control (TAC) Motor, TAC Module and Throttle Position(TP) Sensor
C212 (Upfitter Connector) and Vehicle Speed Sensor (VSS)
Instrument Panel Cluster (IPC), CHECK GAUGES Indicator, Engine Coolant Temperature (ECT), and Engine Oil Pressure (EOP) Gauges and Voltmeter
Instrument Panel Cluster (IPC), CHECK GAUGES Indicator, Engine Coolant Temperature (ECT), and Engine Oil Pressure (EOP) Gauges and Voltmeter