GM Service Manual Online
For 1990-2009 cars only
Makes
🢒
Chevrolet
🢒
2002
🢒
Chevrolet C-Series Medium Duty Truck B7
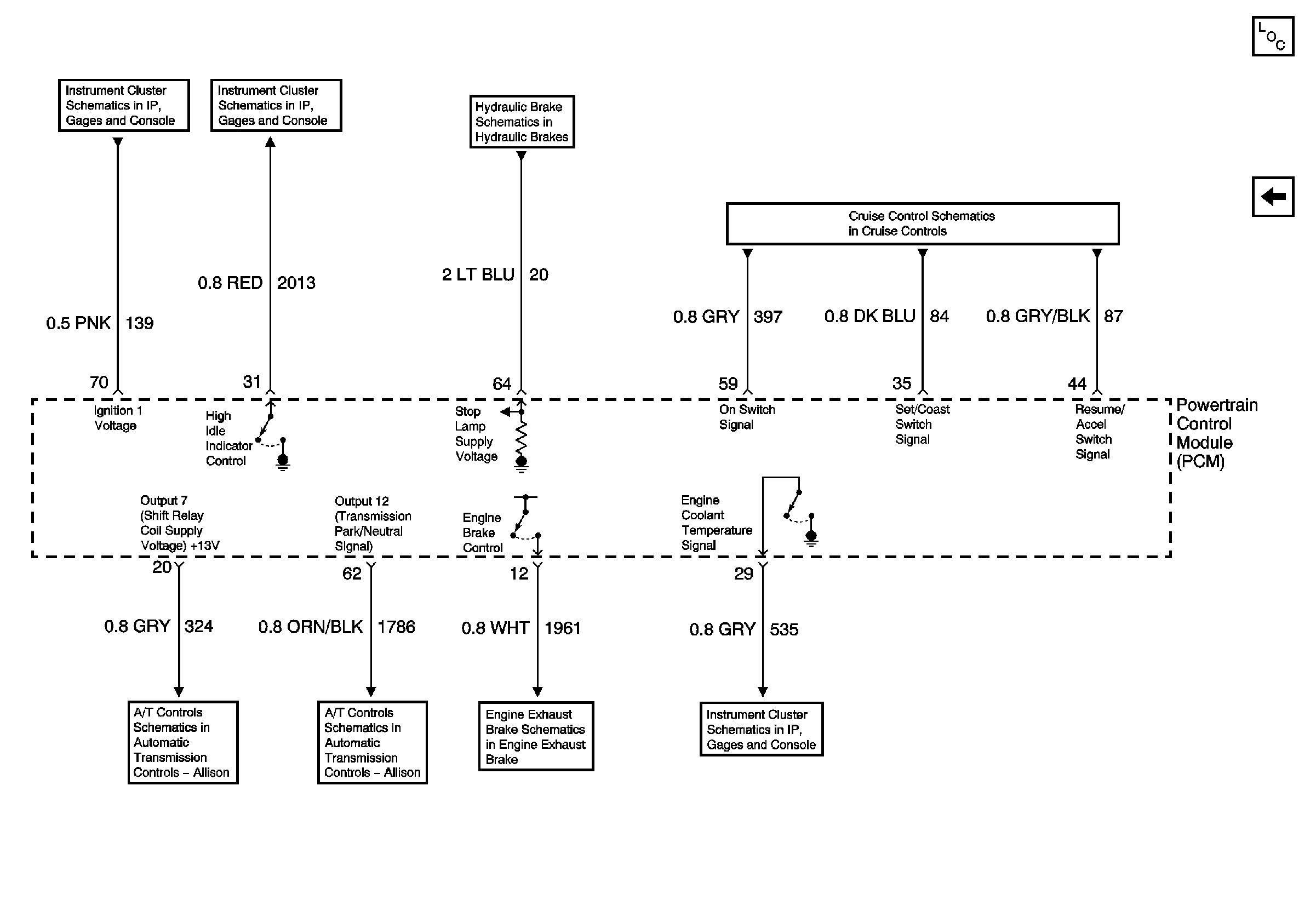
🢒 Engine Controls Schematics - ECT and EOP Gages and Sensors, Generator, Generator Charge and HI IDLE Indicators and PCM
Engine Controls Schematics - ECT and EOP Gages and Sensors, Generator, Generator Charge and HI IDLE Indicators and PCM
IPC Signals, Transmission Signals, Cruise Control Signals
Master Electrical Component List
02 MD-B7 Engine Controls Schematics - Power and Ground, Ignition 3 Relay and Fuel Heater
Cruise Control Schematics - LG5 1of 2
Two Speed Rear Axle Schematics
Instrument Cluster Schematics-Stop Lamp Switch Interface Module, MAM
Brake Warning System Schematics - LG5 1of 2
Engine Exhaust Brake Schematics- Exhaust Brake Switch, Engine Brake Actuator Control Valve, Engine Brake Relay
Instrument Cluster Schematics - DIC, ABS, CHG OIL, DRL, EOS and HI Ind.
Automatic Transmission Controls Schematics - Data Link Connector (DCL), Powertrain Control Module (PCM), Vehicle Speed Signal
Instrument Cluster Schematics-Stop Lamp Switch Interface Module, MAM
Automatic Transmission Schematics - A/T Modulator and Relay