GM Service Manual Online
For 1990-2009 cars only
Makes
🢒
Chevrolet
🢒
2000
🢒
Chevrolet C-Series Medium Duty Truck C6/C7/C8
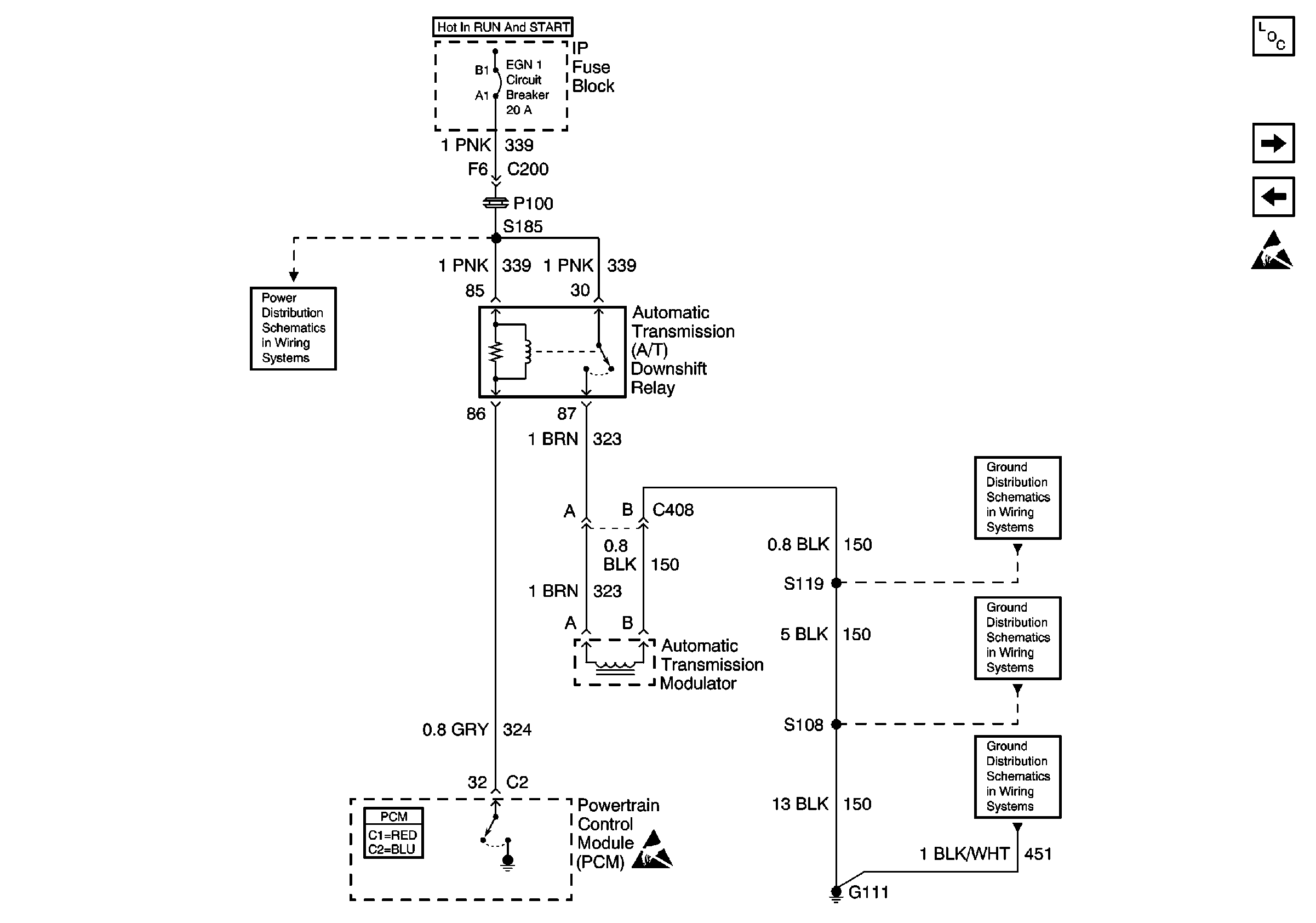
🢒 Automatic Transmission Downshift
Automatic Transmission Downshift
Automatic Transmission Downshift
Engine Controls Components
Air Conditioning
Cruise Control and PTO
Handling ESD Sensitive Parts Notice
ENG 1 Circuit Breaker
G111 (Gasoline), G101 (Diesel)
Powertrain Control Module Connector End Views
Handling ESD Sensitive Parts Notice