GM Service Manual Online
For 1990-2009 cars only
Figure 1:

Battery and Underhood Fuse Block


Object Number: 1442404  Size: FS
Master Electrical Component List
Lighting and Battery Fuses
Figure 2:

Lighting and Battery Fuses


Object Number: 645288  Size: FS
Battery and Underhood Fuse Block
Master Electrical Component List
IGN A Fuse and Ignition Switch
Battery and Underhood Fuse Block
Figure 3:

IGN A Fuse and Ignition Switch


Object Number: 645289  Size: FS
Battery and Underhood Fuse Block
Master Electrical Component List
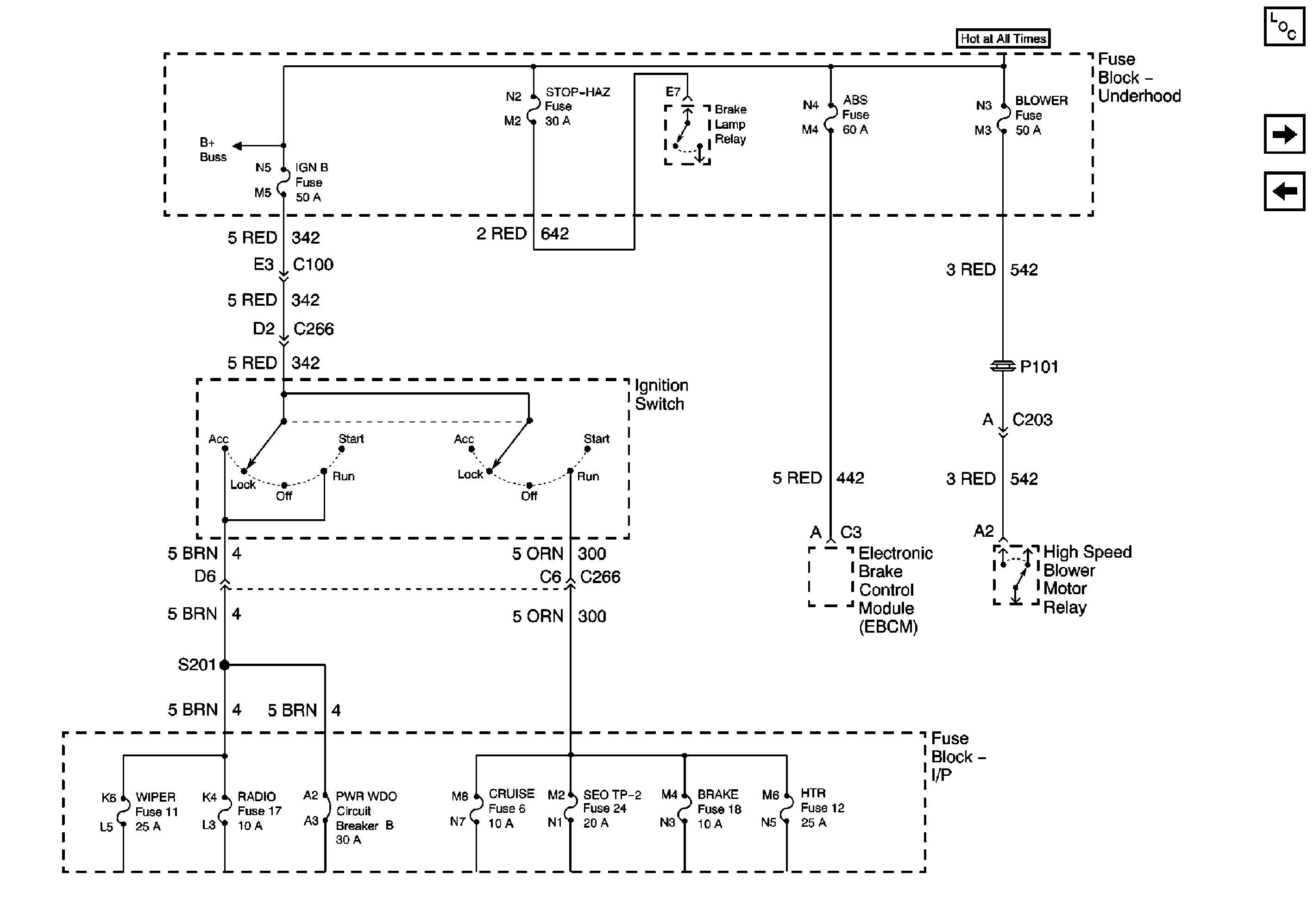
ABS, Blower, Stop-Haz, and IGN B Fuses and Ignition Switch
Lighting and Battery Fuses
Figure 4:

ABS, Blower, Stop-Haz, and IGN B Fuses, and Ignition Switch


Object Number: 1442406  Size: FS
Battery and Underhood Fuse Block
Master Electrical Component List
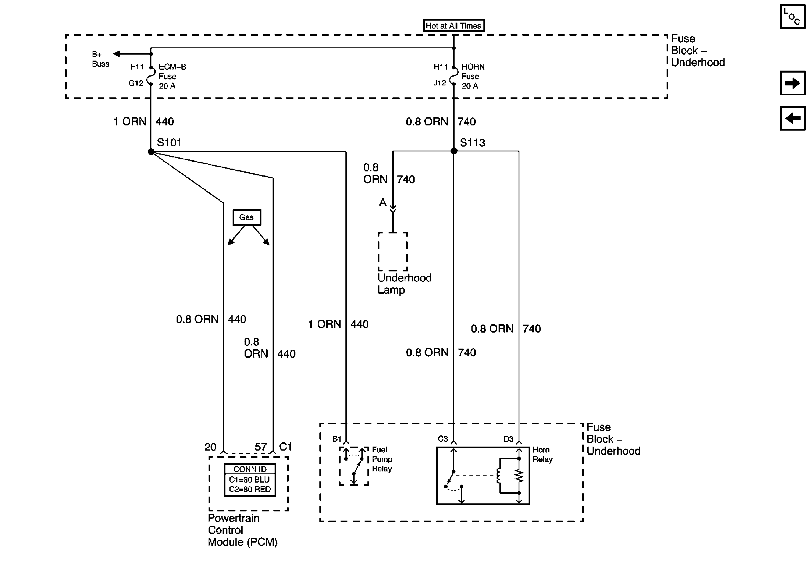
ECM-B, Horn
IGN A Fuse and Ignition Switch
Figure 5:

ECM-B, Horn


Object Number: 1442407  Size: FS
Battery and Underhood Fuse Block
Master Electrical Component List
DRL-Fog, Security, and CTSY Fuses
ABS, Blower, Stop-Haz, and IGN B Fuses, and Igntion Switch
Figure 6:

DRL-Fog, Security, and CTSY Fuses


Object Number: 645299  Size: FS
Park Lamps and Illumination Fuses
Lighting and Battery Fuses
Master Electrical Component List
Park Lamps and Illumination Fuses
ECM-B, Horn, and A/C Fuses
Figure 7:

Park Lamps and Illumination Fuses


Object Number: 680843  Size: FS
Roof Lamp Wiring - 5G4
Lighting and Battery Fuses
DRL-Fog, Security, and CTSY Fuses
Master Electrical Component List
Stop/Haz, Radio Batt, Aux Pwr, and Cig Ltr Fuses
DRL-Fog, Security, and CTSY Fuses
Figure 8:

Stop/Haz, Radio Batt, Aux Pwr, and Cig Ltr Fuses


Object Number: 645301  Size: FS
Lighting and Battery Fuses
Master Electrical Component List
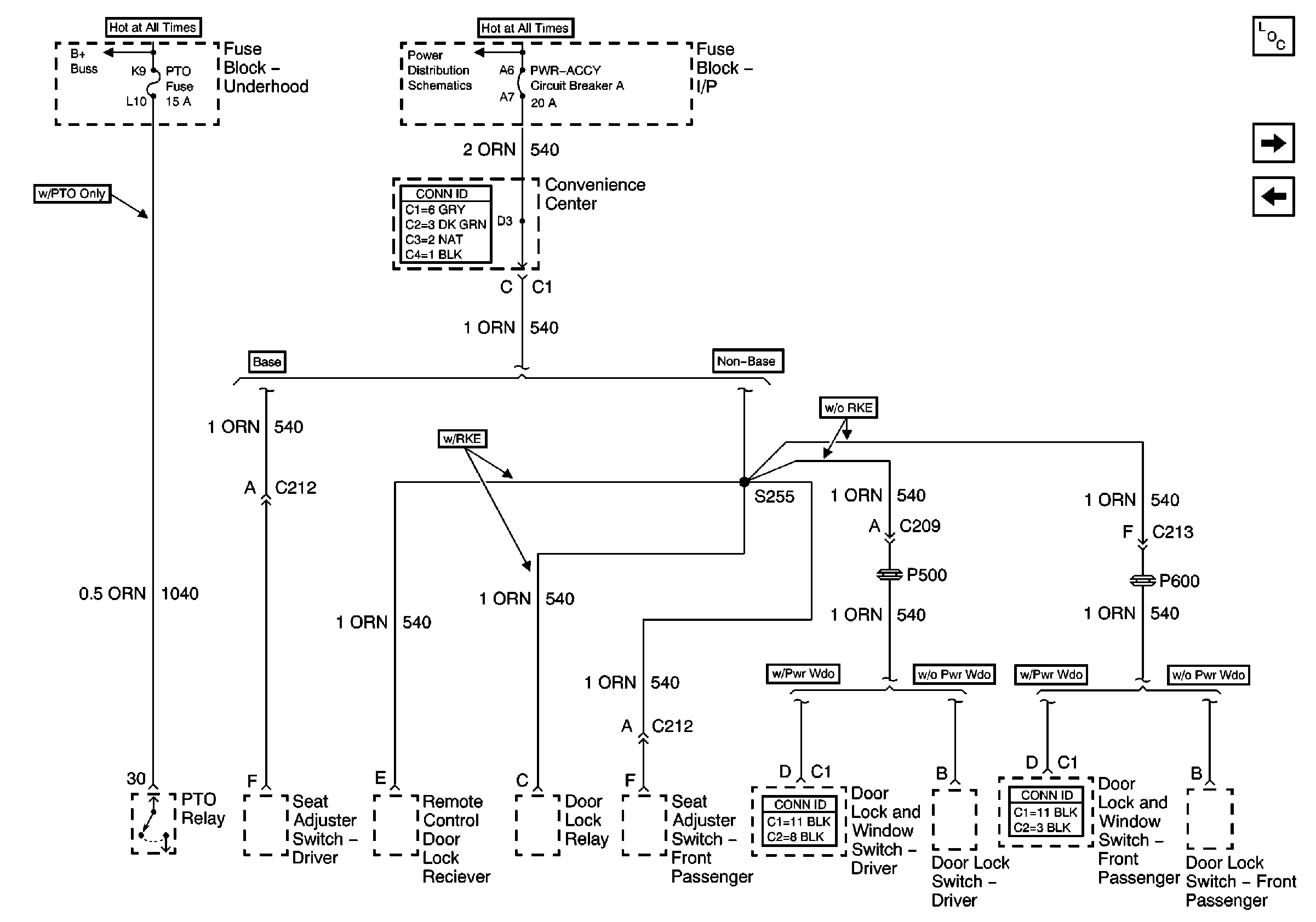
PTO Fuse and Pwr Accy Circuit Breaker
Park Lamps and Illumination Fuses
Figure 9:

PTO Fuse, and Pwr Accy Circuit Breaker


Object Number: 645303  Size: FS
Battery and Underhood Fuse Block
Lighting and Battery Fuses
Master Electrical Component List
IGN-E and ENG I Fuses - Gas
Stop/Haz, Radio Batt, Aux Pwr, and Cig Ltr Fuses
Figure 10:

ENG I and IGN-E Fuse -- L18


Object Number: 1442408  Size: FS
IGN A Fuse and Ignition Switch
Master Electrical Component List
ECM-I Fuse, 1 of 2 Fuel Injectors
PTO Fuse, and Pwr Accy Circuit Breaker
Figure 11:

ECM-I Fuse, 1 of 2, Fuel Injectors


Object Number: 645307  Size: FS
IGN A Fuse and Ignition Switch
ECM-I Fuse, 2 of 2, Ignition Coils
Master Electrical Component List
ECM-I Fuse, 2 of 2, Ignition Coils
IGN-E Fuse - Diesel
Figure 12:

ECM-I Fuse, 2 of 2, Ignition Coils


Object Number: 645308  Size: FS
ECM-I Fuse, 1 of 2, Fuel Injectors
ECM-I Fuse, 1 of 2, Fuel Injectors
Master Electrical Component List
ENG-I and ECM-I Fuses (Diesel)
ECM-I Fuse, 1 of 2, Fuel Injectors
Figure 13:

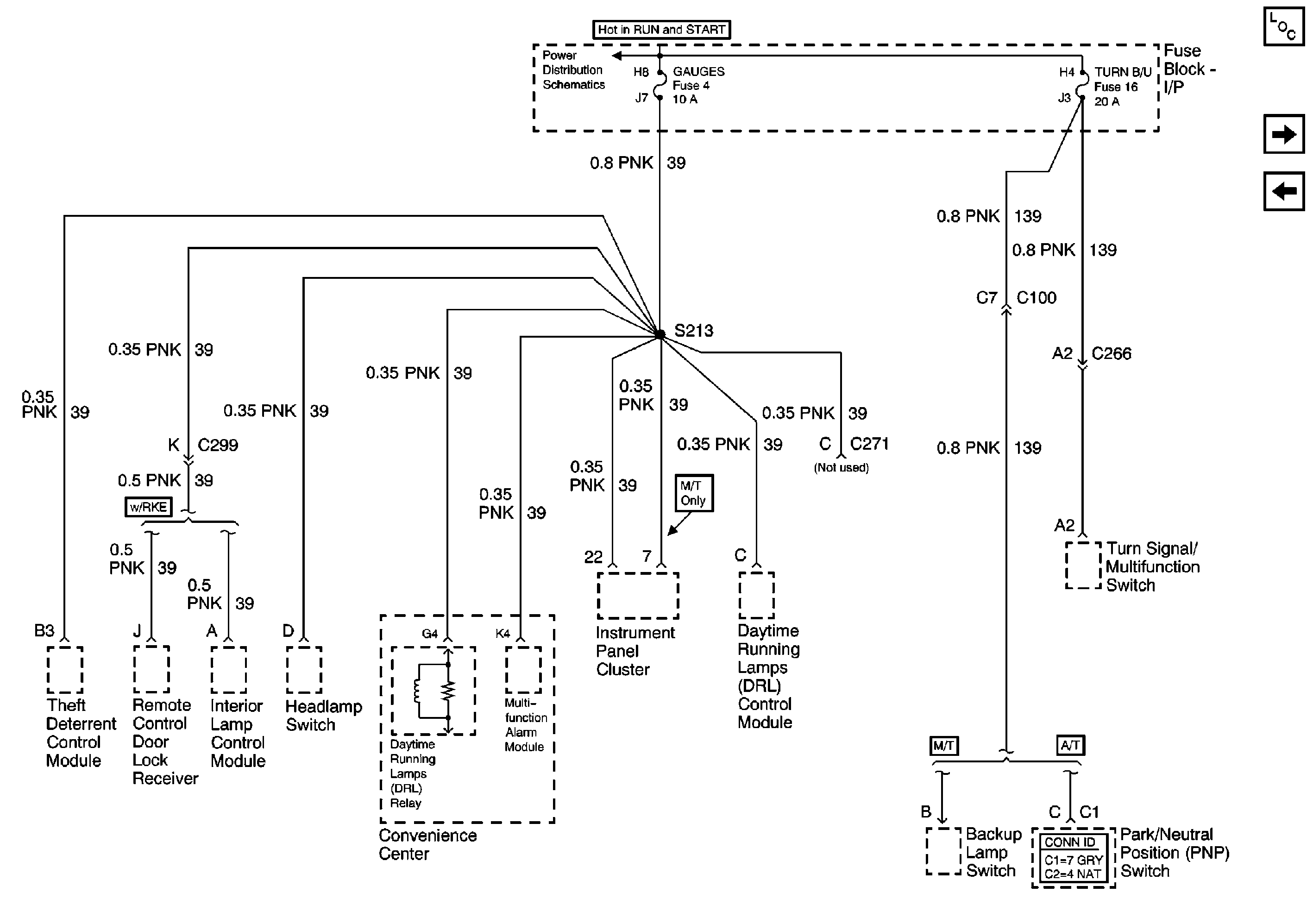
Gages Fuse and Turn-B/U Fuse


Object Number: 1442409  Size: FS
IGN A Fuse and Ignition Switch
Master Electrical Component List
Pwr Wdos Circuit Breaker, Wiper, Radio, Clock, and Trans Fuses
ECM-I Fuse, 2 of 2 Ignition Coils
Figure 14:

Pwr Wdos Circuit Breaker, Wiper, Radio, Clock, and Trans Fuses


Object Number: 645313  Size: FS
ABS, Blower, Stop-Haz, and IGN B Fuses and Ignition Switch
ABS, Blower, Stop-Haz, and IGN B Fuses and Ignition Switch
IGN A Fuse and Ignition Switch
IGN A Fuse and Ignition Switch
Master Electrical Component List
Brake, Cruise, SEO TP-2, and Htr-A/C Fuses
Gauges and Turn-B/U Fuses
Figure 15:

Brake, Cruise, SEO TP-2, and Htr-Fuses


Object Number: 1442410  Size: FS
ABS, Blower, Stop-Haz, and IGN B Fuses, and Igntion Switch
Master Electrical Component List
Pwr Wdos Circuit Breaker, Wiper, Radio, Clock, and Trans Fuses