GM Service Manual Online
For 1990-2009 cars only
Figure 1:

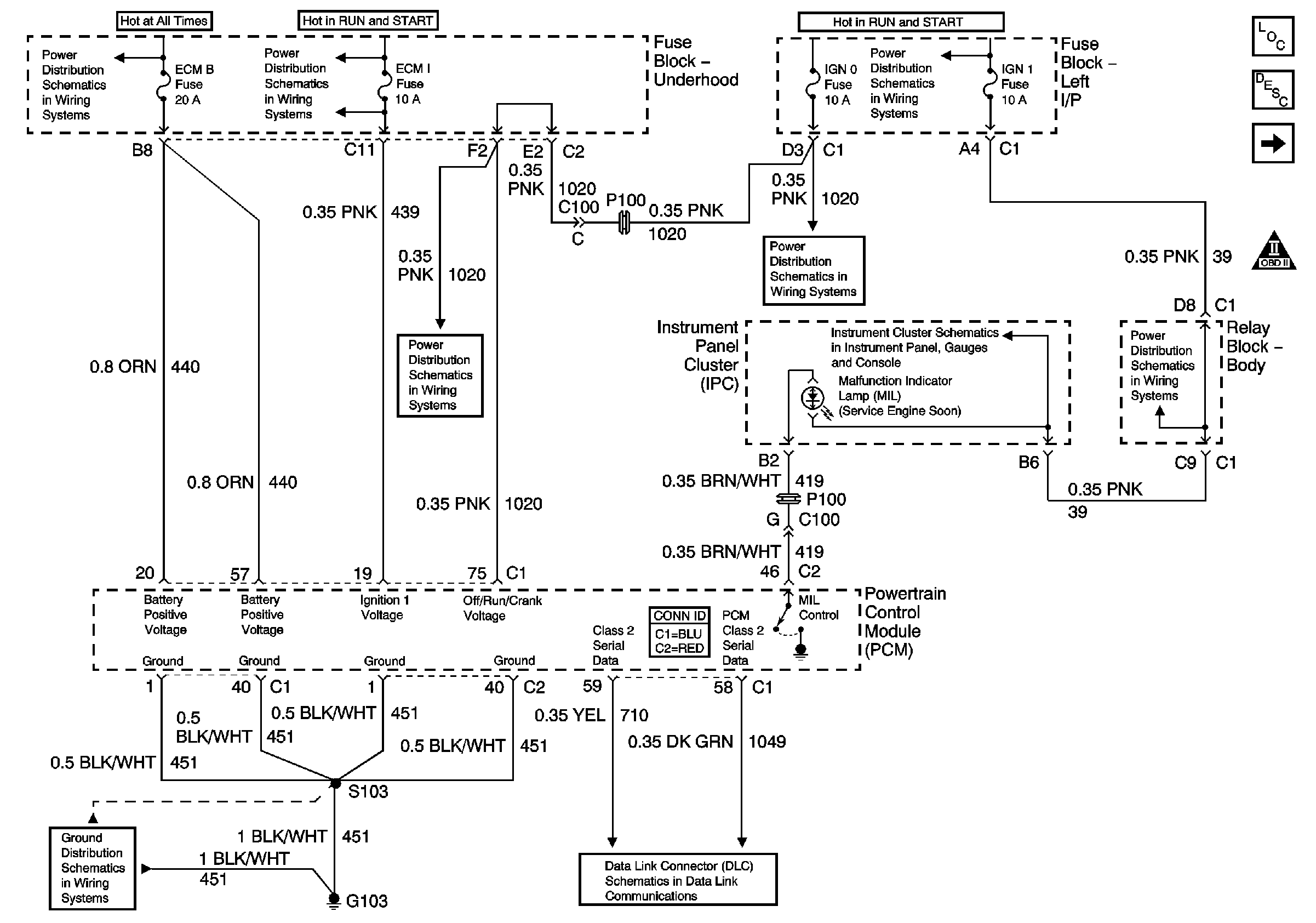
Module Power, Ground, Serial Data, and MIL


Object Number: 769962  Size: FS
Master Electrical Component List
Powertrain Control Module Description
Engine Data Sensors - Pressure and Temperature
OBD II Symbol Description Notice
ECM 1, ETC, INJ A, and INJ B Fuses - Gas Only
AIR, RTD, RADIO, RDO AMP, ECM B, FRT HVAC, and CIGAR Fuses
IGN 1, TURN, SEO IGN, AIR BAG, CRANK, and IGN 0 Fuses
IGN 1, TURN, SEO IGN, AIR BAG, CRANK, and IGN 0 Fuses
IGN 1, TURN, SEO IGN, AIR BAG, CRANK, and IGN 0 Fuses
Power and Ground
AUX PWR and HORN Fuses
G103 and G105 - Gas
Splice Pack SP205
Figure 2:

Engine Data Sensors - Pressure and Temperature


Object Number: 769976  Size: FS
Master Electrical Component List
Powertrain Control Module Description
Engine Data Sensors - MAF and VSS
Module Power, Ground, Serial Data and MIL
OBD II Symbol Description Notice
Switch Inputs
Switch Inputs
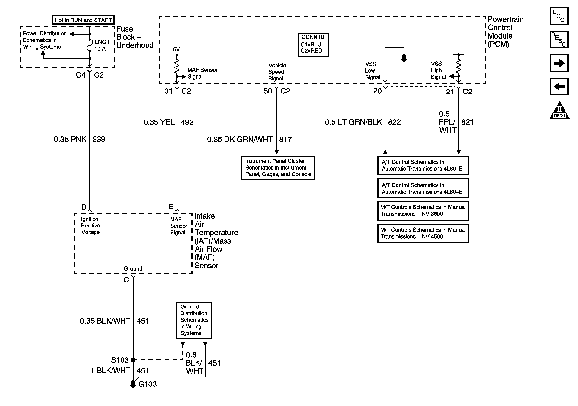
Figure 3:

Engine Data Sensors - MAF and VSS


Object Number: 769965  Size: FS
Master Electrical Component List
Powertrain Control Module Description
Engine Data Sensors - HO2S 4.8, 5.3L w/Case Grounded Sensors
Engine Data Sensors - Pressure and Temperature
OBD II Symbol Description Notice
02B, 02A, ENG 1, and IGN E Fuses - Gas Only
Gages
G103 and G105 - Gas
Vehicle Speed Signal and 4WD Low Signal
Vehicle Speed Signal and 4WD Low Signal
Manual Transmission Schematics
Manual Transmission Schematics
Figure 4:

Engine Data Sensors - H02S 4.8, 5.3L w/Case Grounded Sensors


Object Number: 769982  Size: FS
Master Electrical Component List
Powertrain Control Module Description
Engine Data Sensors - HO2S 4.8, 5.3L w/Isolated Grounded Sensors
Engine Data Sensors - MAF and VSS
OBD II Symbol Description Notice
02B, 02A, ENG 1, and IGN E Fuses - Gas Only
G104 - Gas
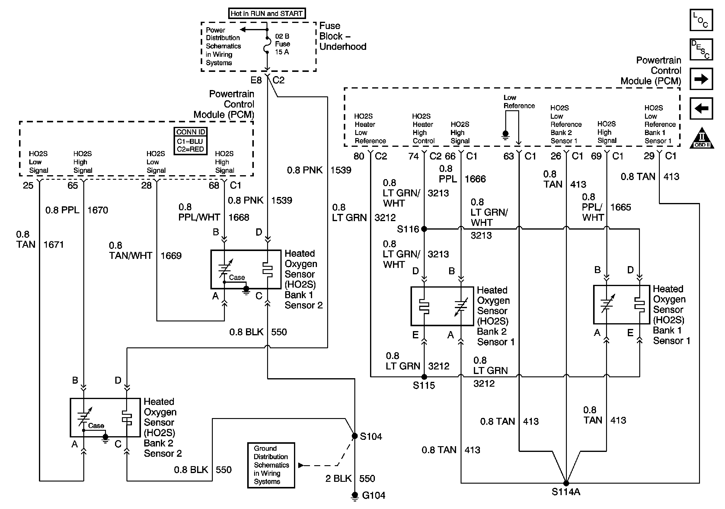
Figure 5:

Engine Data Sensors - H02S 4.8, 5.3L w/Isolated Grounded Sensors


Object Number: 769984  Size: FS
Master Electrical Component List
Powertrain Control Module Description
Engine Data Sensors - HO2S 6.0L w/Isolated and Case Grounded Sensors
Engine Data Sensors - HO2S 4.8, 5.3L w/Case Grounded Sensors
OBD II Symbol Description Notice
02B, 02A, ENG 1, and IGN E Fuses - Gas Only
02B, 02A, ENG 1, and IGN E Fuses - Gas Only
G104 - Gas
Figure 6:

Engine Data Sensors - H02S 6.0L w/Isolated and Case Grounded Sensors


Object Number: 769986  Size: FS
Master Electrical Component List
Powertrain Control Module Description
Engine Data Sensors - HO2S 6.0L w/Isolated Grounded Sensors
Engine Data Sensors - HO2S 4.8, 5.3L w/Isolated Grounded Sensors
OBD II Symbol Description Notice
02B, 02A, ENG 1, and IGN E Fuses - Gas Only
G104 - Gas
Figure 7:

Engine Data Sensors - H02S 6.0L w/Isolated Grounded Sensors


Object Number: 789140  Size: FS
Master Electrical Component List
Powertrain Control Module Description
Engine Data Sensors - Electronic Throttle Controls, TAC Motor and TP Sensor
Engine Data Sensors - HO2S 6.0L w/Isolated and Case Grounded Sensors
OBD II Symbol Description Notice
02B, 02A, ENG 1, and IGN E Fuses - Gas Only
G104 - Gas
Figure 8:

Engine Data Sensors - Electronic Throttle Controls, TAC Motor and TP Sensor


Object Number: 770000  Size: FS
Master Electrical Component List
Powertrain Control Module Description
Engine Data Sensors - Electronic Throttle Controls, APP and Cruise Controls
Engine Data Sensors - HO2S 6.0L w/Isolated Grounded Sensors
OBD II Symbol Description Notice
ECM 1, ETC, INJ A, and INJ B Fuses - Gas Only
G103 and G105 - Gas
Figure 9:

Engine Data Sensors - Electronic Throttle Controls, APP, Cruise Control


Object Number: 770001  Size: FS
Master Electrical Component List
Powertrain Control Module Description
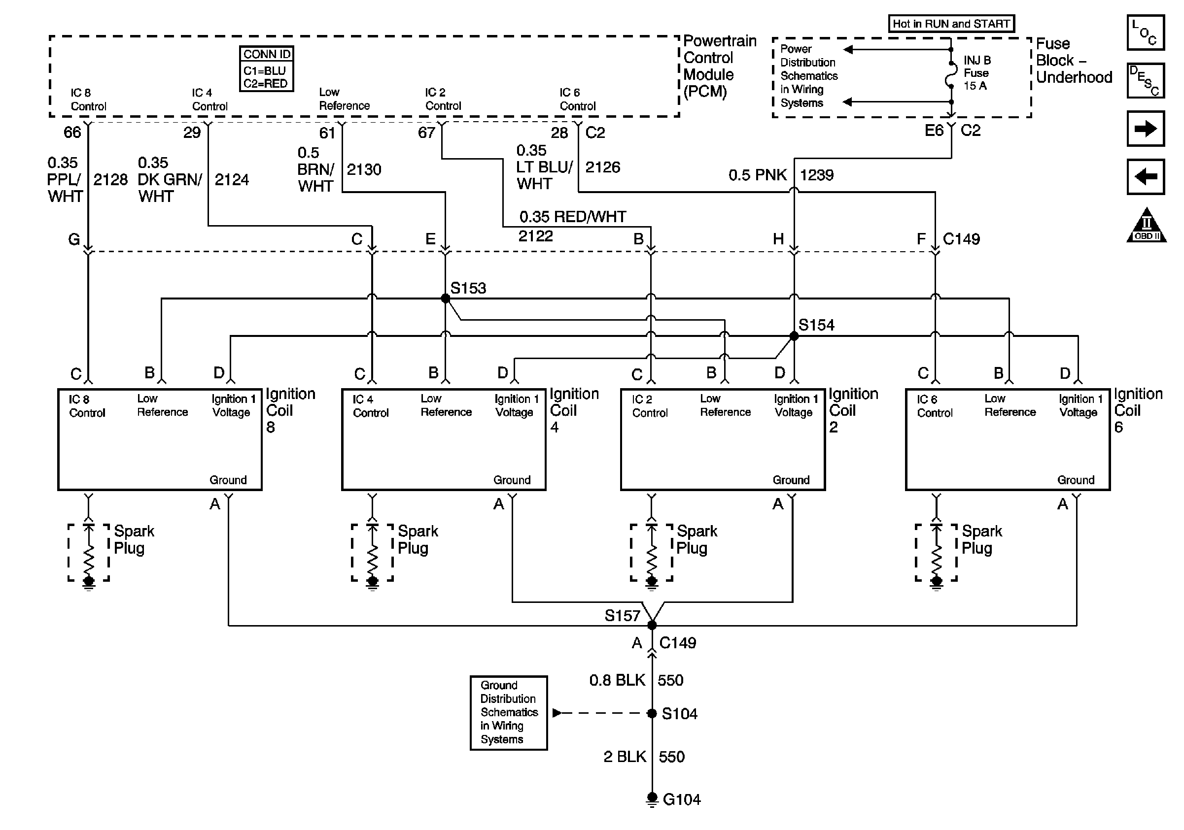
Ignition Controls - Ignition System Coils 2, 4, 6, 8
Engine Data Sensors - Electronic Throttle Controls, TAC Motor and TP Sensor
OBD II Symbol Description Notice
BRAKE, Cruise, HTR A/C, RR WPR, WS WPR, and SEO ACCY Fuses
BRAKE, Cruise, HTR A/C, RR WPR, WS WPR, and SEO ACCY Fuses
Stop, Turn, and Hazard Bus Bars
Turn Signal/Multifunction Switch and Stop Lamp Switch Controls
Turn Signal/Multifunction Switch and Stop Lamp Switch Controls
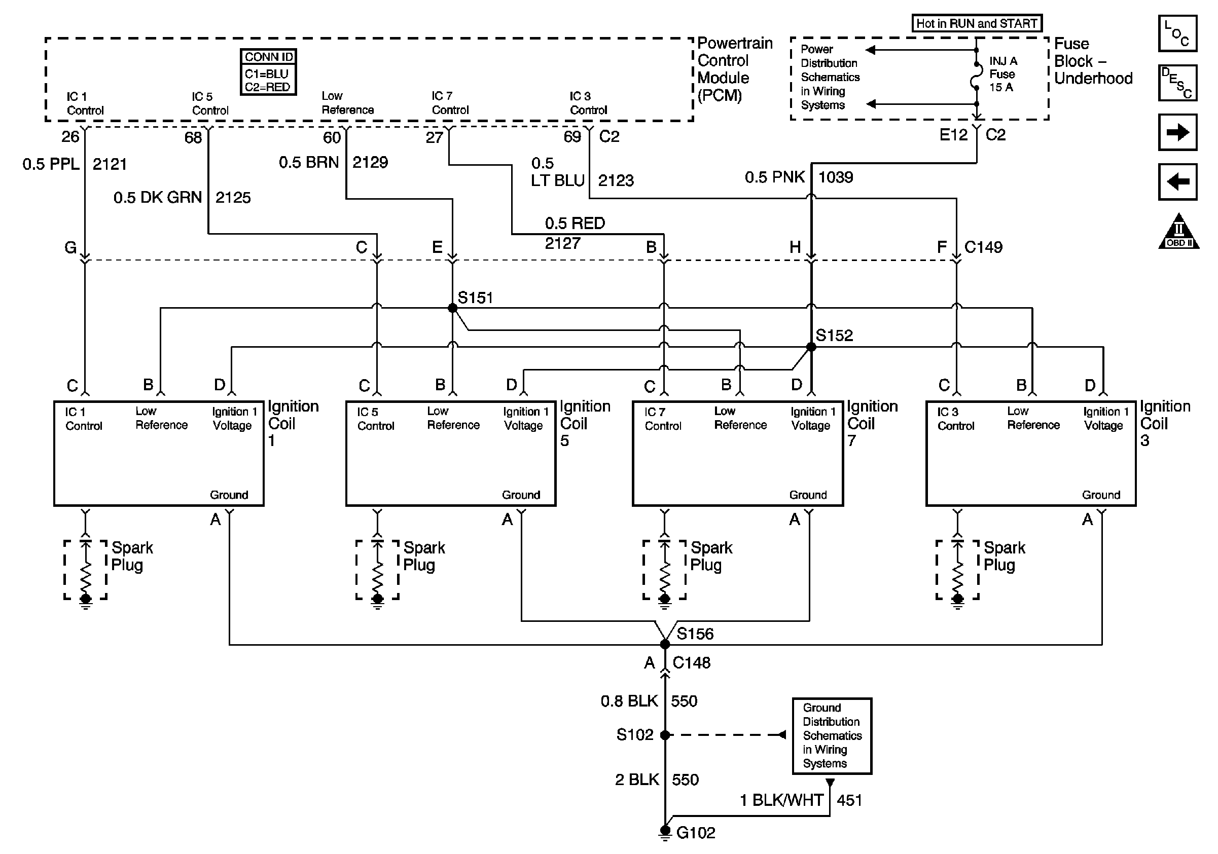
Figure 10:

Ignition Controls - Ignition System Coils 2, 4, 6, and 8


Object Number: 769966  Size: FS
Master Electrical Component List
Powertrain Control Module Description
Ignition Controls - Ignition System Coils 1, 3, 5, 7
Engine Data Sensors - Electronic Throttle Controls, APP and Cruise Controls
OBD II Symbol Description Notice
ECM 1, ETC, INJ A, and INJ B Fuses - Gas Only
G104 - Gas
Figure 11:

Ignition Controls - Ignition Systems Coils 1, 3, 5, and 7


Object Number: 769967  Size: FS
Master Electrical Component List
Powertrain Control Module Description
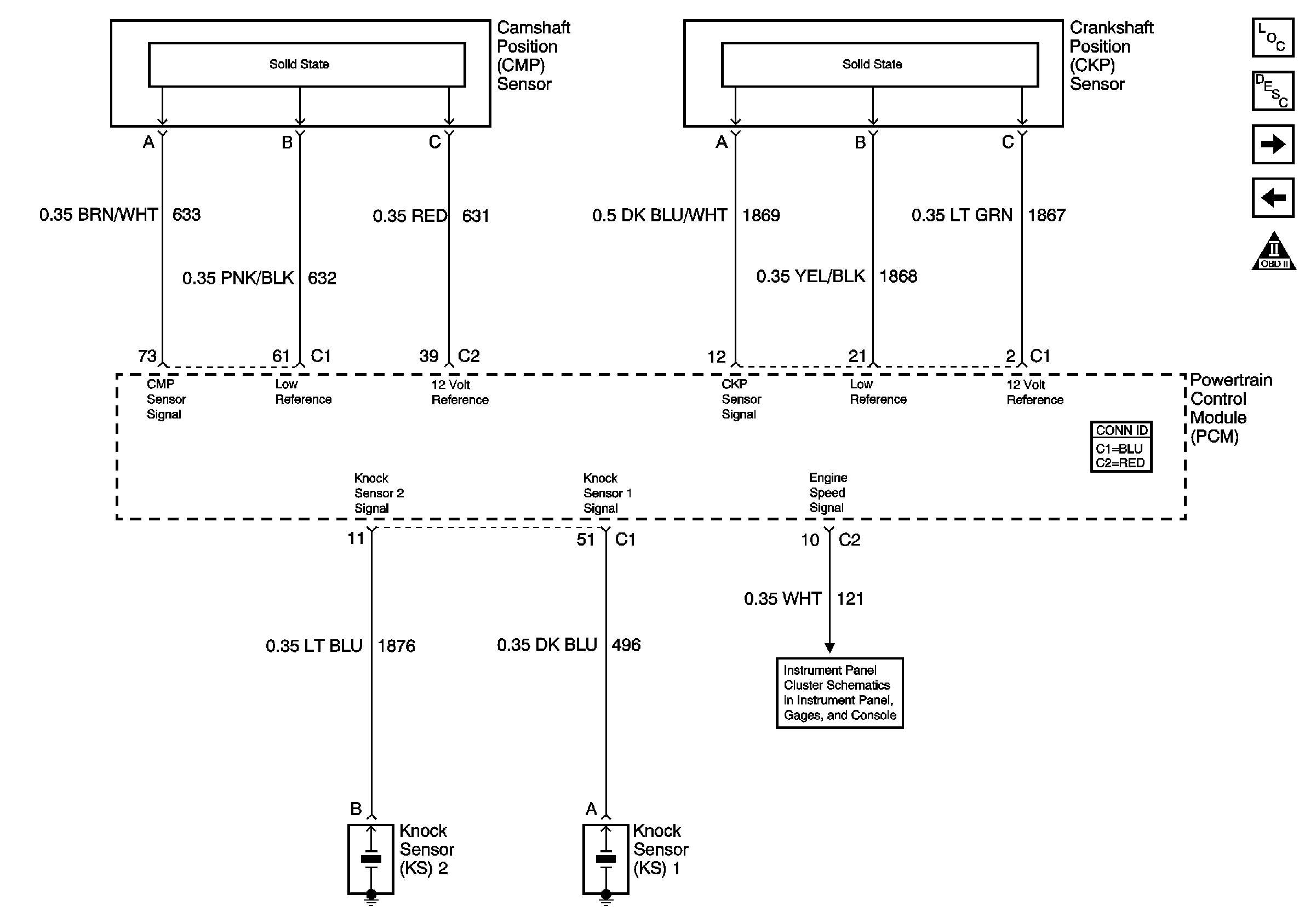
Ignition Controls - Sensors
Ignition Controls - Ignition System Coils 2, 4, 6, 8
OBD II Symbol Description Notice
ECM 1, ETC, INJ A, and INJ B Fuses - Gas Only
G103 and G105 - Gas
Figure 12:

Ignition Controls - Sensors


Object Number: 769970  Size: FS
Master Electrical Component List
Powertrain Control Module Description
Fuel Controls - Fuel Pump Controls
Ignition Controls - Ignition System Coils 1, 3, 5, 7
OBD II Symbol Description Notice
Gages
Figure 13:

Fuel Controls - Fuel Pump Controls


Object Number: 769972  Size: FS
Master Electrical Component List
Powertrain Control Module Description
Fuel Controls - Fuel Injectors
Ignition Controls - Sensors
OBD II Symbol Description Notice
AIR, RTD, RADIO, RDO AMP, ECM B, FRT HVAC, and CIGAR Fuses
02B, 02A, ENG 1, and IGN E Fuses - Gas Only
02B, 02A, ENG 1, and IGN E Fuses - Gas Only
G103 and G105 - Gas
Fuel Gage and Fuel Pump and Sender Assembly
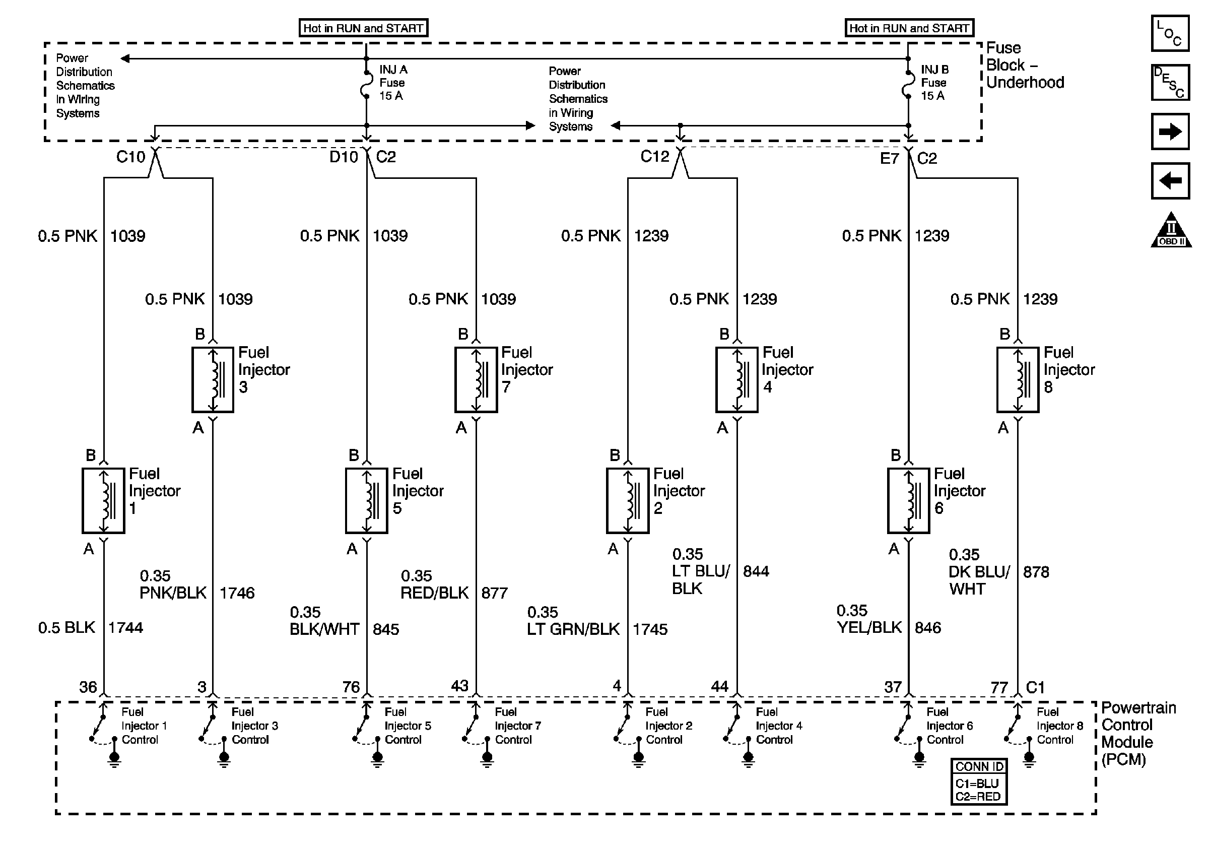
Figure 14:

Fuel Controls - Fuel Injectors


Object Number: 769973  Size: FS
Master Electrical Component List
Powertrain Control Module Description
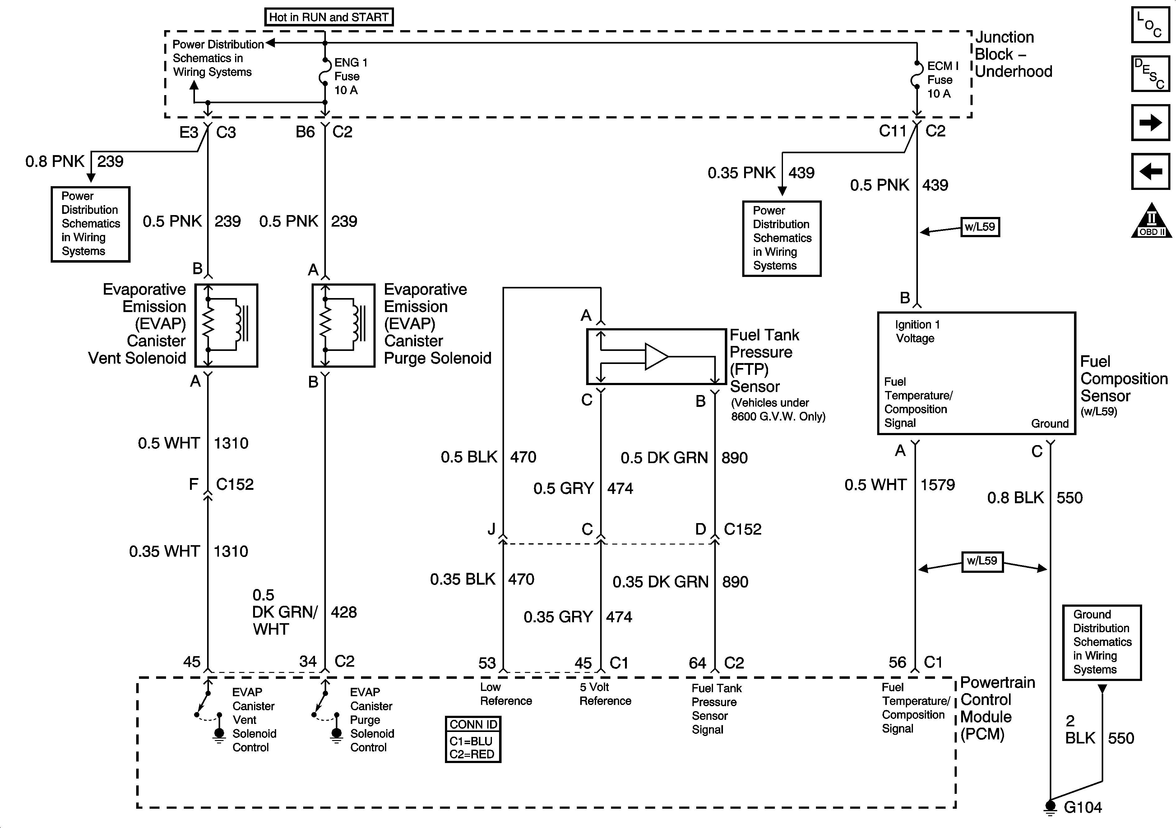
Fuel Controls - EVAP Controls and Fuel Composition Sensor
Fuel Controls - Fuel Pump Controls
OBD II Symbol Description Notice
ECM 1, ETC, INJ A, and INJ B Fuses - Gas Only
ECM 1, ETC, INJ A, and INJ B Fuses - Gas Only
Figure 15:

Fuel Controls - EVAP Controls and Fuel Composition Sensor


Object Number: 769989  Size: FS
Master Electrical Component List
Powertrain Control Module Description
Device Controls - EGR and IAC
Fuel Controls - Fuel Injectors
OBD II Symbol Description Notice
02B, 02A, ENG 1, and IGN E Fuses - Gas Only
02B, 02A, ENG 1, and IGN E Fuses - Gas Only
ECM 1, ETC, INJ A, and INJ B Fuses - Gas Only
G104 - Gas
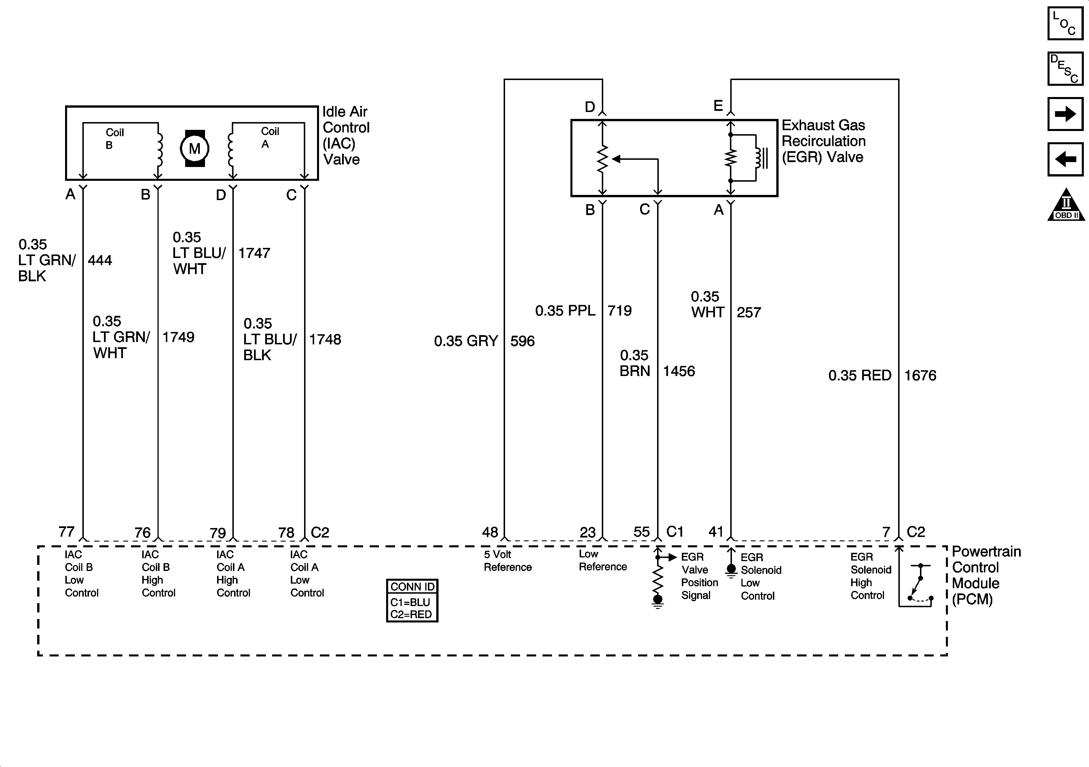
Figure 16:

Device Controls - EGR and IAC


Object Number: 769990  Size: FS
Master Electrical Component List
Powertrain Control Module Description
Controlled/Monitored Subsystem References
Fuel Controls - EVAP Controls and Fuel Composition Sensor
OBD II Symbol Description Notice
Figure 17:

Controlled/Monitored Subsystem References


Object Number: 769992  Size: FS
Master Electrical Component List
Powertrain Control Module Description
Transmission Controls A/T
Device Controls - EGR and IAC
OBD II Symbol Description Notice
A/C Compressor Controls
Compressor Controls
Air Delivery Controls - Recirculation Actuator (Uplevel)
Air Delivery Controls - Actuators
Throttle Actuator Control (TAC) Module, ETC Fuse, and Throttle Position Sensor - Gas w/ETC
Speed Sensor Signals, Traction Control Switch (w/Traction Assist)
Charging w/o Dual Generator
NP2 Transfercase Schematics
NP2 Transfercase Schematics
Power, Ground and Transfer Case Encoder Motor
Power, Ground, Class 2 Communication (w/Traction Assist)
Power and Ground
Engine Cooling Schematic
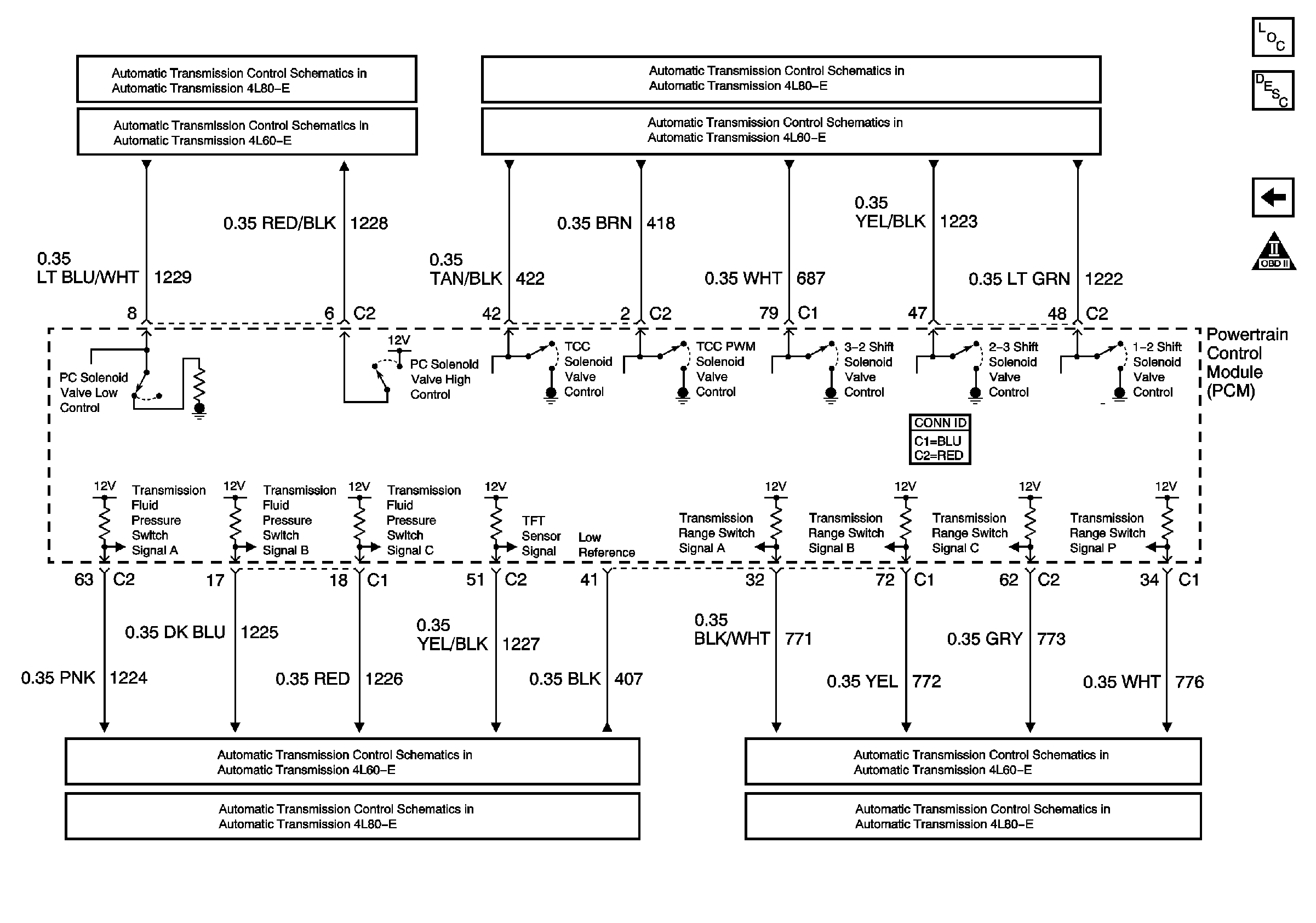
Figure 18:

Transmission Controls - A/T


Object Number: 769993  Size: FS
Master Electrical Component List
Powertrain Control Module Description
Controlled/Monitored Subsystem References
OBD II Symbol Description Notice
Switch Inputs
Valve Controls and Brake Switch
Switch Inputs
Valve Controls and Brake Switch
Switch Inputs
Tow/Haul Switch and PNP Switch Inputs
Switch Inputs
Tow/Haul and PNP Switch Inputs