GM Service Manual Online
For 1990-2009 cars only
Makes
🢒
Chevrolet
🢒
2002
🢒
Chevy C Silverado - 2WD
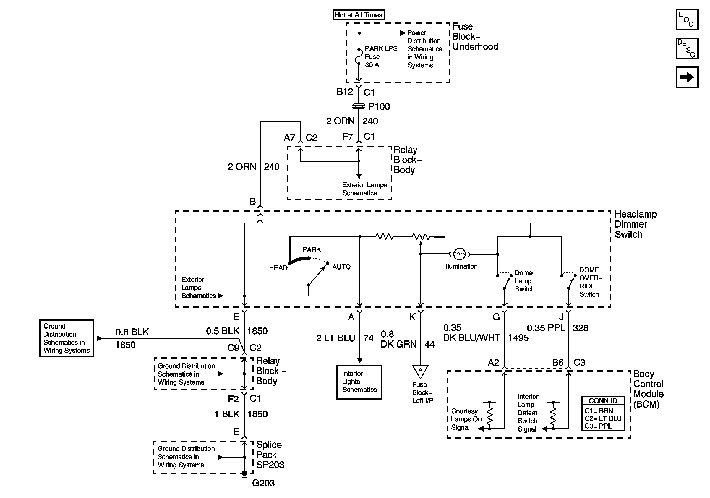
🢒 PARK LPS Fuse, Headlamp Switch and BCM
PARK LPS Fuse, Headlamp Switch and BCM
PARK LPS Fuse, Headlamp Switch and BCM
Master Electrical Component List
Interior Lighting Systems Description and Operation
IPC, Roof Beacon, and Rear Wheel Steering Switch
ABS, HAZ LP, STUD 1, HTD MIR, RR DEFOG, STUD 2, CTSY LP, and PARK LP Fuses
Park Lamp Control
Park Lamp Control
G203 - 2 of 3 - Base Except Crew Cab
G203 - 2 of 3 - Base Except Crew Cab
G203 - 1 of 3
Parklamp Controls - 1 of 3
IPC, Roof Beacon, and Rear Wheel Steering Switch