GM Service Manual Online
For 1990-2009 cars only
Makes
🢒
Chevrolet
🢒
2002
🢒
Chevy C Silverado - 2WD
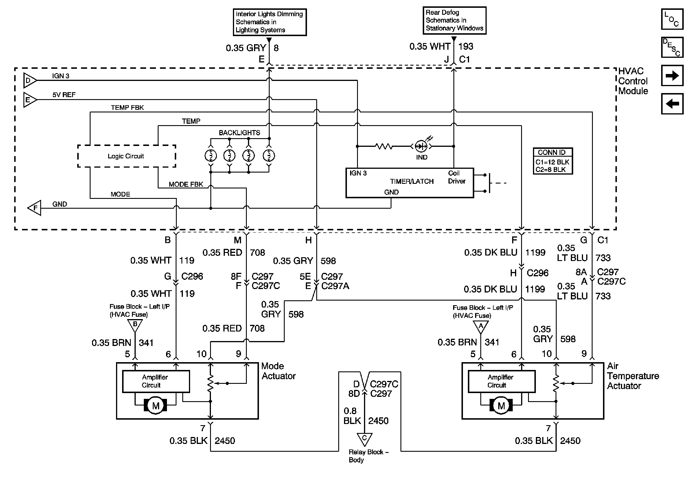
🢒 Air Delivery Controls - Mode and Air Temperature Actuators (Base)
Air Delivery Controls - Mode and Air Temperature Actuators (Base)
Air Delivery Controls - Mode and Air Temperature Actuators-Base
Master Electrical Component List
Air Delivery Description and Operation
Air Delivery Controls - Recirculation Actuator (Uplevel)
A/C Compressor Controls
HVAC Control Module/Blower Control Switch, Traction Control Switch, and Transfer Case Shift Control Switch
Rear Window Defogger Control
Air Delivery Controls - Recirculation Actuator (Base)
Air Delivery Controls - Recirculation Actuator (Base)
Air Delivery Controls - Recirculation Actuator (Base)
Air Delivery Controls - Recirculation Actuator (Base)
Air Delivery Controls - Recirculation Actuator (Base)
Air Delivery Controls - Recirculation Actuator (Base)