GM Service Manual Online
For 1990-2009 cars only
Makes
🢒
Chevrolet
🢒
2004
🢒
Chevy K Silverado - 4WD
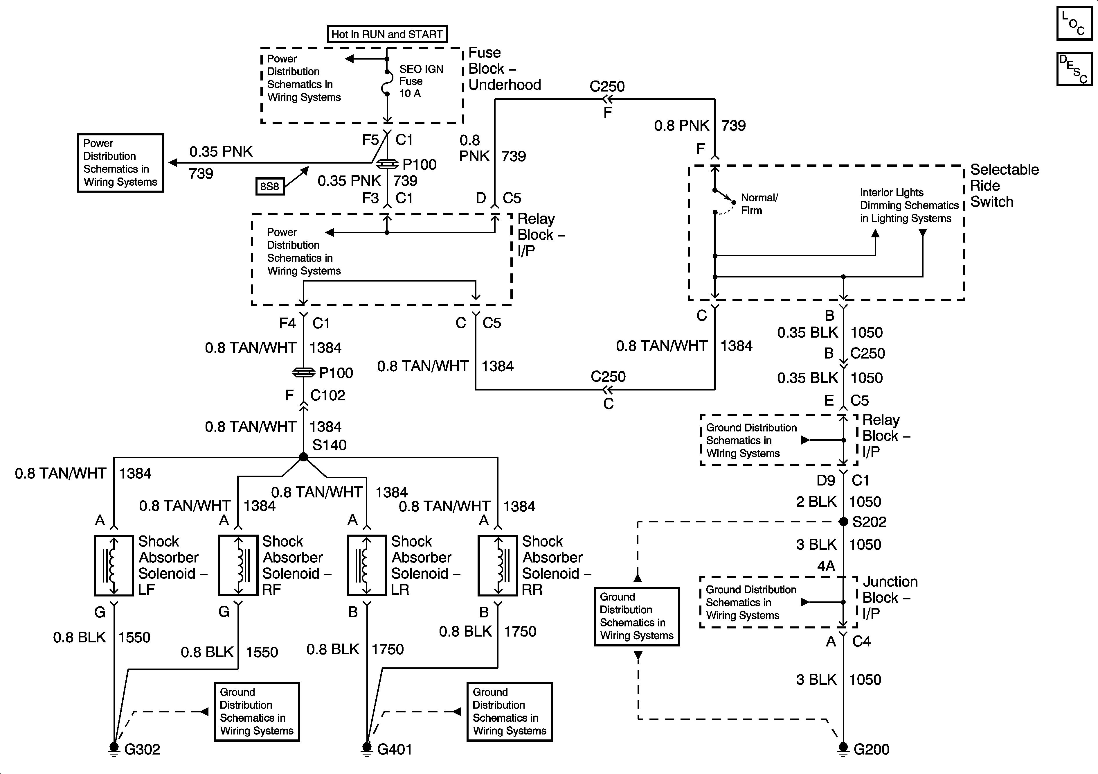
🢒 Selectable Ride Schematics
Selectable Ride Schematics
Master Electrical Component List
Selectable Ride Description and Operation
SEO B2, RR DEFOG, SEO IGN, and B/U LP Fuses
SEO B2, RR DEFOG, SEO IGN, and B/U LP Fuses
SEO B2, RR DEFOG, SEO IGN, and B/U LP Fuses
LED Dimming Supply Voltage - 3 of 3
G302
G401 and G402
G200 - 1 of 3
G200 - 1 of 3
G200 - 1 of 3