GM Service Manual Online
For 1990-2009 cars only
Makes
🢒
Chevrolet
🢒
2004
🢒
Classic
🢒
Engine
🢒
Engine Electrical
🢒 Starting and Charging Schematics
Figure
1:
Starting System
Master Electrical Component List
Charging System Description and Operation
Charging System
IGN SW BATT 1, IGN SW BATT2, Ignition Switch
IGN SW BATT 1, IGN SW BATT2, Ignition Switch
Charging System
SP102
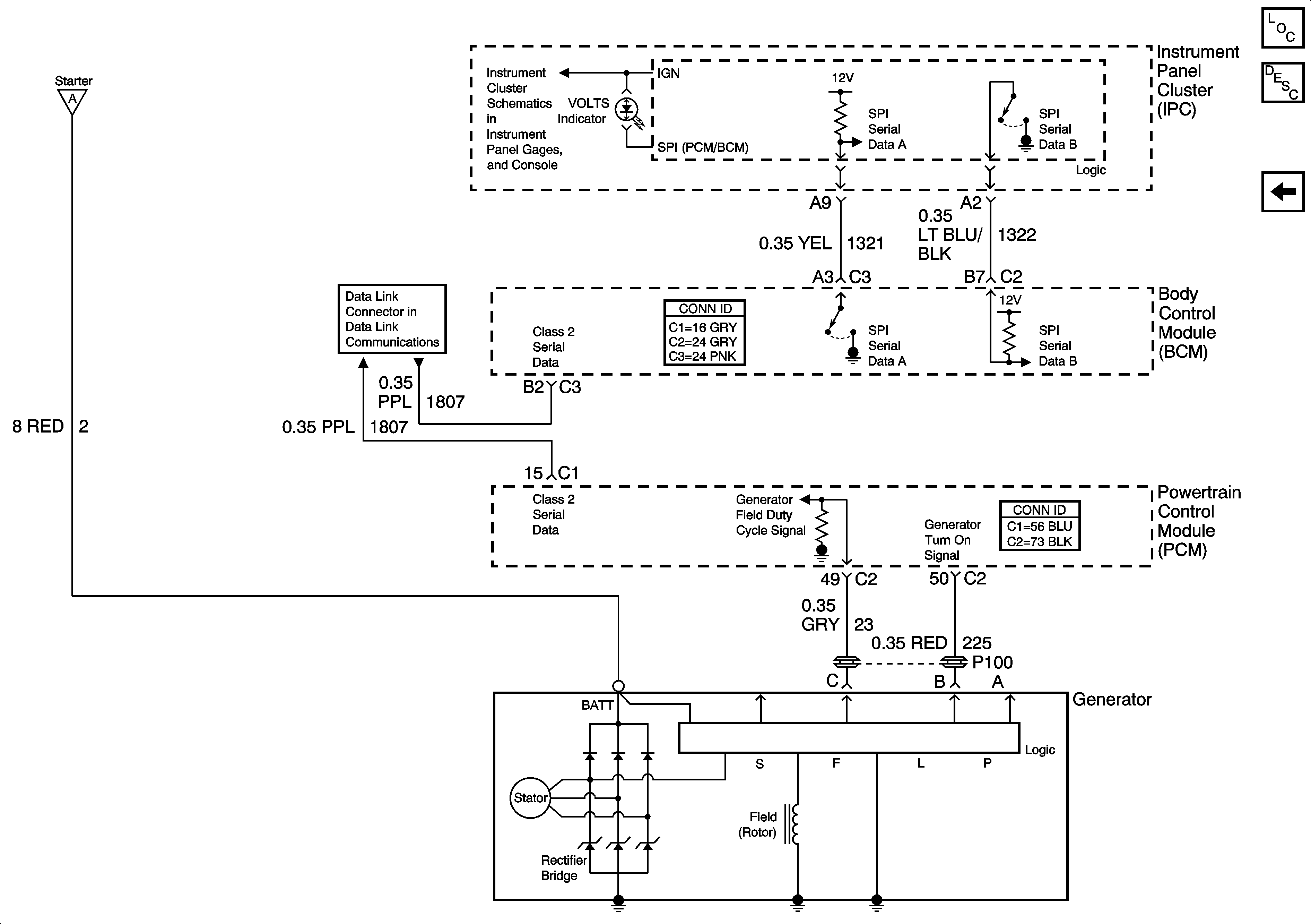
Figure
2:
Charging System
Master Electrical Component List
Charging System Description and Operation
Starting System
Starting System
Data Link Communication
Indicators and Serial Data