GM Service Manual Online
For 1990-2009 cars only
Makes
🢒
Chevrolet
🢒
2005
🢒
Classic
🢒 Theft Deterrent System Schematics
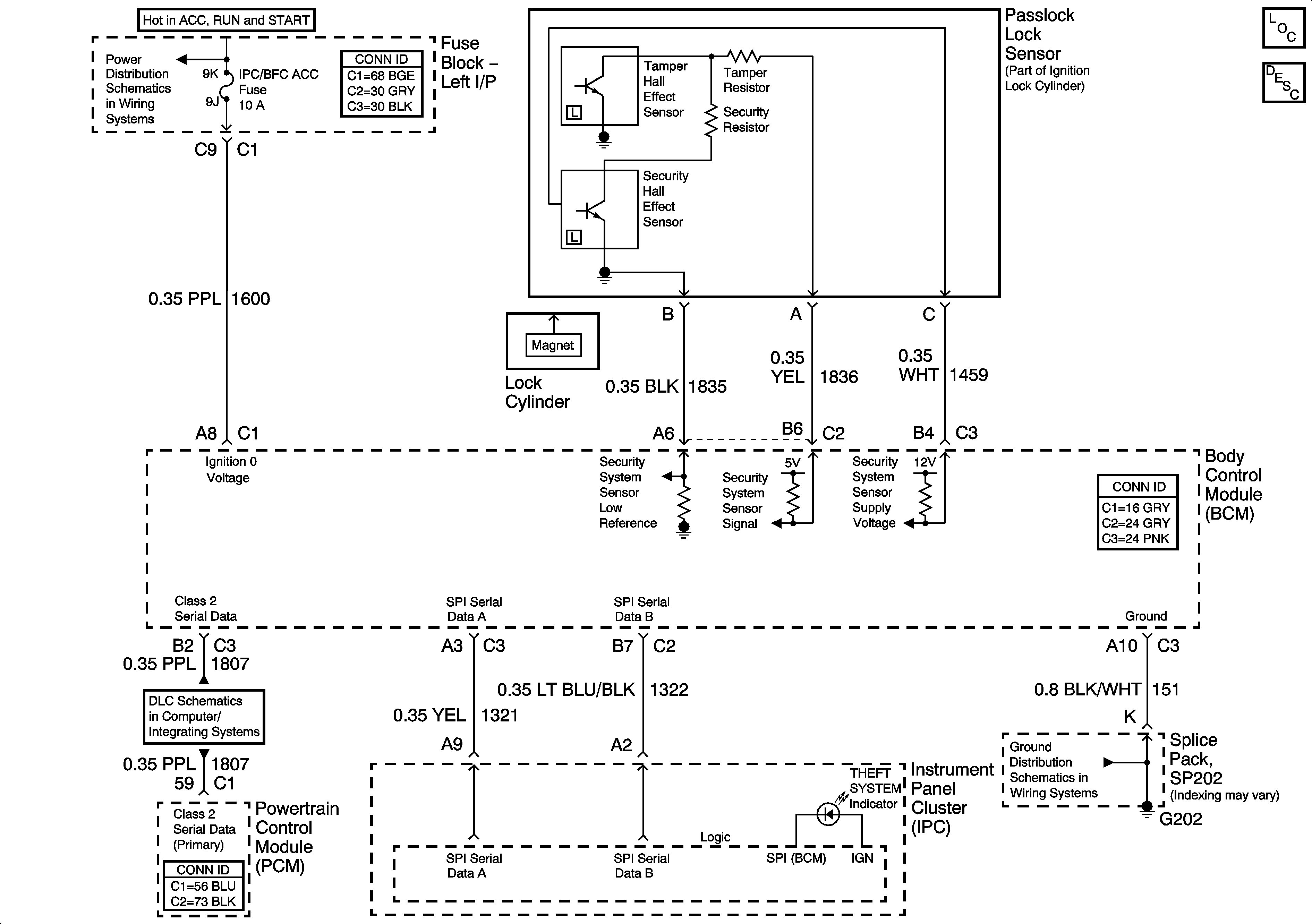
Theft Deterrent System Schematics
Master Electrical Component List
Theft Systems Description and Operation
IGN BATT 1, IGN SW BATT 2, Ignition Switch
Data Link Connector (DLC) Schematics
SP202