GM Service Manual Online
For 1990-2009 cars only

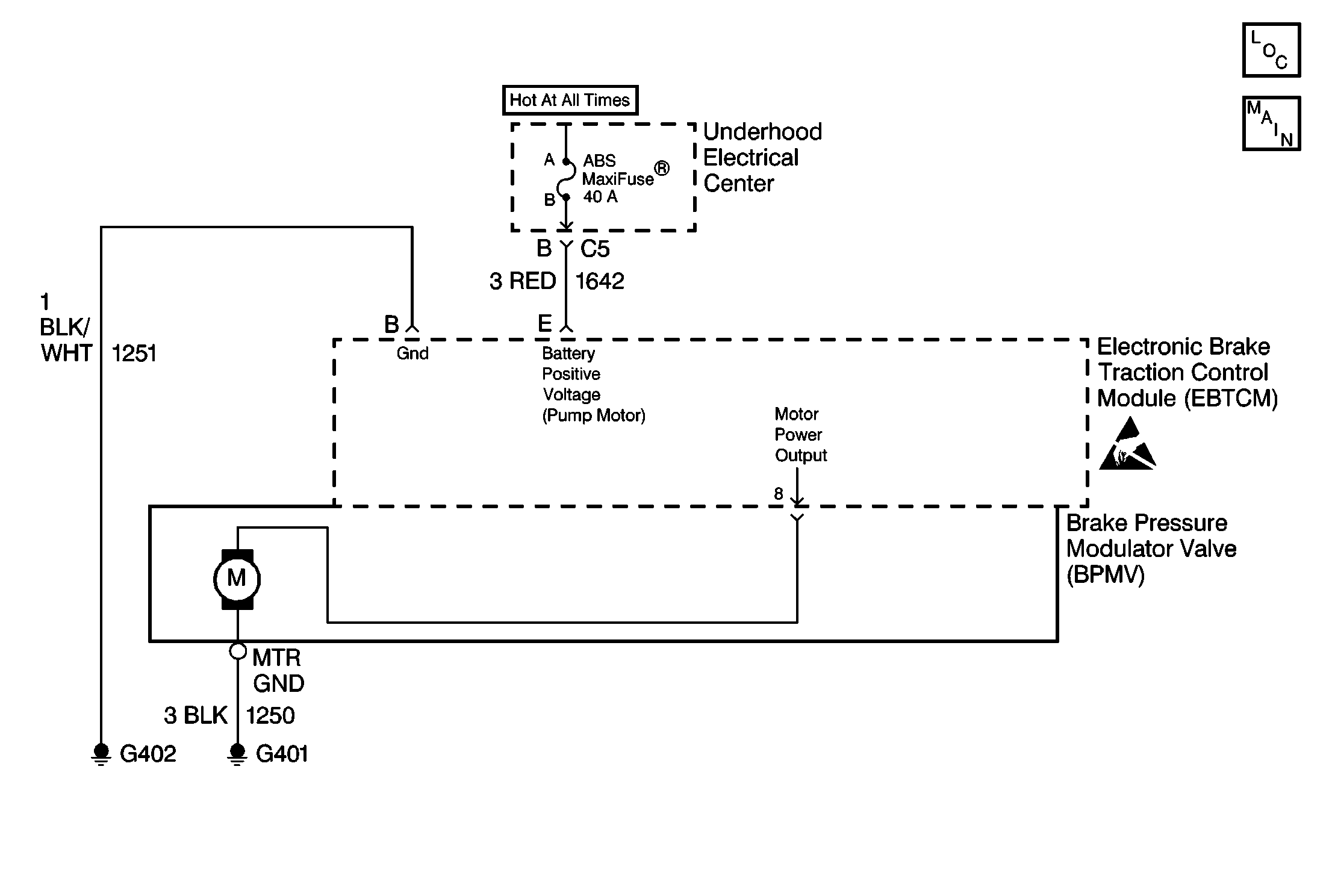
DTC C1243 BPMV Pump Motor Stalled Rear Mounted EBTCM/BPMV


Object Number: 278758  Size: MF

Circuit Description

When the pump motor relay is grounded by the EBTCM, it closes and provides battery voltage to operate the pump.

Conditions for Setting the DTC

DTC C1243 can be set when the pump motor relay has been commanded off after the pump motor has been on. A malfunction has occurred if the pump motor was on, and the EBTCM sensed a stuck or slowly turning pump motor.

Action Taken When the DTC Sets

ABS/TCS are disabled.

    • Indicators that turn on:
       - ABS indicator
       - Car Icon (TCS indicator)
    • Messages displayed on the DIC:
       - Service ABS
       - Service Traction System

Conditions for Clearing the DTC

    • Condition for DTC is no longer present and scan tool clear DTC function is used.
    • Fifty ignition cycles have passed with no DTCs detected.

Diagnostic Aids

    • It is very important that a thorough inspection of the wiring and connectors be performed. Failure to carefully and fully inspect wiring and connectors may result in misdiagnosis, causing part replacement with reappearance of the malfunction.
    • An intermittent malfunction can be caused by poor connections, broken insulation, or a wire that is broken inside the insulation.
    • If an intermittent malfunction exists refer to Testing for Electrical Intermittents in Wiring Systems.

Test Description

The numbers below refer to step numbers on the diagnostic table.

  1. Checks for good pump motor ground.

  2. Checks for good pump motor ground through the BPMV.

DTC C1243 BPMV Pump Motor Stalled

Step

Action

Value(s)

Yes

No

1

Was the Diagnostic System Check performed?

--

Go to Step 2

Go to Diagnostic System Check

2

Is DTC 1217 also set as a current DTC?

--

Go to DTC C1217 Pump Motor Relay Contact Circuit Open

Go to Step 3

3

  1. Turn the ignition switch to the OFF position.
  2. Using the J 39200 DMM, measure the resistance between the pump motor ground stud and a good chassis ground.

Is the resistance within the range specified in the value(s) column?

0-2 ohms

Go to Step 4

Go to Step 9

4

  1. Disconnect the EBTCM connector.
  2. Remove the EBTCM from the BPMV.
  3. Inspect the EBTCM to BPMV connector for conditions which could cause intermittents, such as damage, corrosion, poor terminal contact, or presence of brake fluid.

Is connector OK and cavity free of brake fluid?

--

Go to Step 5

Go to Step 6

5

  1. Install the J 41247 Pinout Box to the BPMV connector.
  2. Using the J 39200 DMM, measure the resistance between the J 41247 terminal 8 and the pump motor ground stud.

Is the resistance within the range specified in the Value(s) column?

0.2-10 ohms

Go to Step 7

Go to Step 8

6

  1. If connector corrosion or damage is evident, replace BPMV and/or EBTCM as necessary.
  2. If brake fluid is present, replace BPMV and EBTCM.

Is the replacement complete?

--

Go to Diagnostic System Check

--

7

Replace the EBTCM. Refer to Electronic Brake Control Module Replacement .

Is the replacement complete?

--

Go to Diagnostic System Check

--

8

Replace the BPMV. Refer to Brake Pressure Modulator Valve Replacement .

Is the replacement complete?

--

Go to Diagnostic System Check

--

9

Repair open or high resistance in CKT 1250. Refer to Wiring Repairs in Wiring Systems.

Is the repair complete?

--

Go to Diagnostic System Check

--

DTC C1243 BPMV Pump Motor Stalled Front Mounted EBTCM/BPMV


Object Number: 479931  Size: MF
ABS/TCS Schematics Front Mounted EBTCM/BPMV
ABS Components

Circuit Description

When the pump motor relay is grounded by the EBTCM, it closes and provides battery voltage to operate the pump.

Conditions for Setting the DTC

DTC C1243 can be set when the pump motor relay has been commanded off after the pump motor has been on. A malfunction has occurred if the pump motor was on, and the EBTCM sensed a stuck or slowly turning pump motor.

Action Taken When the DTC Sets

ABS/TCS/Active Handling (if equipped with RPO JL4) are disabled.

    • Indicators that turn on:
       - ABS indicator
       - Car Icon (TCS indicator)
    • Messages displayed on the DIC:
       - Service ABS
       - Service Traction System
       - Service Active HNDLG (if equipped with Active Handling RPO JL4)

Conditions for Clearing the DTC

    • Condition for DTC is no longer present and scan tool clear DTC function is used.
    • Fifty ignition cycles have passed with no DTCs detected.

Diagnostic Aids

    • It is very important that a thorough inspection of the wiring and connectors be performed. Failure to carefully and fully inspect wiring and connectors may result in misdiagnosis, causing part replacement with reappearance of the malfunction.
    • An intermittent malfunction can be caused by poor connections, broken insulation, or a wire that is broken inside the insulation.
    • If an intermittent malfunction exists refer to Testing for Electrical Intermittents in Wiring Systems.

Test Description

The numbers below refer to step numbers on the diagnostic table.

  1. Checks for good pump motor ground.

  2. Checks for good pump motor ground through the BPMV.

DTC C1243 BPMV Pump Motor Stalled

Step

Action

Value(s)

Yes

No

1

Was the Diagnostic System Check performed?

--

Go to Step 2

Go to Diagnostic System Check

2

Is DTC 1217 also set as a current DTC?

--

Go to DTC C1217 Pump Motor Relay Contact Circuit Open

Go to Step 3

3

  1. Turn the ignition switch to the OFF position.
  2. Using the J 39200 DMM, measure the resistance between the pump motor ground stud and a good chassis ground.

Is the resistance within the range specified in the value(s) column?

0-2 ohms

Go to Step 4

Go to Step 9

4

  1. Disconnect the EBTCM connector.
  2. Remove the EBTCM from the BPMV.
  3. Inspect the EBTCM to BPMV connector for conditions which could cause intermittents, such as damage, corrosion, poor terminal contact, or presence of brake fluid.

Is connector OK and cavity free of brake fluid?

--

Go to Step 5

Go to Step 6

5

  1. Install the J 41247 Pinout Box to the BPMV connector.
  2. Using the J 39200 DMM, measure the resistance between the J 41247 terminal 8 and the pump motor ground stud.

Is the resistance within the range specified in the Value(s) column?

0.2-10 ohms

Go to Step 7

Go to Step 8

6

  1. If connector corrosion or damage is evident, replace BPMV and/or EBTCM as necessary.
  2. If brake fluid is present, replace BPMV and EBTCM.

Is the replacement complete?

--

Go to Diagnostic System Check

--

7

Replace the EBTCM. Refer to Electronic Brake Control Module Replacement .

Is the replacement complete?

--

Go to Diagnostic System Check

--

8

Replace the BPMV. Refer to Brake Pressure Modulator Valve Replacement .

Is the replacement complete?

--

Go to Diagnostic System Check

--

9

Repair open or high resistance in CKT 1250. Refer to Wiring Repairs in Wiring Systems.

Is the repair complete?

--

Go to Diagnostic System Check

--