GM Service Manual Online
For 1990-2009 cars only

Object Number: 97833  Size: MF
Power Door Systems Components
Door Control Module Schematics
Handling Electrostatic Discharge Sensitive Parts Notice

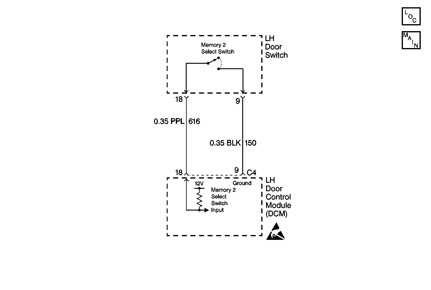
Circuit Description

The LH door switch circuit provides input to the LH Door Control Module (LDCM) when the memory 1 select switch is pressed. This input allows the LDCM to detect a memory function recall request. The LDCM provides both power and ground to both of the memory switches. When the memory 1 select switch is pressed, a ground is supplied through the memory 1 select switch to the LDCM memory 1 select switch input which is pulled low. When the LDCM detects low voltage on the memory 1 select switch input, the LDCM will activate memory 1 functions and also send a message on the serial data line to other systems responsible for memory recall functions (RDCM, radio, seats, etc.). When the LDCM detects low voltage on the memory 2 select switch input, the LDCM will activate memory 2 functions. The LDCM monitors both the memory 1 and memory 2 select switch input circuits and determines how long a ground (switch pressed) has been applied. If the ground is applied for longer than expected, a malfunction is present and a DTC will set.

Conditions for Setting the DTC

    • The LDCM detects a low voltage level (short to ground) at the memory 2 select switch input circuit.
    • Condition must be present for 20 seconds.

Action Taken When the DTC Sets

    • Stores a history DTC B2244 in the LDCM memory.
    • This DTC can only be set as a history code even if the malfunction is current.
    • No driver warning message will be displayed for this DTC.

Conditions for Clearing the DTC

    • The LDCM no longer detects a low voltage level (short to ground) at the memory 2 select switch input circuit for longer than 20 seconds.
    • Use the IPC clearing DTCs feature.
    • Use a scan tool.

Diagnostic Aids

    • The following conditions may cause an intermittent malfunction:
       - There is an intermittent short to ground in the memory 2 select switch input circuit (CKT 616).
       - The memory 2 select switch is shorted to ground internally or is sticking.
       - The memory 2 select switch was pressed for longer than 20 seconds.
    • If CKT 616 is shorted to ground or the memory 2 select switch is stuck closed, the memory 2 selected features will operate, but the memory 1 selected features will be inoperative .
    • Using a scan tool, select LDCM inputs and monitor the memory 2 select switch status. If the scan tool displays ACTIVE, disconnect the memory 2 switch and check if the memory 2 select switch status changes to INACTIVE. If the status changed, then replace the memory 2 select switch. If the status did not change, then check CKT 616 for a short to ground.
    • If the DTC does not reset after the code is cleared, then the problem may be intermittent. Perform the tests shown while moving related wiring and connectors. This can often cause the malfunction to occur. Refer to Intermittents and Poor Connections .

Test Description

The numbers below refer to the step numbers on the diagnostic table:

  1. This test determines the status of the passenger mirror select switch using a scan tool. The scan tool will display the memory 2 select switch status as ACTIVE (button pressed) and INACTIVE (button released).

  2. This test checks if the memory 2 select switch is shorted to ground or stuck in the up position. If the memory 2 select switch status changes from ACTIVE to INACTIVE when the memory 2 select switch is disconnected, then the LH door switch assembly must be replaced.

DTC B2244

Step

Action

Value(s)

Yes

No

1

Were you sent here from the Power Door Diagnostic System Check?

--

Go to Step 2

Go to Diagnostic System Check - Power Door Systems

2

Using a scan tool, select LDCM input display and monitor the memory 2 select switch status.

Does the scan tool display memory 2 select switch status as ACTIVE?

--

Go to Step 3

Go to Step 7

3

  1. Disconnect the memory 2 select switch connector.
  2. Using a scan tool, select LDCM input display and monitor the memory 2 select switch status.

Does the scan tool display memory 2 select switch status as ACTIVE?

--

Go to Step 4

Go to Step 5

4

Check for a short to ground in CKT 616.

Was a problem found and repaired?

--

Go to Step 9

Go to Step 6

5

Replace the LH door switch assembly. Refer to Power Mirror Switch Replacement .

Is the replacement complete?

--

Go to Step 9

--

6

  1. Replace the LDCM. Refer to Door Control Module Replacement .
  2. Program the replacement DCM (hardtop only). Refer to Door Control Module Programming/RPO Configuration .

Is the replacement complete?

--

Go to Step 9

--

7

Check the memory 2 select switch circuit for an intermittent malfunction. Refer to Diagnostic Aids.

Was a problem found and repaired?

--

Go to Step 9

Go to Step 8

8

  1. Turn OFF the ignition switch.
  2. Reconnect or install any connectors or components that were disconnected or removed.
  3. Turn ON the ignition switch.
  4. Clear any DTCs.
  5. Wait 20 seconds.

Does DTC B2244 set as history?

--

Go to Step 6

System OK

9

  1. Turn OFF the ignition switch.
  2. Reconnect or install any connectors or components that were disconnected or removed.
  3. Turn ON the ignition switch.
  4. Clear any DTCs.

Is the repair complete?

--

Go to Diagnostic System Check - Power Door Systems

--