GM Service Manual Online
For 1990-2009 cars only

Object Number: 339472  Size: MF
Power Door Systems Components
Door Control Module Schematics
Handling Electrostatic Discharge Sensitive Parts Notice

Circuit Description

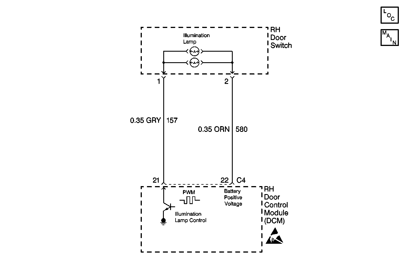
The RH Door Control Module (RDCM) provides an illuminated LED output control for the RH door switch assembly. This output control allows the RDCM to illuminated switch assembly when the park lamps and/or headlamps are ON. The RDCM provides power and a Pulse-Width Modulation (PWM) ground output to the RH door switch. When the RDCM receives a message on the serial data line indicating that the park lamps or headlamps are ON, the RDCM will control the RH switch illumination by PWM-ing the ground. The RDCM monitors the amount of current draw on the illumination lamp control circuit. If the current draw is not within the acceptable range, a malfunction is present and a DTC will set.

Conditions for Setting the DTC

    • The RDCM detects a high current (short to ground) condition in the RH illumination lamp control circuit.
    • Condition must be present for 20 ms.

Action Taken When the DTC Sets

    • Stores a history DTC B2279 in the RDCM memory.
    • This DTC can only be set as a history code even if the malfunction is current.
    • No driver warning message will be displayed for this DTC.

Conditions for Clearing the DTC

    • The RDCM no longer detects a high current (short to ground) condition in the illumination lamp control circuit for longer than 20 ms.
    • Use the IPC clearing DTCs feature.
    • Use a scan tool.

Diagnostic Aids

    • The following conditions may cause an intermittent malfunction:
       - There is an intermittent short (to voltage or ground) in the illumination lamp control circuit (CKT 157 or CKT 580).
       - The RH door switch is shorted internally.
    • Using a scan tool, select RDCM Data and monitor the door switch pad illumination while rotating the interior light dimming switch. The switch illumination level varies based upon the dimming level information the RDCM receives on the serial data link. This checks if the RDCM is able to receive the correct dimming information from the serial data line.
    • If the DTC does not reset after the code is cleared, then the problem may be intermittent. Perform the tests shown while moving related wiring and connectors. This can often cause the malfunction to occur. Refer to Intermittents and Poor Connections .

Test Description

The numbers below refer to the step numbers on the diagnostic table:

  1. This test checks if the RH door switch illuminates. The RDCM will disable the RH door switch illumination lamps if the RDCM detects a malfunction.

  2. This test checks if the RH switch illumination lamp circuit for an open or short (to ground or voltage).

DTC B2279

Step

Action

Value(s)

Yes

No

1

Were you sent here from the Power Door Diagnostic System Check?

--

Go to Step 2

Go to Diagnostic System Check - Power Door Systems

2

  1. Turn ON the ignition switch.
  2. Turn ON the headlamps.
  3. Check if the RH door switch illuminates.

Does the RH door switch illuminate?

--

Go to Step 6

Go to Step 3

3

Check for an open or short (to ground or voltage) in CKT 157.

Was a problem found and repaired?

--

Go to Step 8

Go to Step 4

4

Replace the RH door switch assembly. Refer to Power Mirror Switch Replacement .

Is the replacement complete?

--

Go to Step 7

--

5

  1. Replace the RDCM. Refer to Door Control Module Replacement .
  2. Program the replacement DCM (hardtop only). Refer to Door Control Module Programming/RPO Configuration .

Is the replacement complete?

--

Go to Step 8

--

6

Check the RH door switch circuit for an intermittent malfunction. Refer to Diagnostic Aids.

Was a problem found and repaired?

--

Go to Step 8

Go to Step 4

7

  1. Turn OFF the ignition switch.
  2. Reconnect or install any connectors or components that were disconnected or removed.
  3. Close both door.
  4. Wait 2 minutes (The RDCM must be in the sleep state).
  5. Turn ON the ignition switch.
  6. Clear any DTCs.

Does DTC B2279 set as history?

--

Go to Step 5

System OK

8

  1. Turn OFF the ignition switch.
  2. Reconnect or install any connectors or components that were disconnected or removed.
  3. Turn ON the ignition switch.
  4. Clear any DTCs.

Is the repair complete?

--

Go to Diagnostic System Check - Power Door Systems

--