GM Service Manual Online
For 1990-2009 cars only

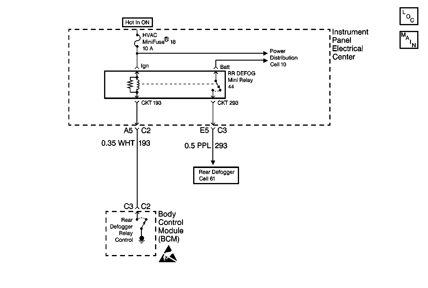
Object Number: 472957  Size: MF
Body Control Module Components
Body Control System Schematics
Power Distribution Schematics
Defogger Schematics
Handling Electrostatic Discharge Sensitive Parts Notice

Circuit Description

The BCM must receive a defogger ON request from the rear defogger switch (located in the HVAC control head) with the engine running in order to complete the rear defogger relay circuit. The BCM grounds CKT 193 in order to energize the relay. The BCM monitors the voltage level on the rear defogger control circuit. When the BCM commands the rear defogger relay ON, the voltage level on the control circuit should be low. When the relay is OFF, the voltage level should be high. If the BCM detects a voltage level other than expected, a malfunction is present and a DTC will set.

Conditions for Setting the DTC

    • The BCM detects a low voltage level (an open or a short to ground) in CKT 193.
    • The BCM can only test for this condition with the rear defogger relay de-energized.
    • The condition must be present for 2 seconds.

Action Taken When the DTC Sets

    • Stores a DTC B0432 in the BCM memory.
    • No driver warning message will be displayed for this DTC.

Conditions for Clearing the DTC

    • This DTC requires an ignition cycle in order to change from current to history.
    • The BCM no longer detects a low voltage level in CKT 193 only with the rear defogger relay de-energized.
    • A history DTC will clear after 50 consecutive ignition cycles if the condition for the malfunction is no longer present.
    • Use the IPC clearing DTCs feature.
    • Use a scan tool.

Diagnostic Aids

    • The following conditions may cause an intermittent malfunction:
       - There is an intermittent open or short to ground in CKT 193.
       - There is high resistance in the relay coil.
       - There are poor connections at the BCM, the I/P electrical center, or the rear defogger relay terminals.
       - The rear defogger relay is open or shorted internally.
    • If CKT 193 is shorted to ground, the rear defogger will remain ON at all times. If CKT 193 is open, the rear defogger will remain OFF at all times.
    • The rear defogger relay may be installed in the I/P electrical center in two directions and still function properly. Refer to Power Distribution Schematics in Wiring Systems for electrical center identification.
    • If the DTC is a history DTC, the problem may be intermittent. Perform the tests shown while moving related wiring and connectors. This can often cause the malfunction to occur. Refer to Intermittents and Poor Connections .

Test Description

The numbers below refer to the step numbers on the diagnostic table:

  1. This test determines if there is an open in the I/P electrical center or fuse.

  2. This test checks the rear defogger relay control circuit by using a scan tool to command the BCM to energize the rear defogger relay ON and OFF.

  3. This test determines if there is an open or short to ground in CKT 193.

DTC B0432 -- Rear Defogger Relay Circuit Open or Short to Ground

Step

Action

Value(s)

Yes

No

1

Were you sent here from the BCM Diagnostic System Check?

--

Go to Step 2

Go to Diagnostic System Check - Body Control System

2

  1. Turn OFF the ignition switch.
  2. Disconnect the rear defogger relay.
  3. Turn ON the ignition switch.
  4. With a test light connected to ground, probe the rear defogger relay IGN terminal at the I/P electrical center. Refer to Power Distribution Schematics in Wiring Systems for electrical center circuit identification.

Is the test light ON?

--

Go to Step 3

Go to Step 7

3

  1. Turn ON the ignition switch.
  2. With a test light connected to B+, probe CKT 193 at the I/P electrical center rear defogger relay terminal. Refer to Power Distribution Schematics in Wiring Systems for electrical center circuit identification.
  3. Using a scan tool, command the rear defogger relay ON and OFF.

Does the test light turn ON and OFF with each command?

--

Go to Step 5

Go to Step 4

4

Check for an open or short to ground in CKT 193.

Was a problem found and repaired?

--

Go to Step 10

Go to Step 6

5

Check for poor connections at the rear defogger relay.

Was a problem found and repaired?

--

Go to Step 10

Go to Step 8

6

Check for poor connections at the harness connector of the body control module.

Was a problem found and repaired?

--

Go to Step 10

Go to Step 9

7

  1. Repair the open in the ignition feed to the I/P electrical center.
  2. If a fuse is open, locate and repair the short to ground in the circuit connected to the open fuse.

Is the circuit repair complete?

--

Go to Step 10

--

8

Replace the rear defogger relay.

Is the replacement complete?

--

Go to Step 10

--

9

  1. Replace the BCM. Refer to Body Control Module Replacement .
  2. Program the BCM. Refer to Body Control Module (BCM) Programming/RPO Configuration .

Is the replacement complete?

--

Go to Step 10

--

10

  1. Turn OFF the ignition switch.
  2. Reconnect or install any connectors or components that were disconnected or removed.
  3. Turn ON the ignition switch.
  4. Clear any DTCs. Refer to Clearing DTCs .

Is the repair complete?

--

Go to Diagnostic System Check - Body Control System

--