GM Service Manual Online
For 1990-2009 cars only
Makes
🢒
Chevrolet
🢒
2004
🢒
Corvette
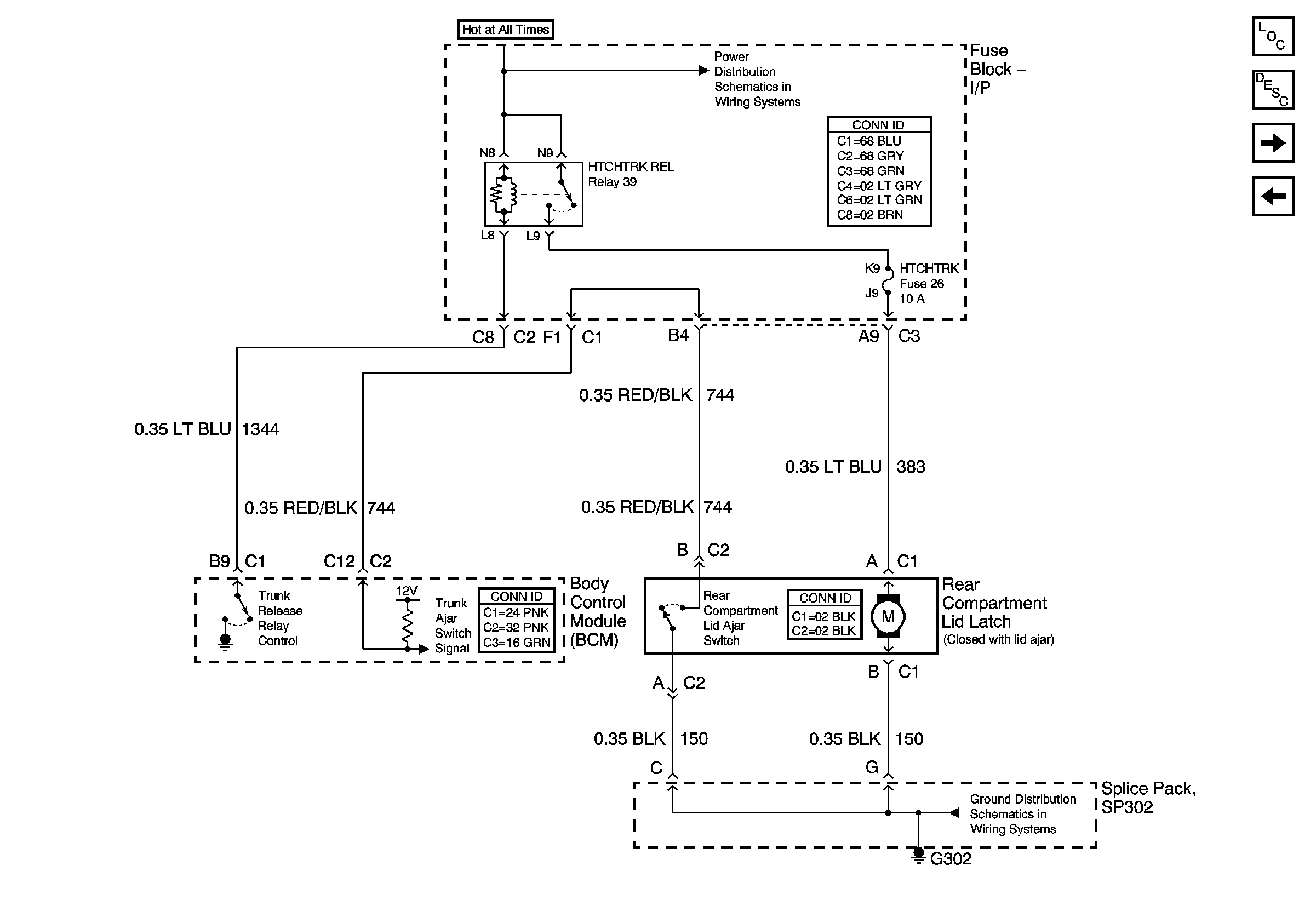
🢒 Rear Compartment Lid Release Control and Rear Compartment Lid Ajar Switch (Hardtop/Convertible)
Rear Compartment Lid Release Control and Rear Compartment Lid Ajar Switch (Hardtop/Convertible)
Rear Compartment Lid Release Control and Rear Compartment Lid Ajar Switch (Hardtop/Convertible)
Master Electrical Component List
Luggage Compartment Description and Operation
Rear Compartment Lid Release Control and Rear Compartment Lid Ajar Switch (Coupe)
Remote Control Door Lock Receiver (RCDLR) and Rear Compartment Lid Release Request
Fuse Block-I/P Bussing (1 of 2)
G301, G402 and G30