GM Service Manual Online
For 1990-2009 cars only
Figure 1:

Cell 114: PWR ACCY, GAUGES, PARK LPS Fuses; Illuminated Entry Module, G200 (w/o Keyless Entry)


Object Number: 477850  Size: FS
Lighting Systems Components
Cell 114: PWR ACCY, GAUGES, PARK LPS Fuses, G200 (w/ Keyless Entry)
Power Distribution Schematics
Power Distribution Schematics
Fuse Block Schematics
Fuse Block Schematics
Ground Distribution Schematics
Handling ESD Sensitive Parts Notice
Exterior Lights Schematics
Exterior Lights Schematics
Cell 114: PWR ACCY, GAUGES, PARK LPS Fuses, G200 (w/ Keyless Entry)
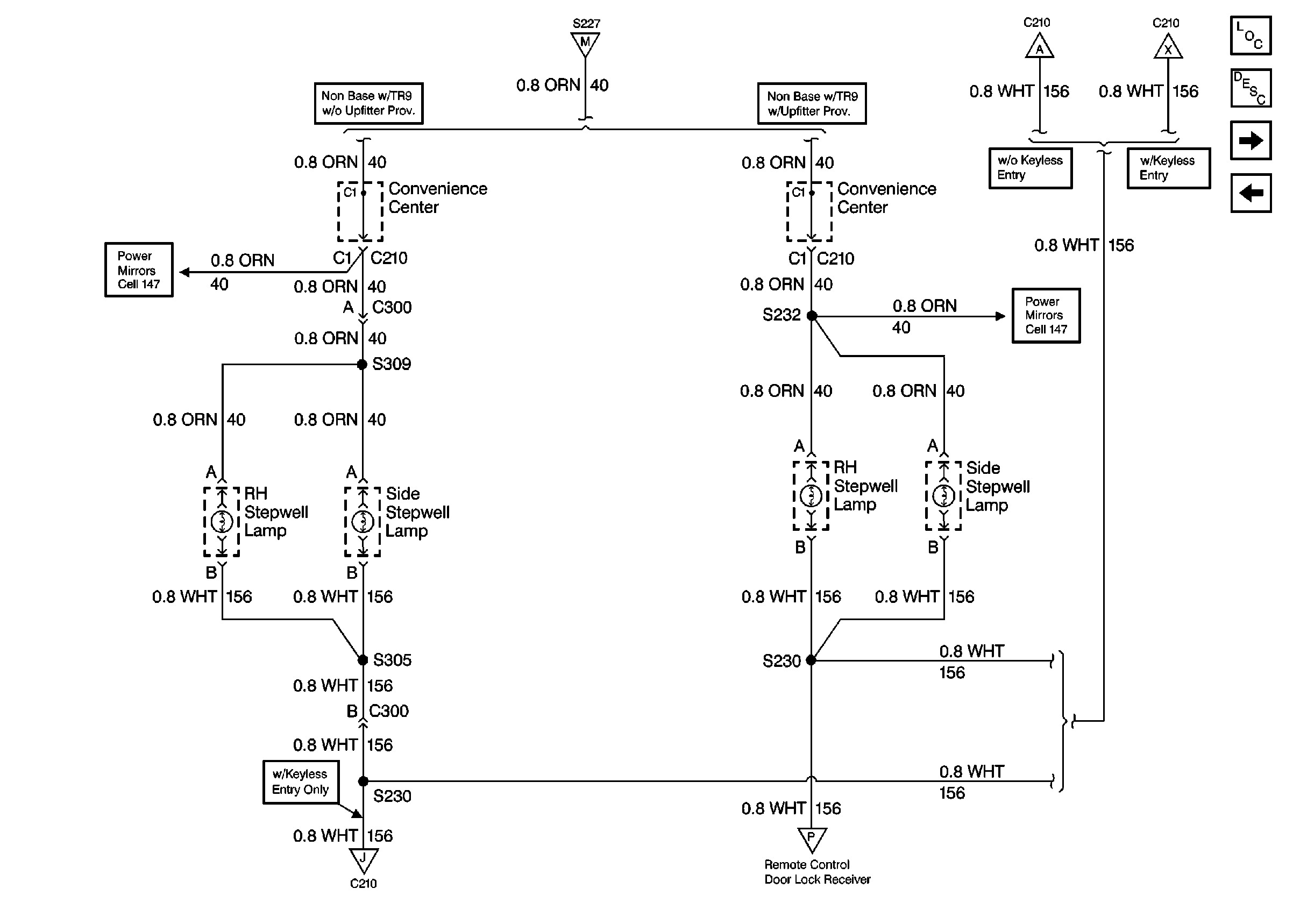
Cell 114: Stepwell Lamps
Cell 114: CTSY Fuse, Dome Lamps, Left Stepwell Lamp
Cell 114: Stepwell Lamps
Cell 114: Front Door Jamb Switches
Cell 114: IP Compartment Lamp, Ashtray Lamp, Sunshade Mirror Lamps,G101, G201
Cell 114: IP Compartment Lamp, Ashtray Lamp, Sunshade Mirror Lamps,G101, G201
Cell 114: Front Door Jamb Switches
Cell 114: Front Door Jamb Switches
Cell 114: IP Compartment Lamp, Ashtray Lamp, Sunshade Mirror Lamps,G101, G201
Interior Lights Circuit Description
Figure 2:

Cell 114: PWR ACCY, GAUGES, PARK LPS Fuses, G200 (w/ Keyless Entry)


Object Number: 477851  Size: FS
Lighting Systems Components
Cell 114: Front Door Jamb Switches
Cell 114: PWR ACCY, GAUGES, PARK LPS Fuses; Illuminated Entry Module,G200 (w/o Keyless Entry)
Power Distribution Schematics
Fuse Block Schematics
Power Distribution Schematics
Fuse Block Schematics
Handling ESD Sensitive Parts Notice
Interior Lights Schematics
Exterior Lights Schematics
Cell 114: IP Compartment Lamp, Ashtray Lamp, Sunshade Mirror Lamps,G101, G201
Cell 114: Stepwell Lamps
Cell 114: CTSY Fuse, Dome Lamps, Left Stepwell Lamp
Cell 114: Stepwell Lamps
Cell 114: Front Door Jamb Switches
Cell 114: IP Compartment Lamp, Ashtray Lamp, Sunshade Mirror Lamps,G101, G201
Cell 114: IP Compartment Lamp, Ashtray Lamp, Sunshade Mirror Lamps,G101, G201
Cell 114: Front Door Jamb Switches
Cell 114: Front Door Jamb Switches
Interior Lights Circuit Description
Figure 3:

Cell 114: Front Door Jamb Switches


Object Number: 477852  Size: FS
Lighting Systems Components
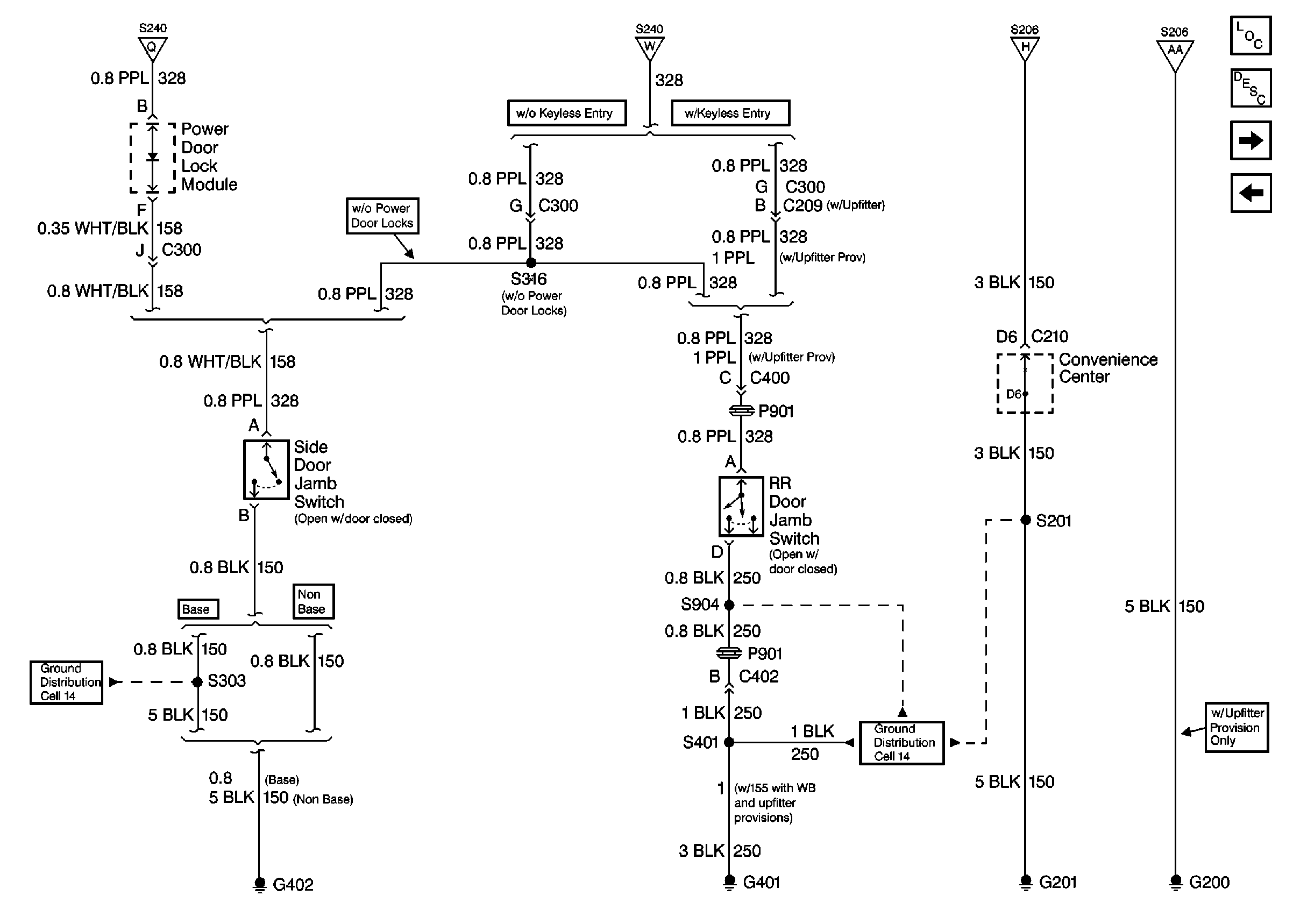
Cell 114: Side Door Jamb Switch, Right Rear Door Jamb Switch, G200,G201, G401, G402
Cell 114: PWR ACCY, GAUGES, PARK LPS Fuses, G200 (w/ Keyless Entry)
Cell 114: PWR ACCY, GAUGES, PARK LPS Fuses; Illuminated Entry Module,G200 (w/o Keyless Entry)
Cell 114: PWR ACCY, GAUGES, PARK LPS Fuses, G200 (w/ Keyless Entry)
Cell 114: PWR ACCY, GAUGES, PARK LPS Fuses; Illuminated Entry Module,G200 (w/o Keyless Entry)
Cell 114: PWR ACCY, GAUGES, PARK LPS Fuses, G200 (w/ Keyless Entry)
Cell 114: PWR ACCY, GAUGES, PARK LPS Fuses; Illuminated Entry Module,G200 (w/o Keyless Entry)
Cell 114: PWR ACCY, GAUGES, PARK LPS Fuses, G200 (w/ Keyless Entry)
Ground Distribution Schematics
Ground Distribution Schematics
Cell 114: Side Door Jamb Switch, Right Rear Door Jamb Switch, G200,G201, G401, G402
Cell 114: Side Door Jamb Switch, Right Rear Door Jamb Switch, G200,G201, G401, G402
Cell 114: Side Door Jamb Switch, Right Rear Door Jamb Switch, G200,G201, G401, G402
Cell 114: Side Door Jamb Switch, Right Rear Door Jamb Switch, G200,G201, G401, G402
Interior Lights Circuit Description
Figure 4:

Cell 114: Side Door Jamb Switch, Right Rear Door Jamb Switch, G200, G201, G401, G402


Object Number: 477853  Size: FS
Lighting Systems Components
Cell 114: CTSY Fuse, Dome Lamps, Left Stepwell Lamp
Cell 114: Front Door Jamb Switches
Cell 114: Front Door Jamb Switches
Cell 114: Front Door Jamb Switches
Cell 114: Front Door Jamb Switches
Cell 114: Front Door Jamb Switches
Ground Distribution Schematics
Ground Distribution Schematics
Interior Lights Circuit Description
Figure 5:

Cell 114: CTSY Fuse, Dome Lamps, Left Stepwell Lamp


Object Number: 477854  Size: FS
Lighting Systems Components
Cell 114: IP Compartment Lamp, Ashtray Lamp, Sunshade Mirror Lamps,G101, G201
Cell 114: Side Door Jamb Switch, Right Rear Door Jamb Switch, G200,G201, G401, G402
Cell 114: PWR ACCY, GAUGES, PARK LPS Fuses; Illuminated Entry Module,G200 (w/o Keyless Entry)
Cell 114: PWR ACCY, GAUGES, PARK LPS Fuses, G200 (w/ Keyless Entry)
Cell 114: IP Compartment Lamp, Ashtray Lamp, Sunshade Mirror Lamps,G101, G201
Cell 114: IP Compartment Lamp, Ashtray Lamp, Sunshade Mirror Lamps,G101, G201
Cell 114: Stepwell Lamps
Power Distribution Schematics
Interior Lights Circuit Description
Figure 6:

Cell 114: IP Compartment Lamp, Ashtray Lamp, Sunshade Mirror Lamps, G101, G201


Object Number: 477855  Size: FS
Lighting Systems Components
Cell 114: Stepwell Lamps
Cell 114: CTSY Fuse, Dome Lamps, Left Stepwell Lamp
Cell 114: CTSY Fuse, Dome Lamps, Left Stepwell Lamp
Cell 114: PWR ACCY, GAUGES, PARK LPS Fuses; Illuminated Entry Module,G200 (w/o Keyless Entry)
Cell 114: PWR ACCY, GAUGES, PARK LPS Fuses; Illuminated Entry Module,G200 (w/o Keyless Entry)
Cell 114: CTSY Fuse, Dome Lamps, Left Stepwell Lamp
Cell 114: PWR ACCY, GAUGES, PARK LPS Fuses; Illuminated Entry Module,G200 (w/o Keyless Entry)
Cell 114: PWR ACCY, GAUGES, PARK LPS Fuses, G200 (w/ Keyless Entry)
Cell 114: PWR ACCY, GAUGES, PARK LPS Fuses; Illuminated Entry Module,G200 (w/o Keyless Entry)
Cell 114: PWR ACCY, GAUGES, PARK LPS Fuses, G200 (w/ Keyless Entry)
Ground Distribution Schematics
Ground Distribution Schematics
Ground Distribution Schematics
Interior Lights Circuit Description
Cell 114: PWR ACCY, GAUGES, PARK LPS Fuses, G200 (w/ Keyless Entry)
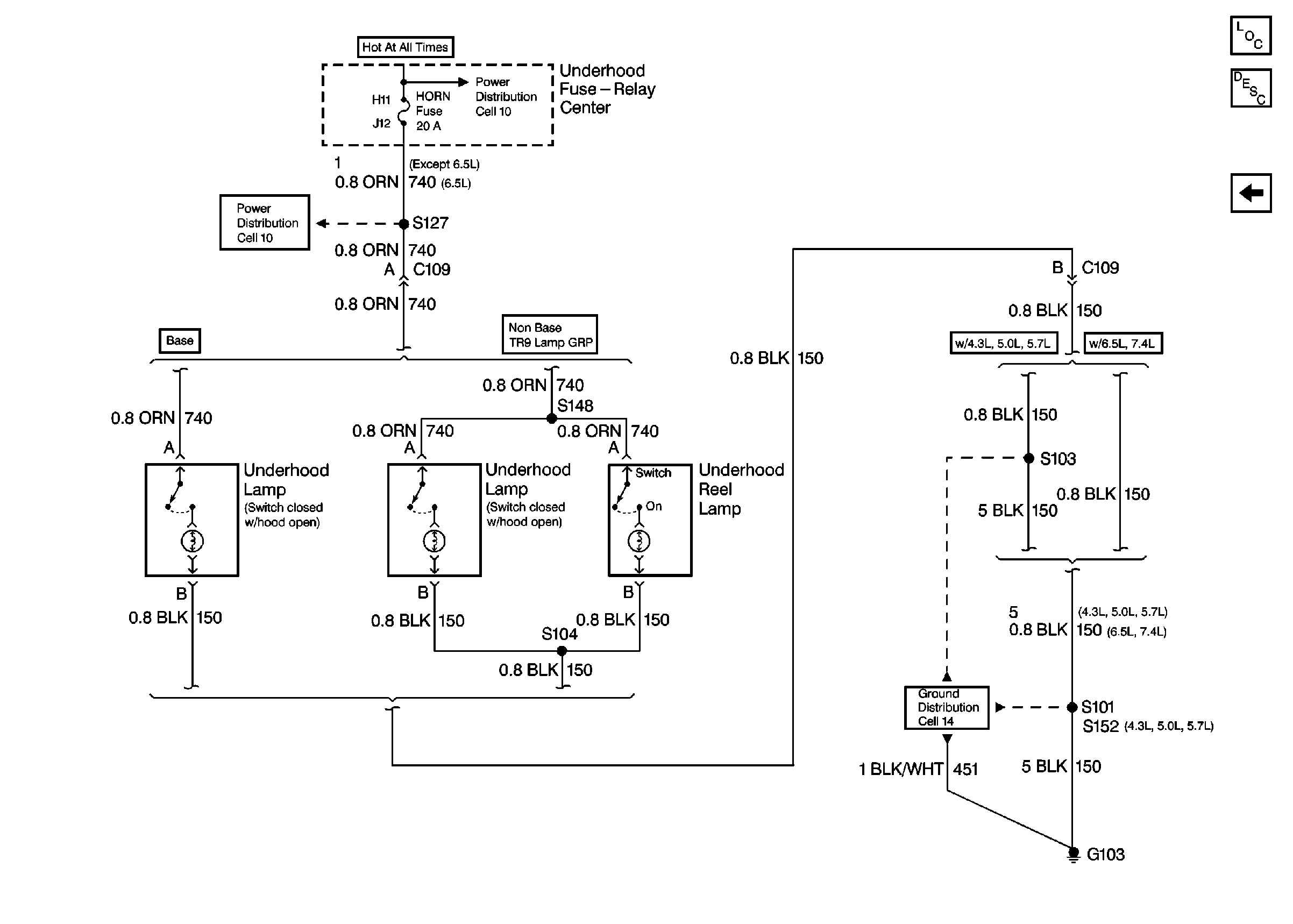
Figure 7:

Cell 114: Stepwell Lamps


Object Number: 477856  Size: FS
Lighting Systems Components
Cell 114: HORN Fuse, Underhood Lamp, Underhood Reel Lamp, G103
Cell 114: IP Compartment Lamp, Ashtray Lamp, Sunshade Mirror Lamps,G101, G201
Cell 114: CTSY Fuse, Dome Lamps, Left Stepwell Lamp
Cell 114: PWR ACCY, GAUGES, PARK LPS Fuses; Illuminated Entry Module,G200 (w/o Keyless Entry)
Cell 114: PWR ACCY, GAUGES, PARK LPS Fuses, G200 (w/ Keyless Entry)
Outside Rearview Mirror Schematics
Outside Rearview Mirror Schematics
Cell 114: PWR ACCY, GAUGES, PARK LPS Fuses; Illuminated Entry Module,G200 (w/o Keyless Entry)
Cell 114: PWR ACCY, GAUGES, PARK LPS Fuses, G200 (w/ Keyless Entry)
Interior Lights Circuit Description
Figure 8:

Cell 114: HORN Fuse, Underhood Lamp, Underhood Reel Lamp, G103


Object Number: 477857  Size: FS
Lighting Systems Components
Cell 114: Stepwell Lamps
Power Distribution Schematics
Ground Distribution Schematics
Power Distribution Schematics
Interior Lights Circuit Description