GM Service Manual Online
For 1990-2009 cars only
Makes
🢒
Chevrolet
🢒
1998
🢒
Express
🢒 Cell 63: Front Auxiliary HVAC Control Module
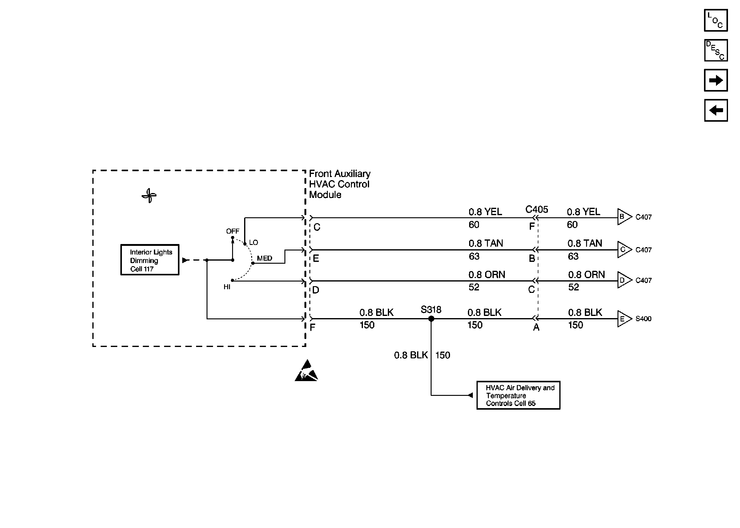
Cell 63: Front Auxiliary HVAC Control Module
Cell 63: Front Auxiliary HVAC Control Module
HVAC Components
HVAC Blower Controls Circuit Description
Cell 63: RR BLOWER and RR HVAC Fuses, Auxiliary Blower Motor, G400
Cell 63: Front and Rear Auxiliary HVAC Control Modules
Cell 117: ILLUM and PARK LPS Fuses, G400
Handling ESD Sensitive Parts Notice
Cell 65: RR HVAC Fuse, Front Auxiliary HVAC Control Module
Cell 63: RR BLOWER and RR HVAC Fuses, Auxiliary Blower Motor, G400
Cell 63: RR BLOWER and RR HVAC Fuses, Auxiliary Blower Motor, G400
Cell 63: RR BLOWER and RR HVAC Fuses, Auxiliary Blower Motor, G400
Cell 63: RR BLOWER and RR HVAC Fuses, Auxiliary Blower Motor, G400