GM Service Manual Online
For 1990-2009 cars only
Makes
🢒
Chevrolet
🢒
2006
🢒
HHR
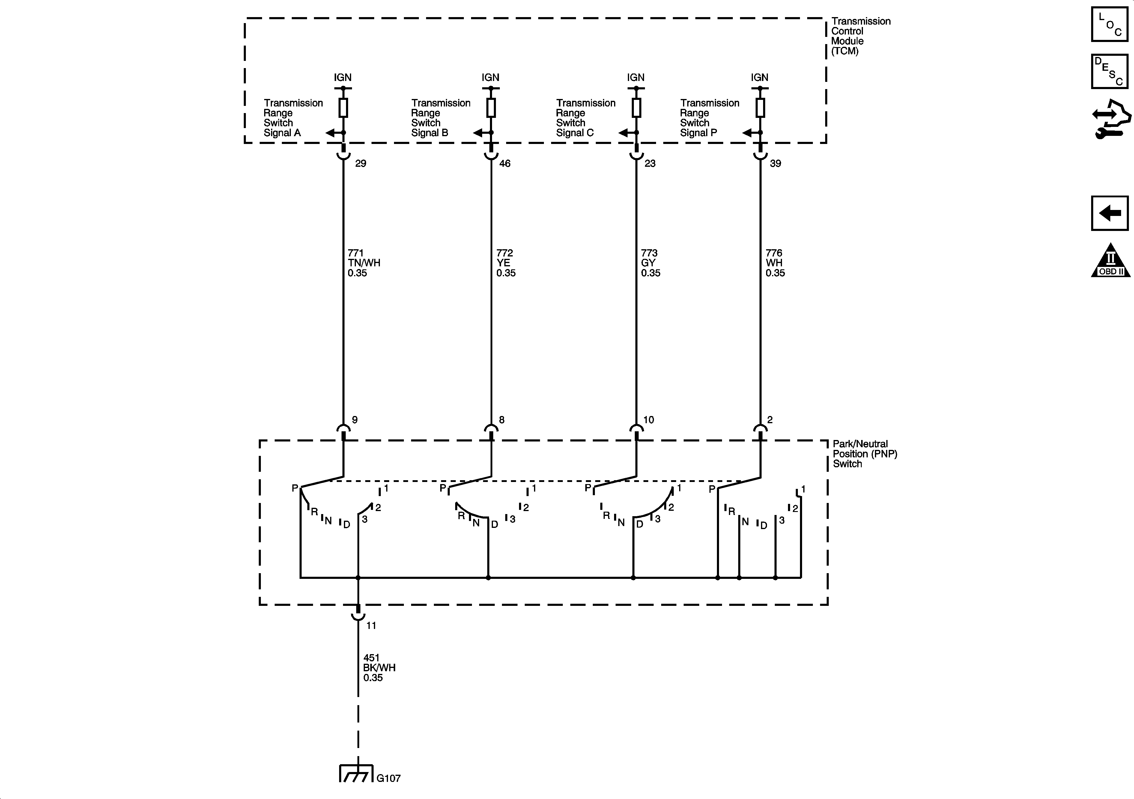
🢒 PNP Switch
PNP Switch
PNP Switch
Master Electrical Component List
Transmission General Description
Control Module References
Transmission Switches, TFT, and A/T ISS Sensors
Automatic Transmission Schematic Icons
G103, G105, G017, and G108