GM Service Manual Online
For 1990-2009 cars only
Figure 1:

Grounds, Power, and References to DLC and Keyless Entry


Object Number: 1551717  Size: FS
Master Electrical Component List
Body Control System Description and Operation
References to ABS, Alt Shift Lock, Audible Warnings, Body Rear End, Horns, HVAC, Hydraulic Brakes, Instrument Cluster, RAP, and Theft Deterrent
BATT RUNDOWN PROTECTION RELAY, I/P BRP, and TRK/ROOF BRP Fuses
CLSTR/BCM, DR LK, LEFT IP, LH HTD ST/BCM and PWR MIR Fuses, RETAINED ACCSRY PWR BRKR Circuit Breaker, and RETAINED ACCSRY PWR Relay
A/C/CRUISE, CRUISE, PCM/BCM/CLSTR, and PCM (CRANK) Fuses
CLSTR/BCM, DR LK, LEFT IP, LH HTD ST/BCM and PWR MIR Fuses, RETAINED ACCSRY PWR BRKR Circuit Breaker, and RETAINED ACCSRY PWR Relay
A/C RLY (CMPR), BCM, CIG/AUS, EXT LTS, IGN SW, PCM, HVAC BLOWER, and WSW Fuses
ABS/PCM, SRS, STOP, and TURN SIGNAL Fuses
BATT RUNDOWN PROTECTION RELAY, I/P BRP, and TRK/ROOF BRP Fuses
A/C/CRUISE, CRUISE, PCM/BCM/CLSTR, and PCM (CRANK) Fuses
ABS/PCM, SRS, STOP, and TURN SIGNAL Fuses
DLC
Keyless Entry
G201 - 1 of 2
G203 - 1 of 3
Figure 2:

References to ABS, Alt Shift Lock, Audible Warnings, Body Rear End, Horns, HVAC, Hydraulic Brakes, Instrument Cluster, RAP, and Theft Deterrent


Object Number: 1551731  Size: FS
Master Electrical Component List
Body Control System Description and Operation
Grounds, Power, DLC, and Keyless Entry
References to Lighting
Body Rear End Schematics
A/C Compressor Controls
Shift Lock Control
Horns
Ground, Power, and RAP Relay
DLC, Ground, Odometer/PRNDL, and VSS
Audible Warnings
Theft Deterrent
Traction Control Switch
Brake Warning System
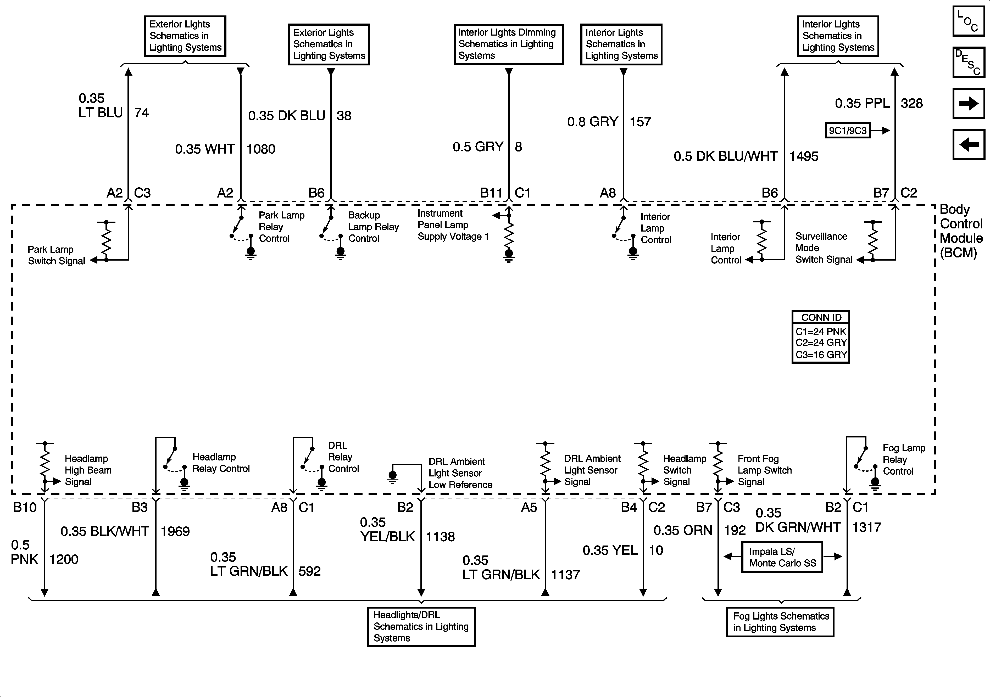
Figure 3:

References to Lighting


Object Number: 1326333  Size: FS
Master Electrical Component List
Body Control System Description and Operation
References to Doors, Defogger, and Lighting
References to ABS, Alt Shift Lock, Audible Warnings, Body Rear End, Horns, HVAC, Hydraulic Brakes, Instrument Cluster, RAP, and Theft Deterrent
Message Center
Backup Lamps (w/o 9C1/9C3)
I/P
Roof Lighting
Courtesy Lamps Control and I/P
Indicators and Lamp Control
Fog Lights
Figure 4:

References to Doors, Defogger, and Lighting


Object Number: 1454533  Size: FS
Master Electrical Component List
Body Control System Description and Operation
References to Lighting
Door Lock Actuators
Door Open Switches - Left
Lock Switches
Courtesy Lamps Control and I/P
Load Management
Rear Junction Block and Roof Wiring