GM Service Manual Online
For 1990-2009 cars only
Makes
🢒
Chevrolet
🢒
2000
🢒
Malibu
🢒
Body and Accessories
🢒
Data Link Communications
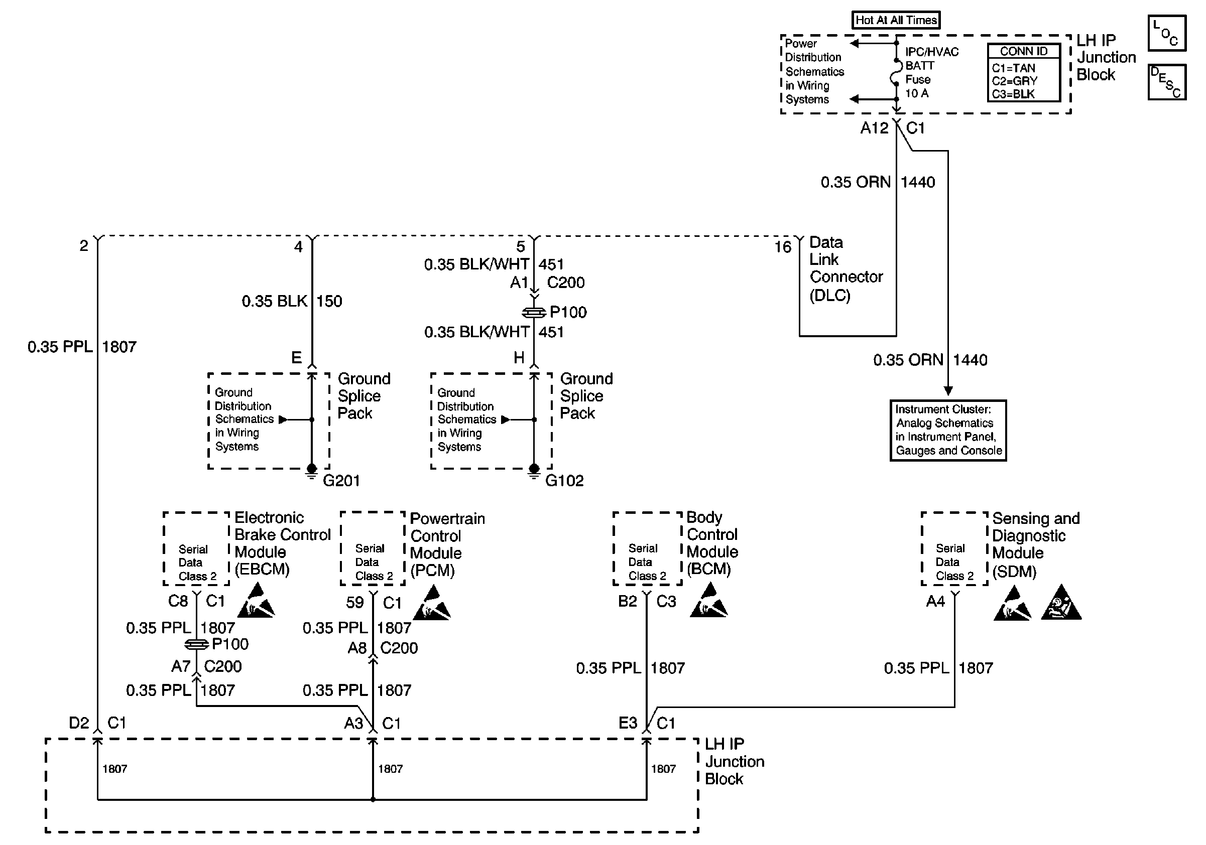
🢒 Data Link Connector Schematics
Class 2 Communication
Data Link Communications Components
Data Link Communications Circuit Description
Power Distribution Schematics
Instrument Cluster: Analog Schematics
Ground Distribution Schematics
Ground Distribution Schematics