GM Service Manual Online
For 1990-2009 cars only
Makes
🢒
Chevrolet
🢒
2001
🢒
Malibu
🢒
Body and Accessories
🢒
Entertainment
🢒 Radio/Audio System Schematics
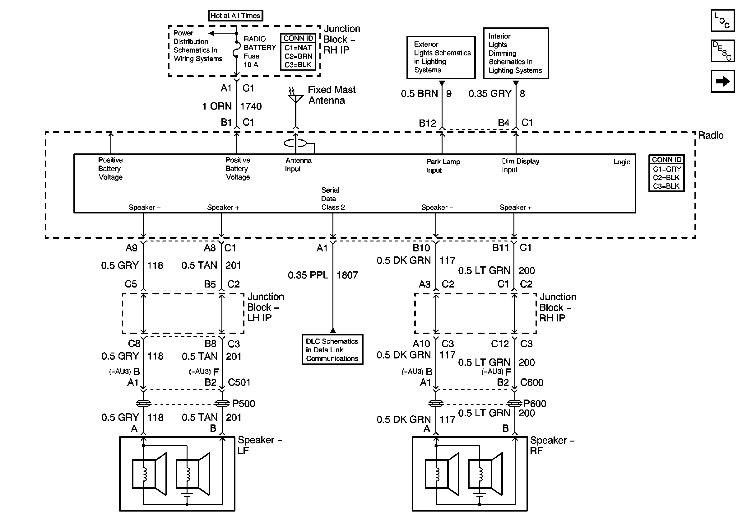
Figure
1:
Power and Front Speakers
Master Electrical Component List
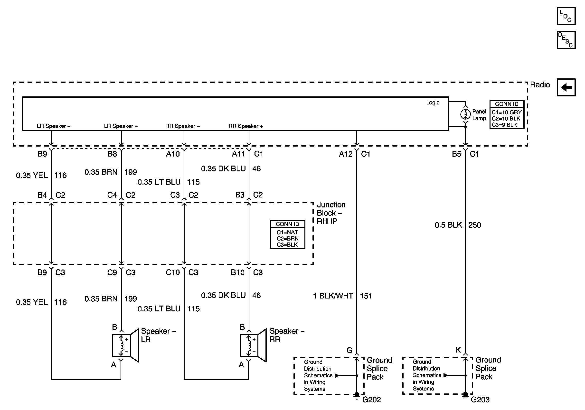
Rear Speakers and Grounds
RR DEFOG, HORN, HI BLO MOT, RH BEC BATT, AIR, COOL FAN 1, ABS, INTLPS, RDO BATT, FOG LPS Fuses, REAR DEFOGGER, HORN, FAN CONTROL 1 MODE CONTROL, FAN CONTROL 2 BLOWER MOTOR, AIR PUMP, FOG LAMPS Relays
Interior Accessories
Panel Dimming
Data Link Communications
Figure
2:
Rear Speakers and Grounds
Master Electrical Component List
Radio/Audio System Description and Operation
Power and Front Speakers
G202
G203