GM Service Manual Online
For 1990-2009 cars only
Makes
🢒
Chevrolet
🢒
2006
🢒
Malibu
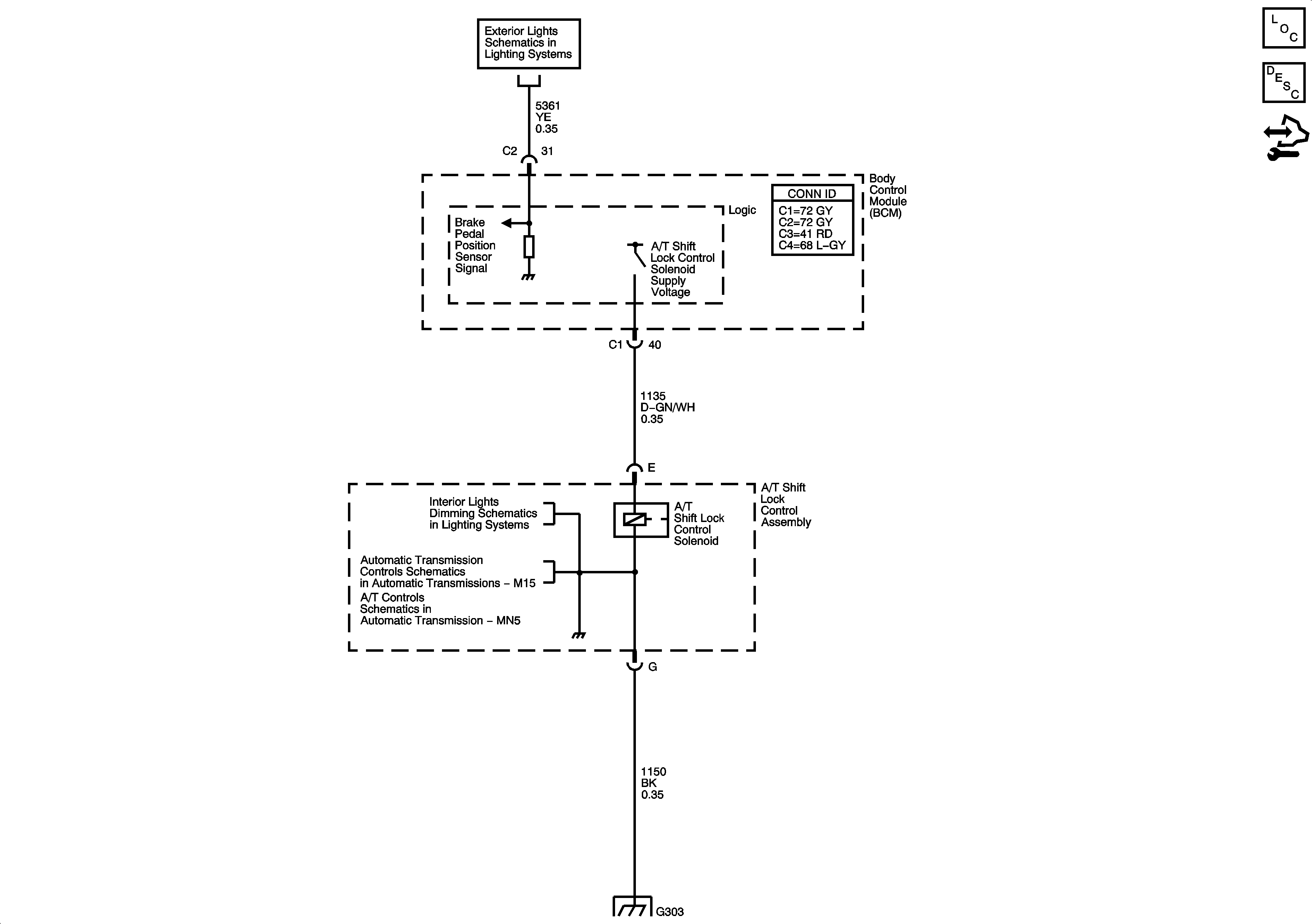
🢒 A/T Shift Lock Control Schematics
A/T Shift Lock Control Schematics
Master Electrical Component List
Automatic Transmission Shift Lock Control Description and Operation (L61/LX9)
Control Module References
Ambient Light Sensor, Brake Pedal Position Sensor, Hazard Switch and Turn Signal/Multifunction Switch
Seats and Center Console
Tap Up/Tap Down Switch
Tap Up/Tap Down Switch
G303