GM Service Manual Online
For 1990-2009 cars only
Makes
🢒
Chevrolet
🢒
2004
🢒
Monte Carlo
🢒
Accessories
🢒
Cellular Communication
🢒 OnStar Schematics
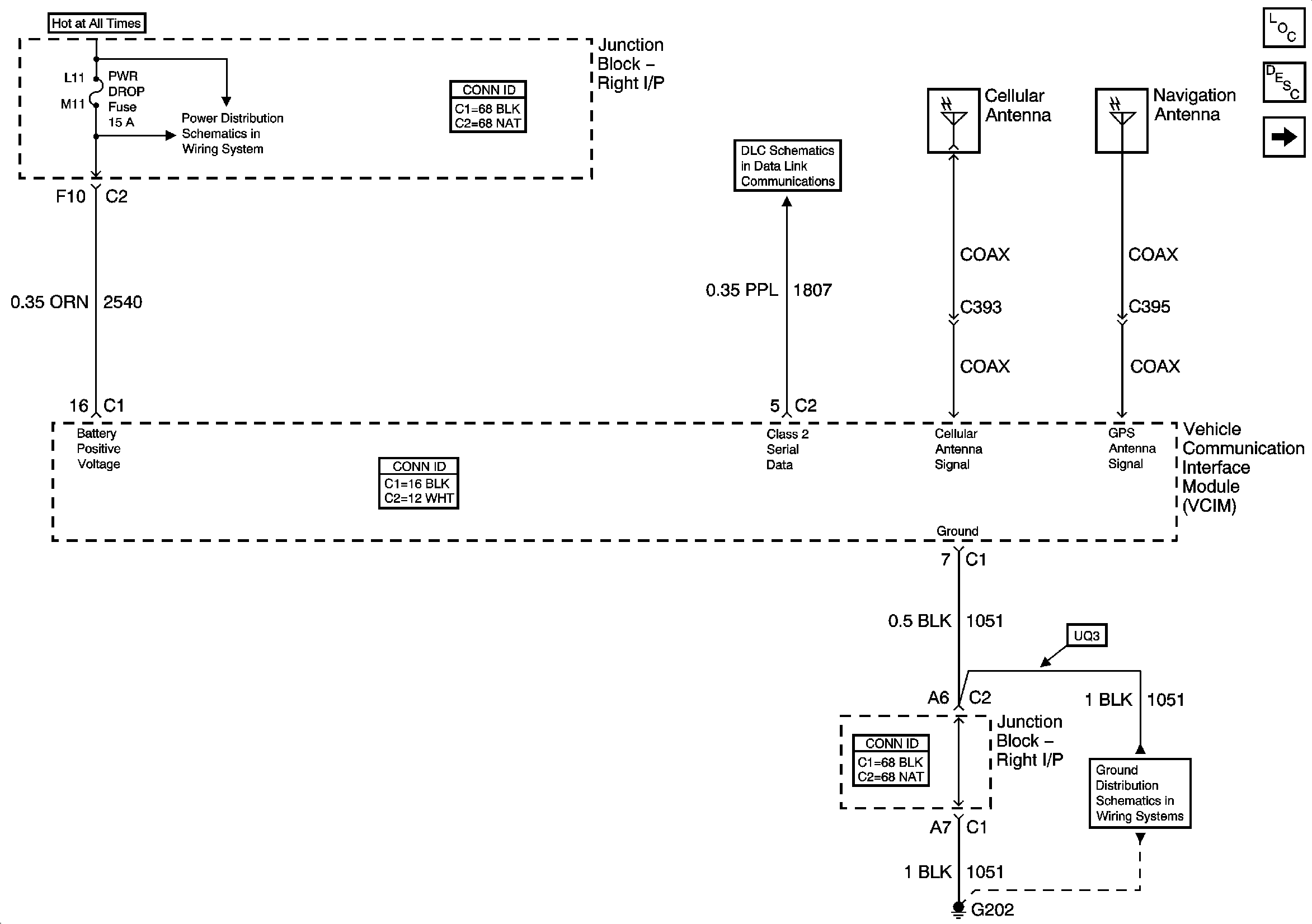
Figure
1:
Antennas, Data Link, Ground, and Power
Master Electrical Component List
OnStar Description and Operation
Audio Comm., and Inside Rearview Mirror
B/U LP, DIL/RKE, PWR DROP, and RT HTD ST Fuses
DLC
G202
Figure
2:
Audio Communication and Inside Rearview Mirror
Master Electrical Component List
OnStar Description and Operation
Antennas, Data Link, Ground, and Power
Inside Rearview Mirror
Roof Lighting
G203 [1 of 2]
Cellular Communication Schematic Icons
Cellular Communication Schematic Icons