GM Service Manual Online
For 1990-2009 cars only
Makes
🢒
Chevrolet
🢒
2004
🢒
Monte Carlo
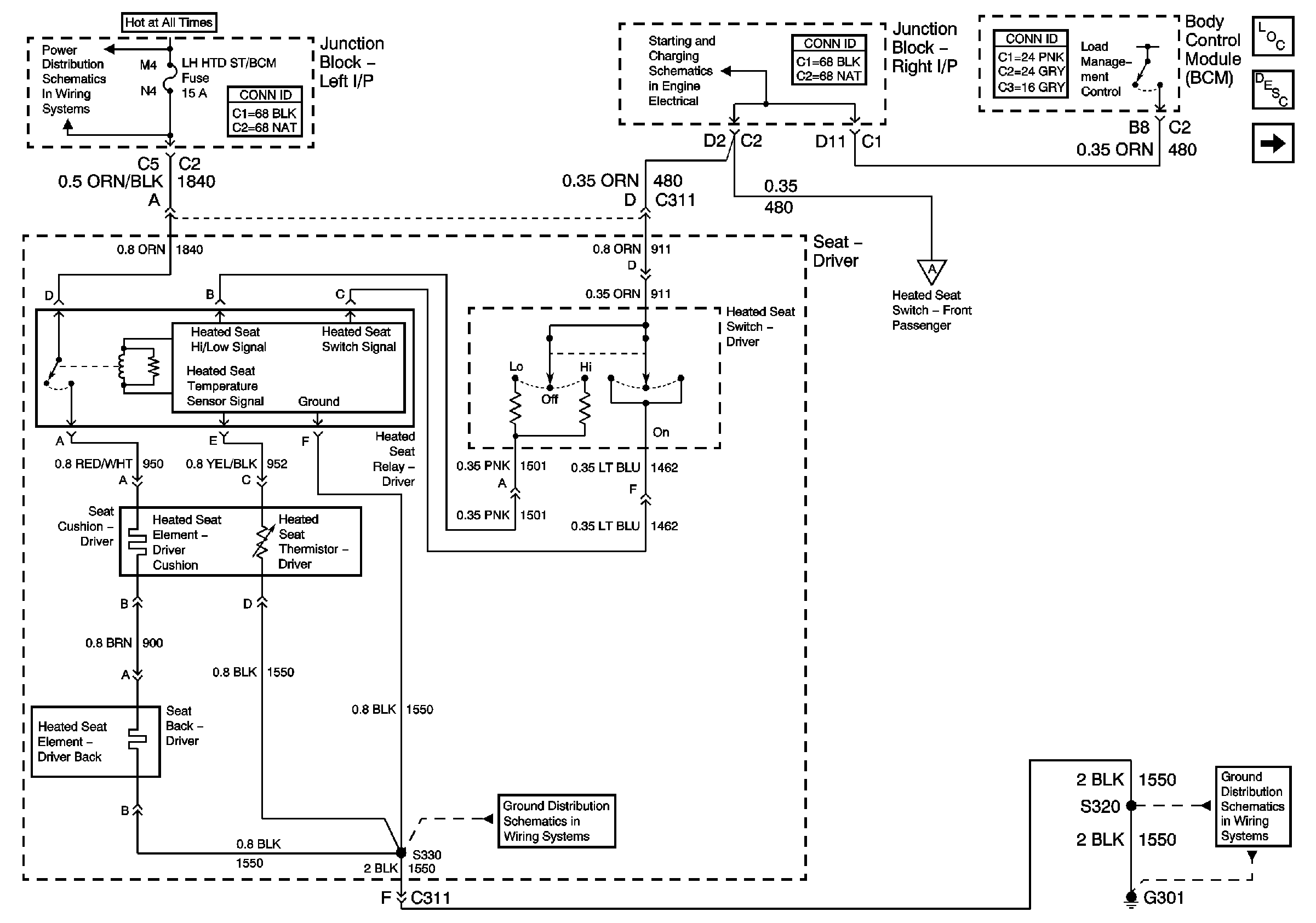
🢒 Driver Seat [Impala]
Driver Seat [Impala]
Driver Seat (Impala)
Master Electrical Component List
Heated Seats Description and Operation
Front Passenger Seat [Impala]
CLSTR/BCM, DK LK, LEFT IP, LT HTD ST/BCM, and PWR MIR
Load Management
Front Passenger Seat [Impala]
G301 [1 of 2]
G301 [1 of 2]