GM Service Manual Online
For 1990-2009 cars only
Makes
🢒
Chevrolet
🢒
2004
🢒
Monte Carlo
🢒 Front Passenger Seat [Impala]
Front Passenger Seat [Impala]
Front Passenger Seat (Impala)
Master Electrical Component List
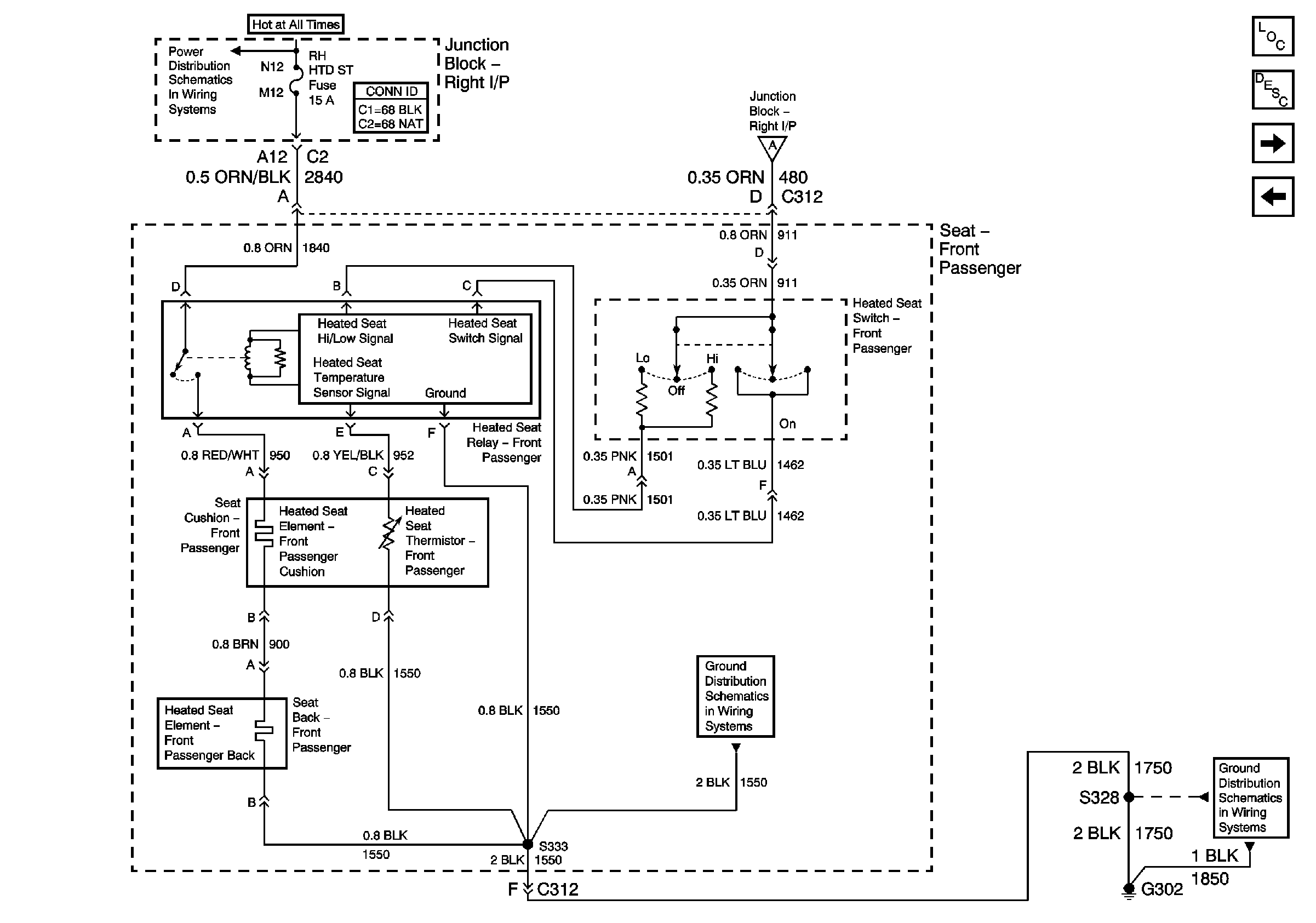
Heated Seats Description and Operation
Driver Seat [Monte Carlo]
Driver Seat [Impala]
B/U LP, DIL/RKE, PWR DROP, and RT HTD ST Fuses
Driver Seat [Impala]
G203 [1 of 2]
G203 [1 of 2]