GM Service Manual Online
For 1990-2009 cars only
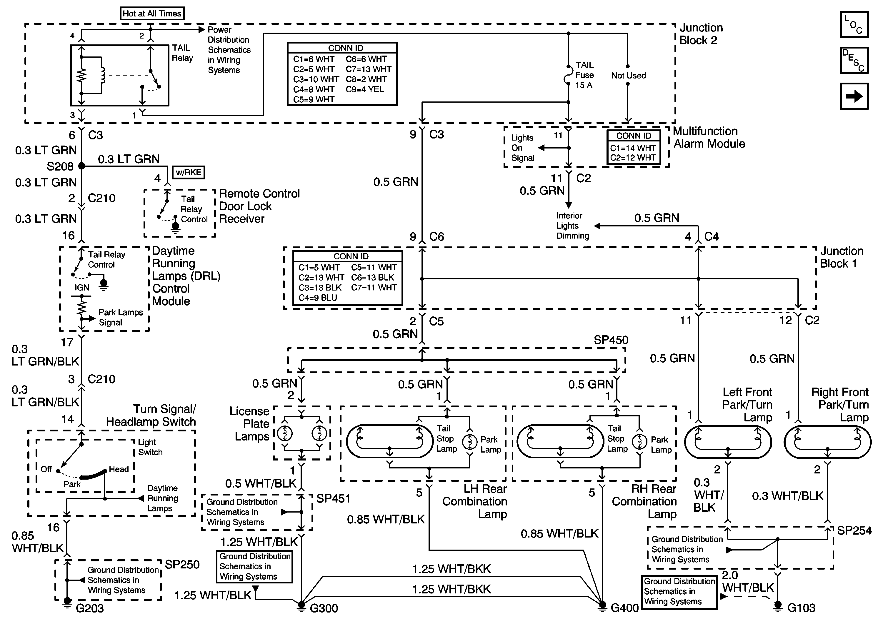
Figure 1:

LH Rear Combination Lamp and Right Front Park/Turn Lamp


Object Number: 688284  Size: FS
Master Electrical Component List
Exterior Lighting Systems Description and Operation
G300, G301, G400, and SP451
G300, G301, G400, and SP451
G300, G301, G400, and SP451
G300, G301, G400, and SP451
ABS, ALT, AMI, DEF, DYL, ECU-B, HTR, OBD, POWER and STOP Fuses
G200, G203, SP250, and SP650
Figure 2:

Hazard Switch


Object Number: 688291  Size: FS
Master Electrical Component List
Exterior Lighting Systems Description and Operation
Left Front Park/Turn Lamp, and LH Rear Combination Lamp
LH Rear Combination Lamp and Right Front Park/Turn Lamp
G204, Junction Block 1, and SP256
ALT-S, AM2, DOME, EFI, Hazard, Horn, and Main Fuses
G200, G203, SP250, and SP650
G200, G203, SP250, and SP650
ECU-IG, TURN, and WIP Fuse
G204, Junction Block 1, and SP256
Instrument Cluster Assembly
Left Front Park/Turn Lamp, and LH Rear Combination Lamp
Left Front Park/Turn Lamp, and LH Rear Combination Lamp
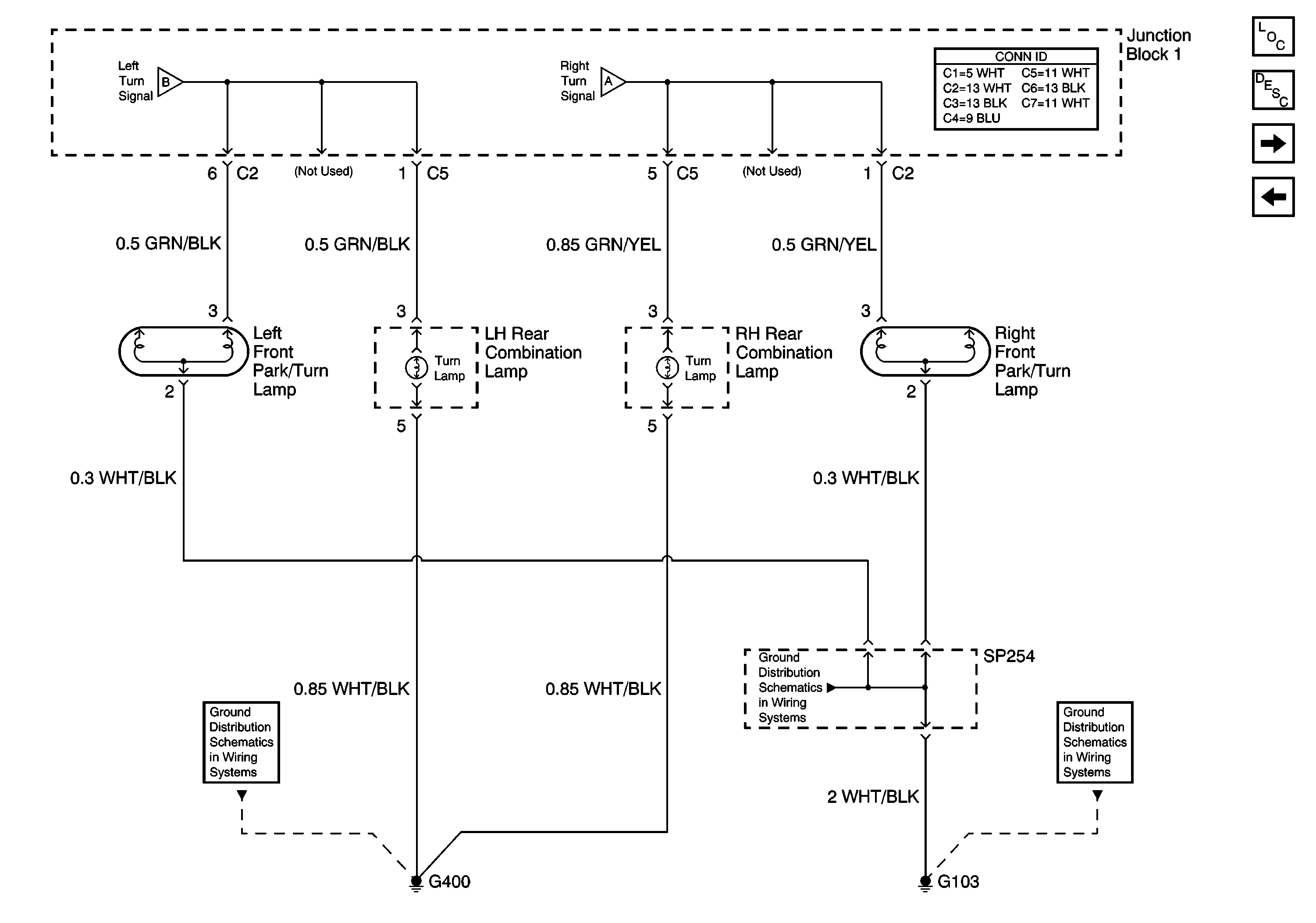
Figure 3:

Left Front Park/Turn Lamp, and LH Rear Combination Lamp


Object Number: 688297  Size: FS
Master Electrical Component List
Exterior Lighting Systems Description and Operation
Cruise Control Module, Shift Lock Control Module, and Stoplamp Switch
Hazard Switch
G100, G101, G102, G103, and G104
SP 254 and SP261
G300, G301, G400, and SP451
Hazard Switch
Hazard Switch
Figure 4:

Cruise Control Module, Shift Lock Control Module, and Stoplamp Switch


Object Number: 688305  Size: FS
Master Electrical Component List
Exterior Lighting Systems Description and Operation
Left Front Park/Turn Lamp, and LH Rear Combination Lamp
ABS, ALT, AMI, DEF, DYL, ECU-B, HTR, OBD, POWER and STOP Fuses
G300, G301, G400, and SP451
G300, G301, G400, and SP451
ABS, ALT, AMI, DEF, DYL, ECU-B, HTR, OBD, POWER and STOP Fuses