GM Service Manual Online
For 1990-2009 cars only
Makes
🢒
Chevrolet
🢒
1999
🢒
S10 Pickup - 4WD
🢒 Cell 148
Cell 148
Cell 148
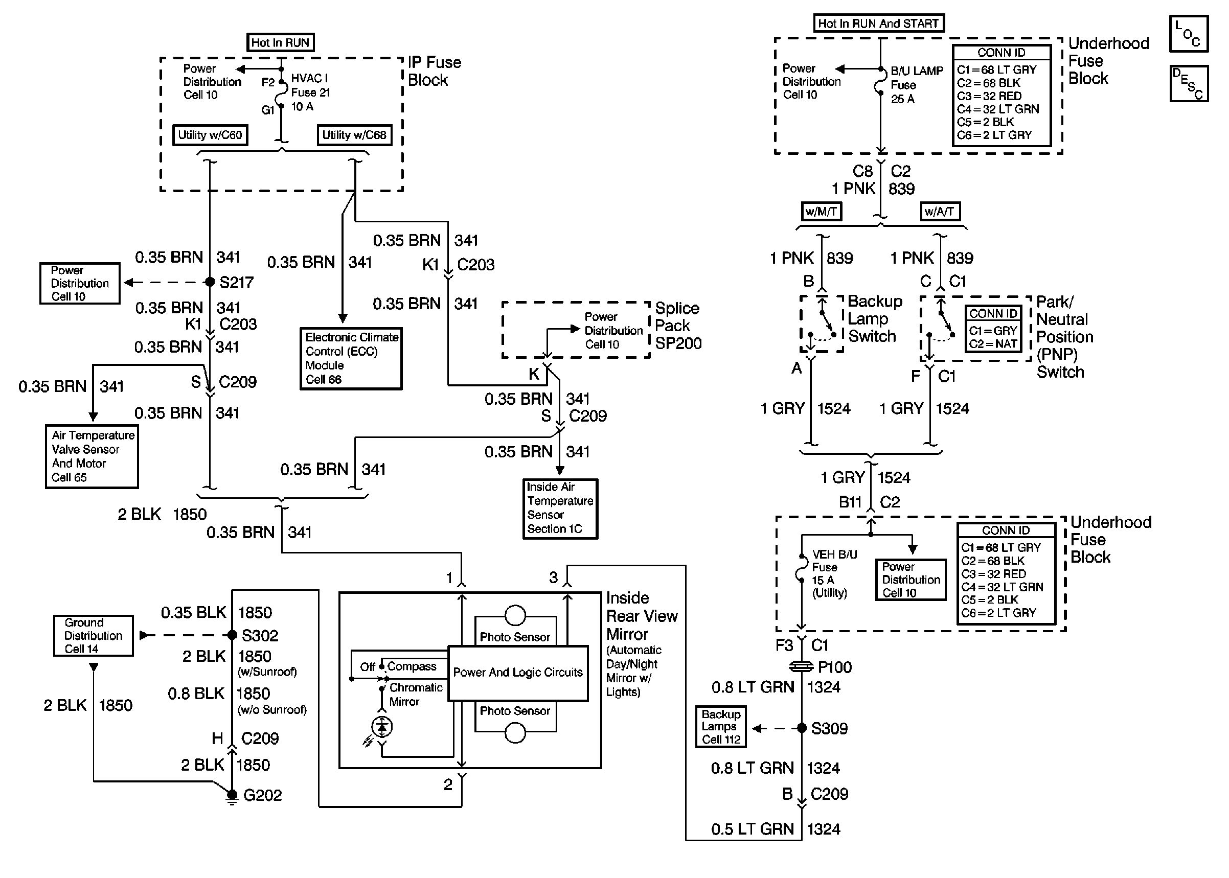
Cell 10: HVAC I Fuse
Cell 10: HVAC I Fuse
Cell 65 (Heat and A/C)
Cell 66
Cell 10: HVAC I Fuse
Cell 68: ECC Module and Temperature Sensors
Cell 14: G202 (Utility)
Cell 112 (Utility)
Cell 10: B/U LP, TRL B/U and VEH B/U Fuses (M/T)
Power and Grounding Connector End Views
Tilt Wheel/Column Connector End Views
Power and Grounding Connector End Views
Cell 10: B/U LP, TRL B/U and VEH B/U Fuses (M/T)
Stationary Windows Components
Automatic Day-Night Mirrors Circuit Description