GM Service Manual Online
For 1990-2009 cars only
Makes
🢒
Chevrolet
🢒
2001
🢒
Venture
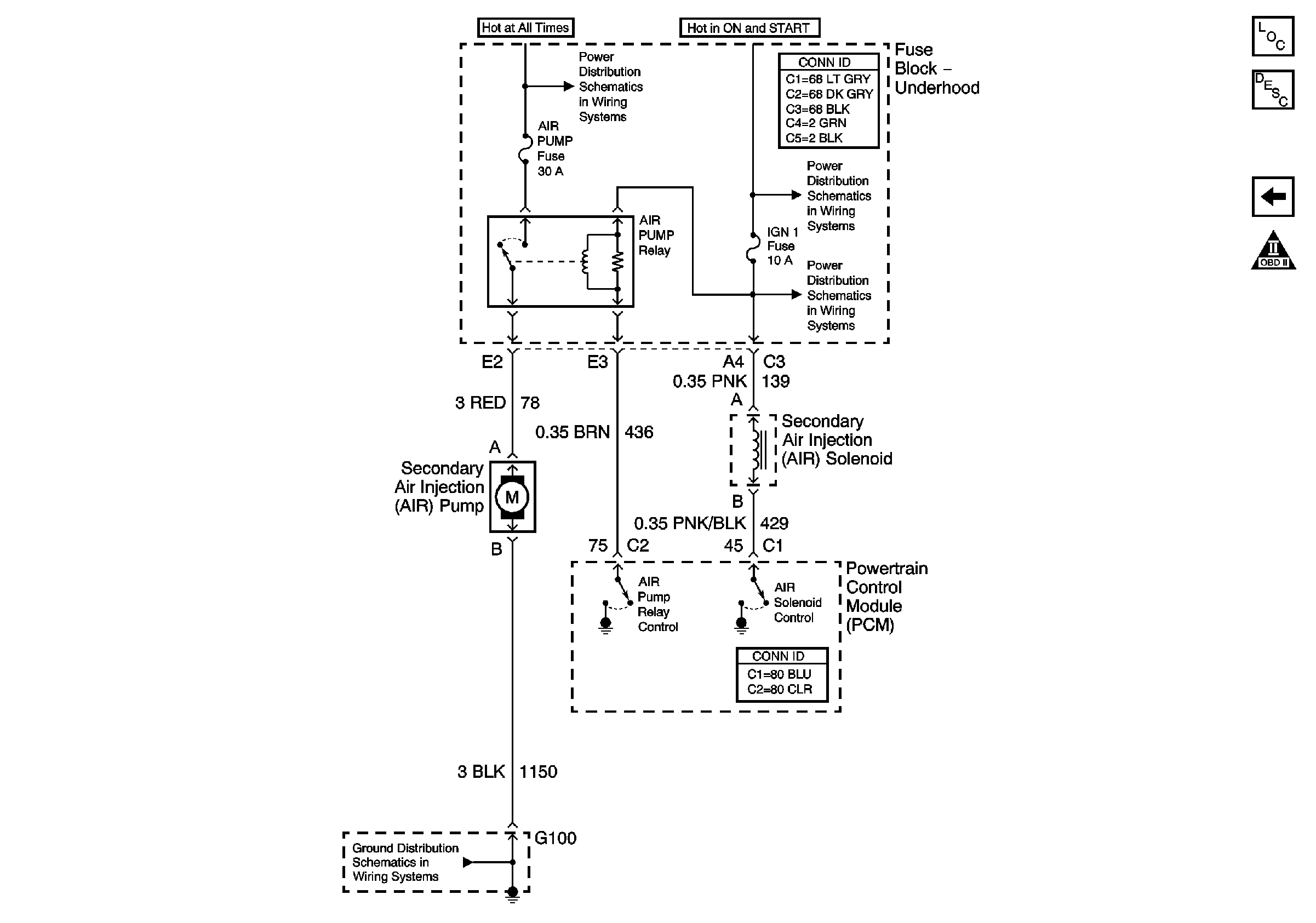
🢒 AIR Pump Controls (w/NC8)
AIR Pump Controls (w/NC8)
AIR Pump Controls (w/NC8)
Master Electrical Component List
Battery Feed to the Fuse Block - Underhood
TRANS, DIS, OXY SEN, IGN 1 Fuses and the IGN-1 and AIR PUMP Relays( Fuse Block - Underhood)
TRANS, DIS, OXY SEN, IGN 1 Fuses and the IGN-1 and AIR PUMP Relays( Fuse Block - Underhood)
PCM Inputs/Outputs (2 of 2)