GM Service Manual Online
For 1990-2009 cars only
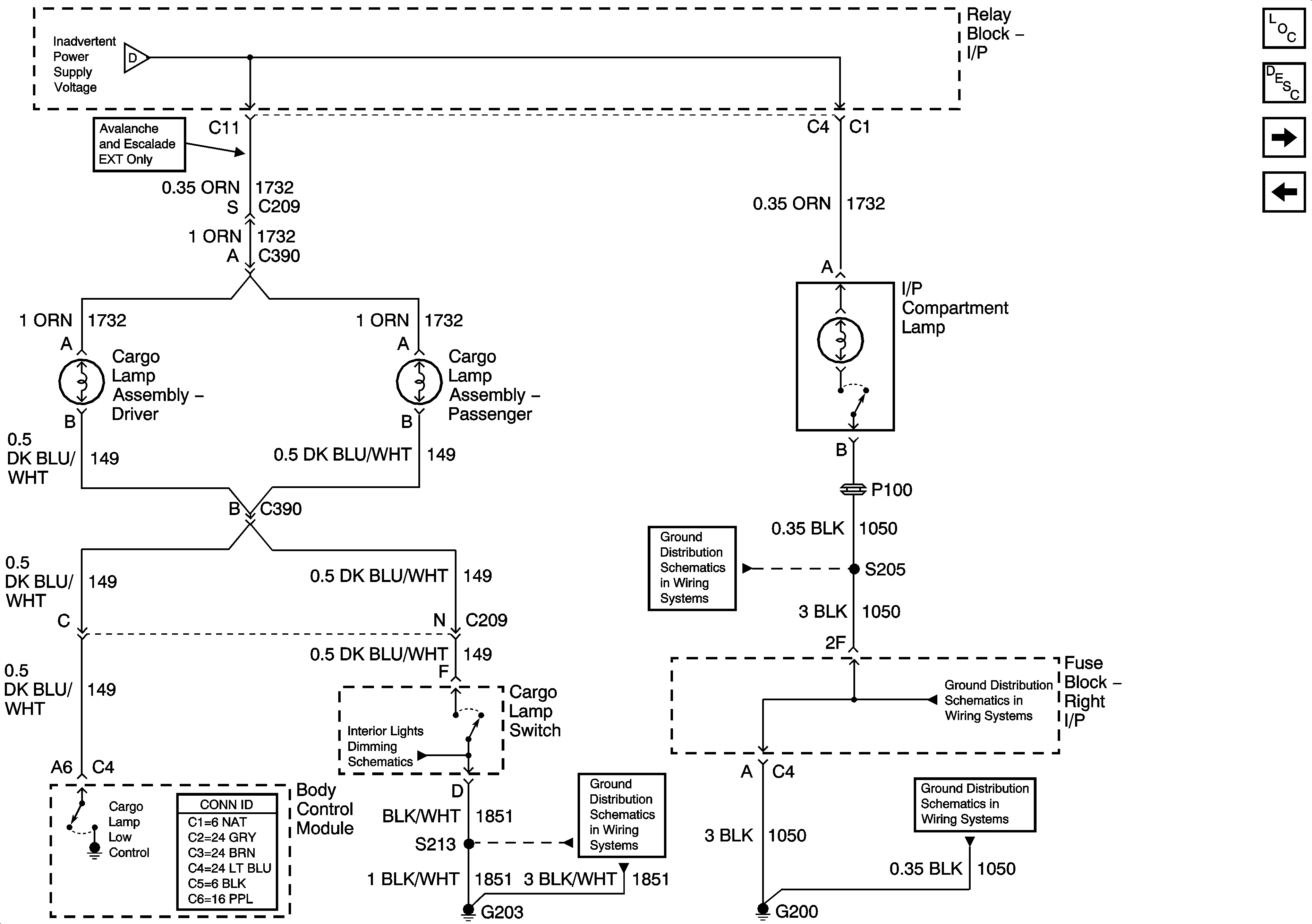
Figure 1:

Inadvertent Power Supply Voltage - 1 of 3 and Courtesy Lamp Supply Voltage - 1 of 4


Object Number: 884151  Size: FS
Master Electrical Component List
Interior Lighting Systems Description and Operation
Inadvertent Power Supply Voltage - 2 of 3
Headlights/DRL Controls
G203 - 2 Of 2
G203 - 2 Of 2
Inadvertent Power Supply Voltage - 2 of 3
Courtesy Lamp Supply Voltage - 2 of 4
G203 - 1 Of 2
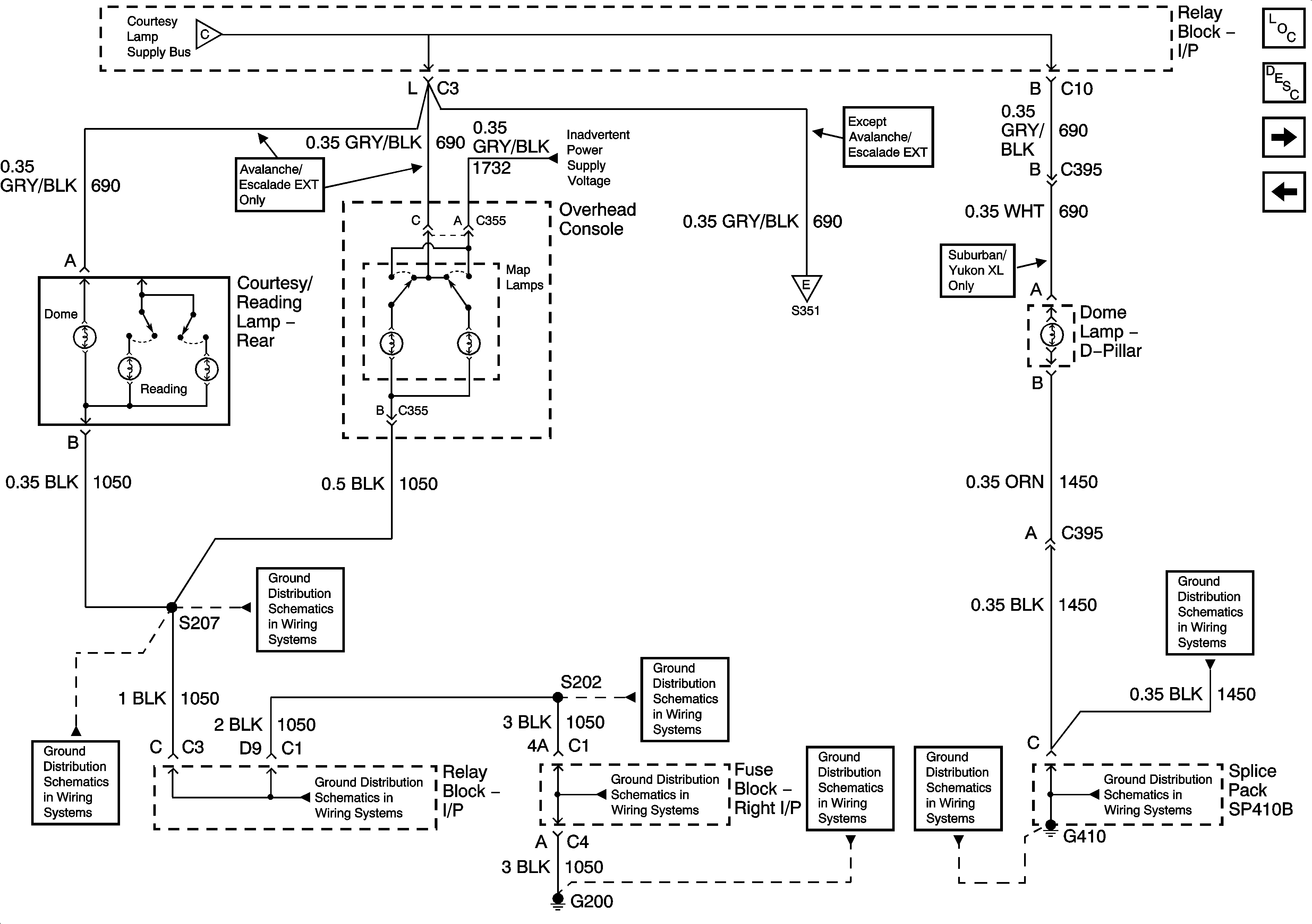
Figure 2:

Inadvertent Power Supply Voltage - 2 of 3


Object Number: 884158  Size: FS
Master Electrical Component List
Interior Lighting Systems Description and Operation
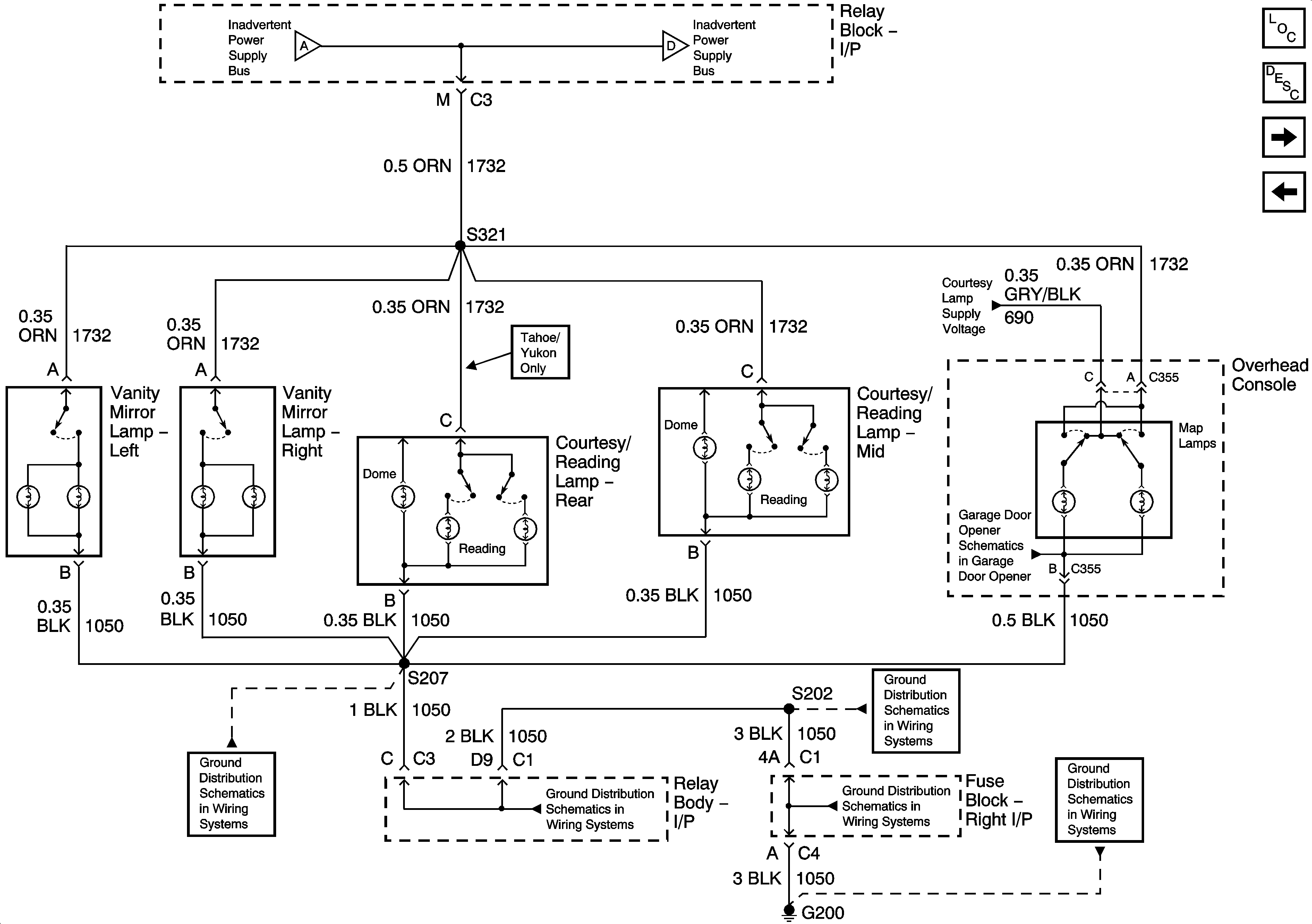
Inadvertent Power Supply Voltage - 3 of 3
Inadvertent Power Supply Voltage - 1 of 3 and Courtesy Lamp Supply Voltage 1 of 4
Inadvertent Power Supply Voltage - 1 of 3 and Courtesy Lamp Supply Voltage 1 of 4
Inadvertent Power Supply Voltage - 3 of 3
Courtesy Lamp Supply Voltage - 3 of 4
Garage Door Opener
G200 - 3 Of 3
G200 - 3 Of 3
G200 - 1 of 3
G200 - 1 of 3
G200 - 1 of 3
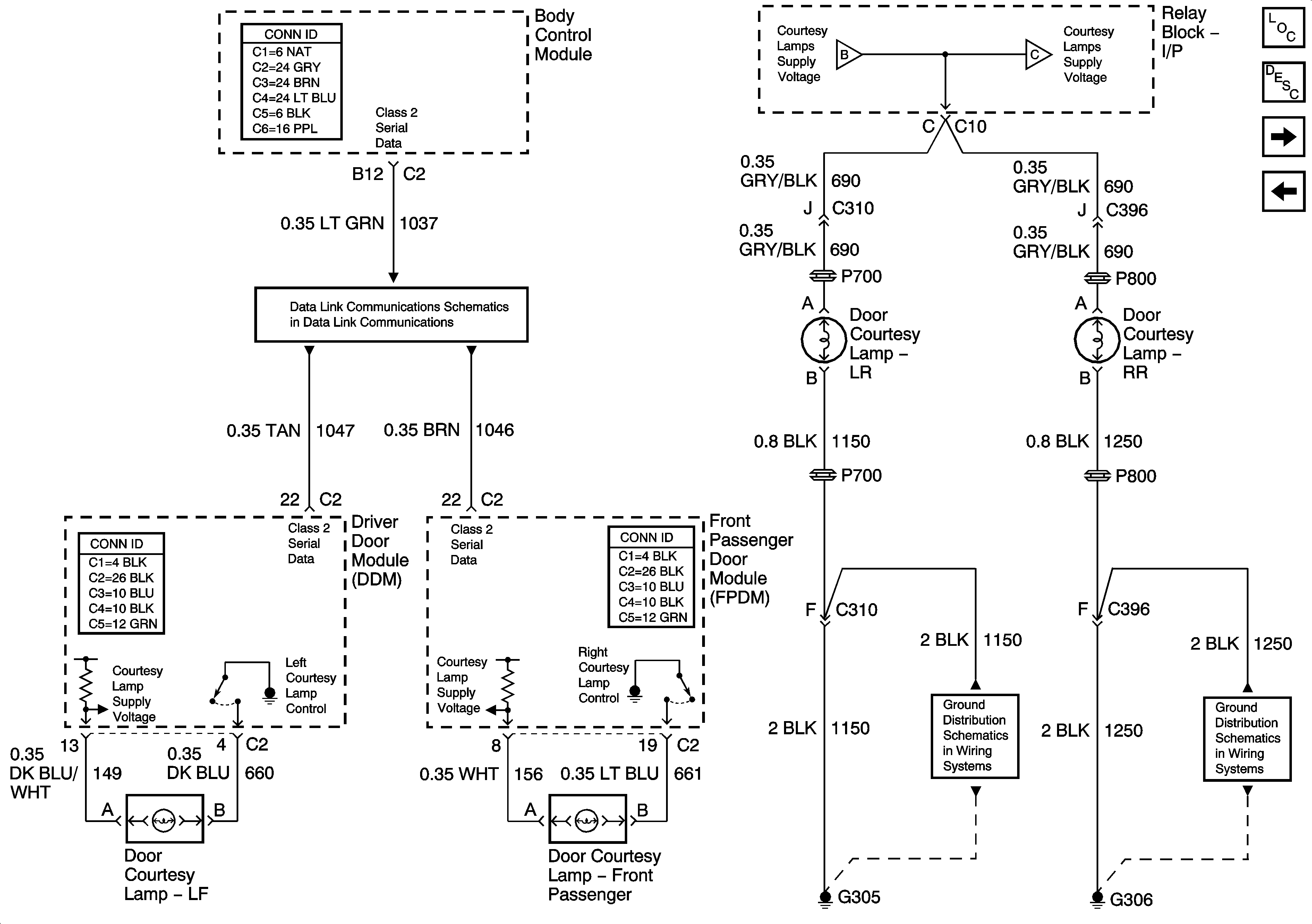
Figure 3:

Inadvertent Power Supply Voltage - 3 of 3


Object Number: 884161  Size: FS
Master Electrical Component List
Interior Lighting Systems Description and Operation
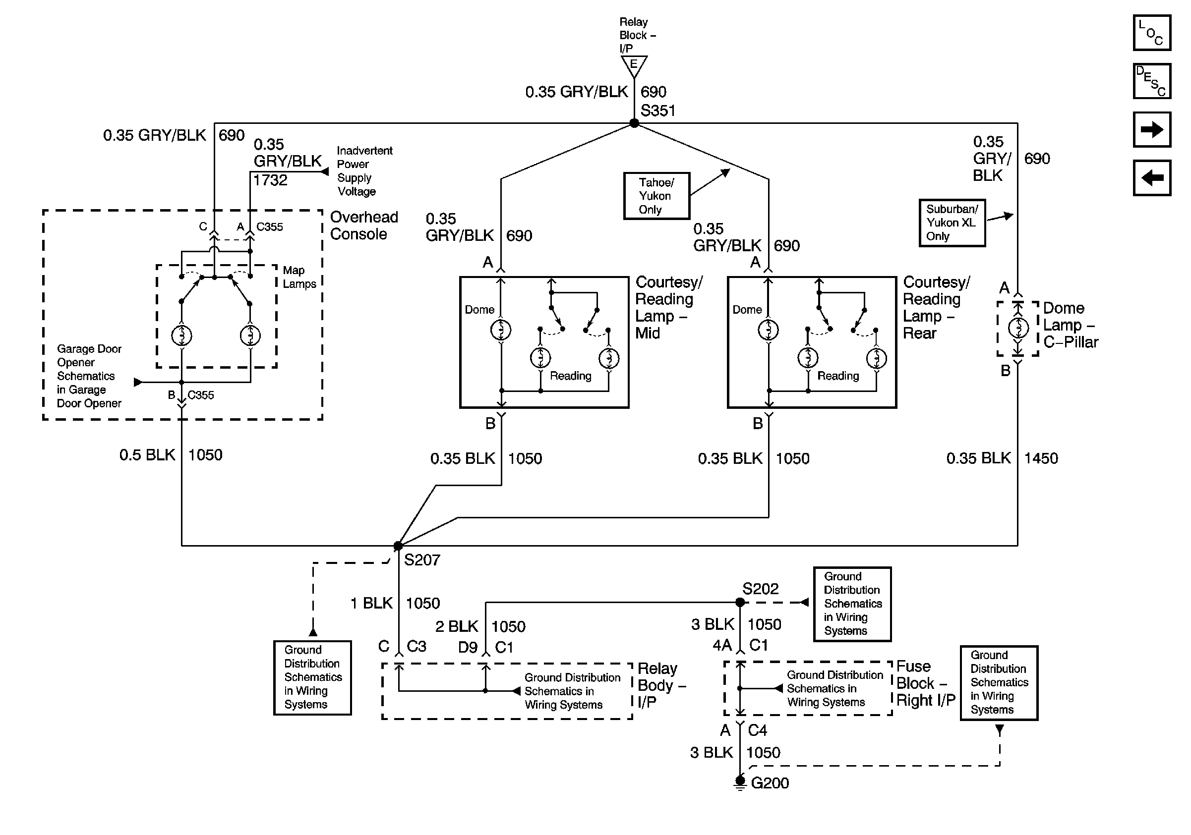
Courtesy Lamp Supply Voltage - 2 of 4
Inadvertent Power Supply Voltage - 2 of 3
Inadvertent Power Supply Voltage - 2 of 3
G200 - 2 Of 3
I/P Dimming Supply Voltage - 3 of 7
G203 - 1 Of 2
G200 - 1 of 3
G200 - 1 of 3
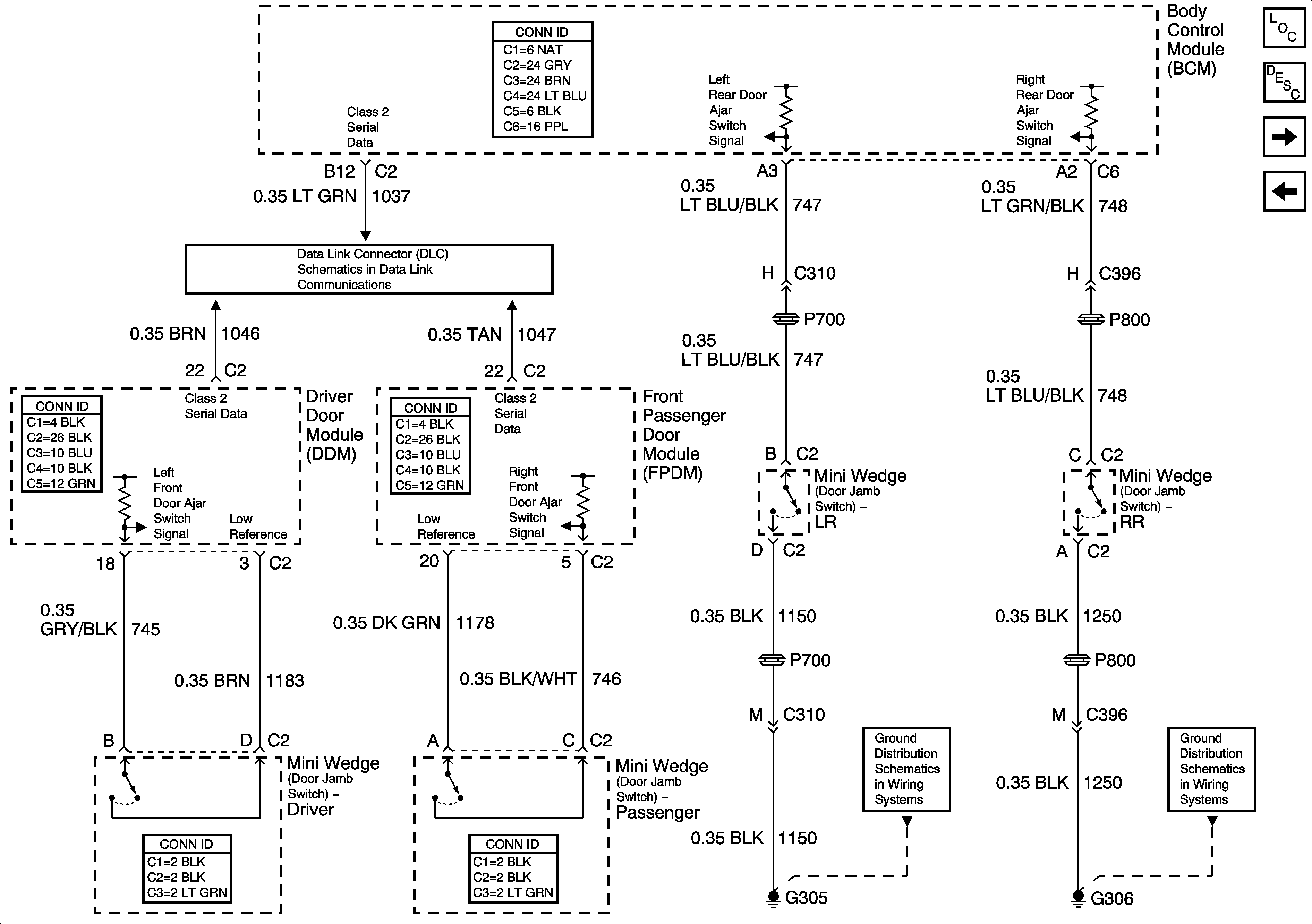
Figure 4:

Courtesy Lamp Supply Voltage - 2 of 4


Object Number: 884164  Size: FS
Master Electrical Component List
Interior Lighting Systems Description and Operation
Courtesy Lamp Supply Voltage - 3 of 4
Inadvertent Power Supply Voltage - 3 of 3
Inadvertent Power Supply Voltage - 1 of 3 and Courtesy Lamp Supply Voltage 1 of 4
Courtesy Lamp Supply Voltage - 3 of 4
G304, G305
G306
Figure 5:

Courtesy Lamp Supply Voltage - 3 of 4


Object Number: 884167  Size: FS
Master Electrical Component List
Interior Lighting Systems Description and Operation
Courtesy Lamp Supply Voltage - 4 of 4
Courtesy Lamp Supply Voltage - 2 of 4
Courtesy Lamp Supply Voltage - 2 of 4
Inadvertent Power Supply Voltage - 2 of 3
Courtesy Lamp Supply Voltage - 4 of 4
G200 - 3 Of 3
G410 - 1 Of 3
G200 - 3 Of 3
G200 - 3 Of 3
G200 - 1 of 3
G200 - 1 of 3
G200 - 1 of 3
G410 - 1 Of 3
G410 - 1 Of 3
Figure 6:

Courtesy Lamp Supply Voltage - 4 of 4


Object Number: 884170  Size: FS
Master Electrical Component List
Interior Lighting Systems Description and Operation
Door Jamb Switches - 1 of 2
Courtesy Lamp Supply Voltage - 3 of 4
Courtesy Lamp Supply Voltage - 3 of 4
Inadvertent Power Supply Voltage - 2 of 3
Garage Door Opener
G200 - 3 Of 3
G200 - 3 Of 3
G200 - 1 of 3
G200 - 1 of 3
G200 - 1 of 3
Figure 7:

Door Jamb Switches - 1 of 2


Object Number: 884174  Size: FS
Master Electrical Component List
Interior Lighting Systems Description and Operation
Door Jamb Switches - 2 of 2
Courtesy Lamp Supply Voltage - 4 of 4
SP205 - 1 of 2
G304, G305
G306
Figure 8:

Door Jamb Switches - 2 of 2


Object Number: 884176  Size: FS
Master Electrical Component List
Interior Lighting Systems Description and Operation
Door Jamb Switches - 1 of 2
Rear Wiper/Washer Control
G410 - 3 Of 3
G410 - 2 Of 3
G410 - 1 Of 3