GM Service Manual Online
For 1990-2009 cars only
Makes
🢒
GMC_Truck
🢒
2003
🢒
Yukon - 2WD
🢒
Body and Accessories
🢒
Wiring Systems
🢒 Cigar Lighter/Power Outlet Schematics
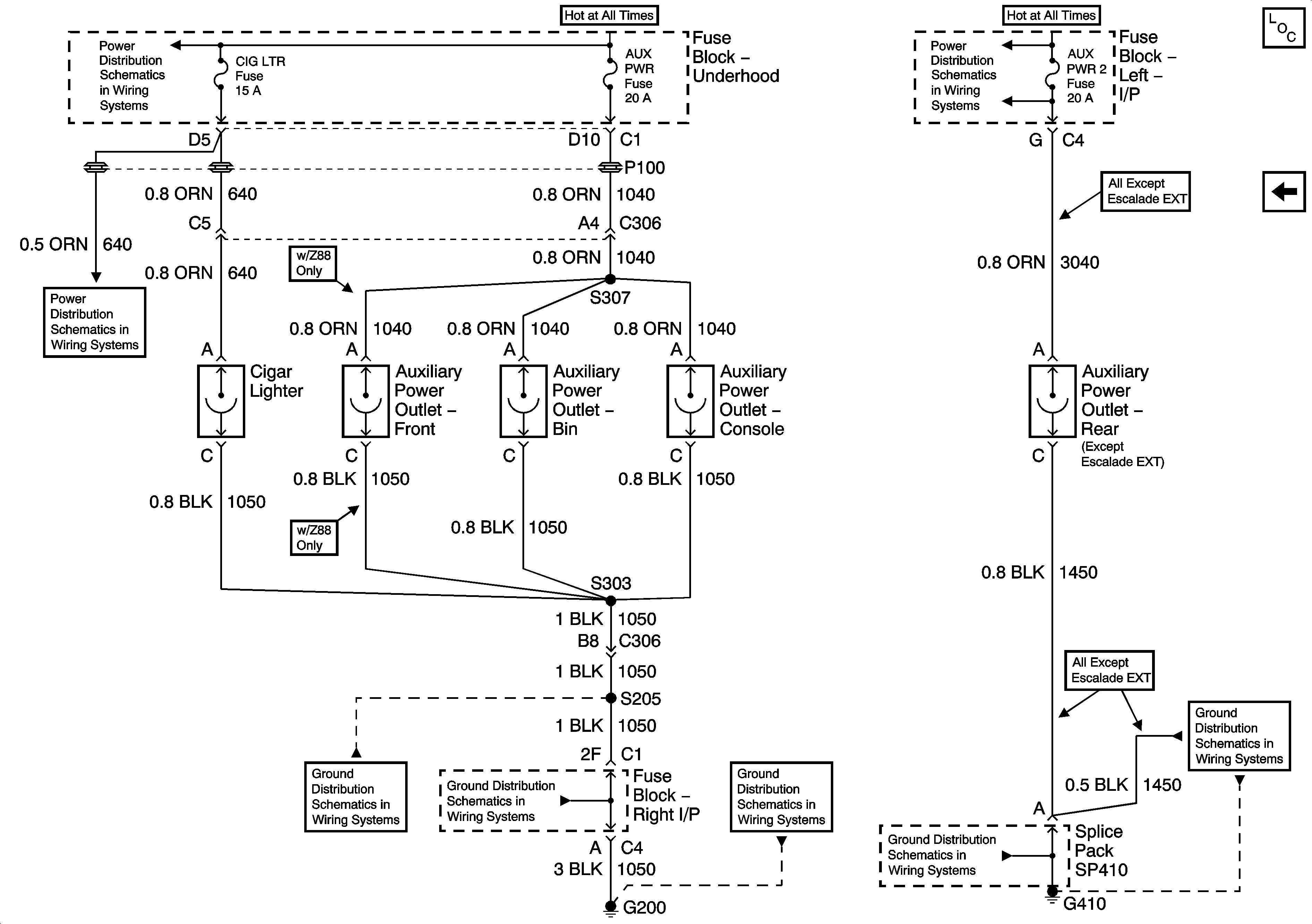
Figure
1:
Base
Master Electrical Component List
UQ7 Except Y91
B+ Bus Bar - 1 of 2
INFO, CGR LTR
LBEC 1, LBEC 2, MBEC 1
G200 - 1 of 3
G200 - 2 Of 3
G200 - 1 of 3
G410 - 1 Of 3
G410 - 1 Of 3
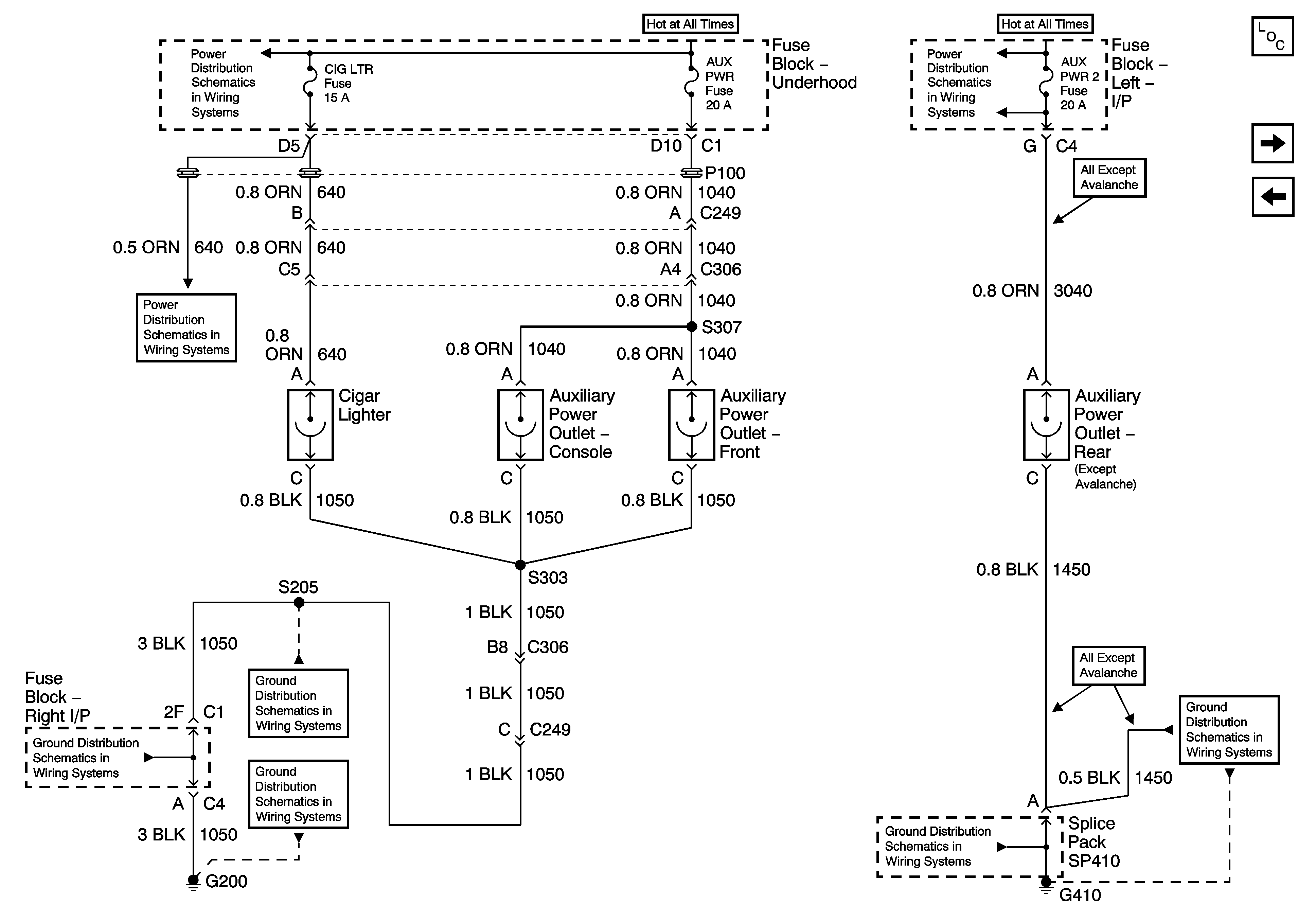
Figure
2:
UQ7 - Except Y91
Master Electrical Component List
Y91 Only
Base
B+ Bus Bar - 1 of 2
INFO, CGR LTR
LBEC 1, LBEC 2, MBEC 1
G200 - 1 of 3
G200 - 2 Of 3
G200 - 1 of 3
G410 - 1 Of 3
G410 - 1 Of 3
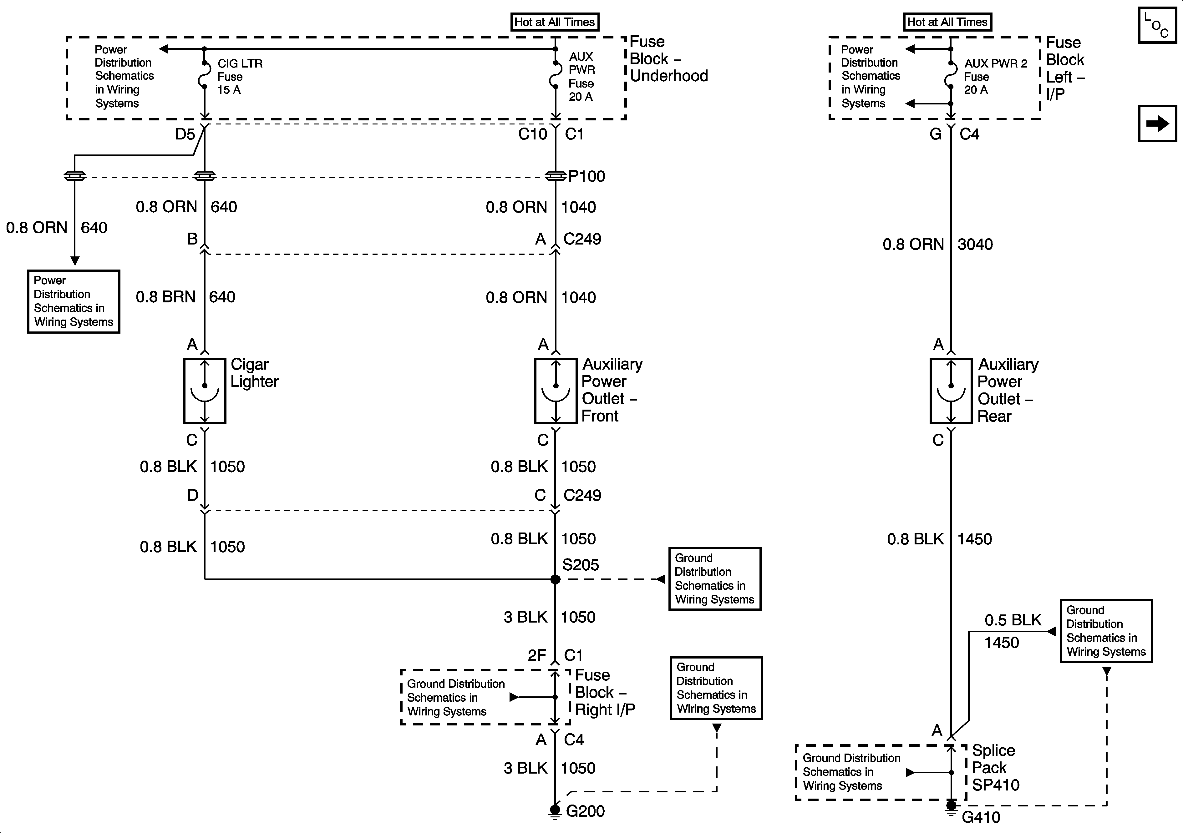
Figure
3:
Y91 Only
Master Electrical Component List
UQ7 Except Y91
B+ Bus Bar - 1 of 2
LBEC 1, LBEC 2, MBEC 1
INFO, CGR LTR
G200 - 2 Of 3
G200 - 1 of 3
G200 - 1 of 3
G410 - 1 Of 3
G410 - 1 Of 3