GM Service Manual Online
For 1990-2009 cars only
Makes
🢒
GMC_Truck
🢒
2003
🢒
Yukon - 2WD
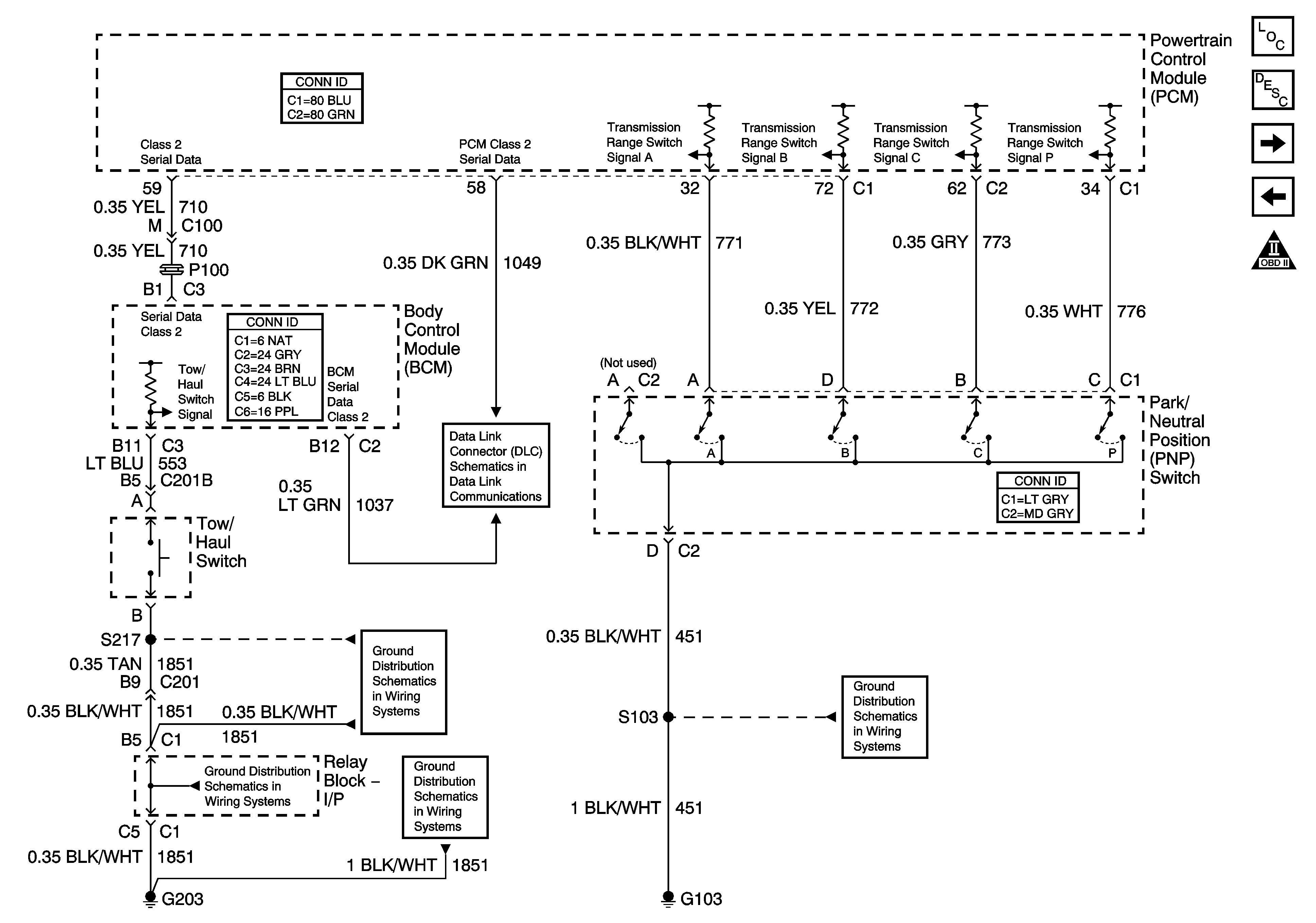
🢒 Tow/Haul Switch and PNP Switch Inputs
Tow/Haul Switch and PNP Switch Inputs
Tow/Haul Switch and PNP Switch Inputs
Master Electrical Component List
Electronic Component Description
Vehicle Speed Signal and 4WD Low Signal
Switch Inputs
Automatic Transmission Schematic Icons
SP205 - 2 of 2
G203 - 2 Of 2
G203 - 1 Of 2
G203 - 1 Of 2
G102, G103