GM Service Manual Online
For 1990-2009 cars only
Makes
🢒
GMC_Truck
🢒
2003
🢒
Yukon - 2WD
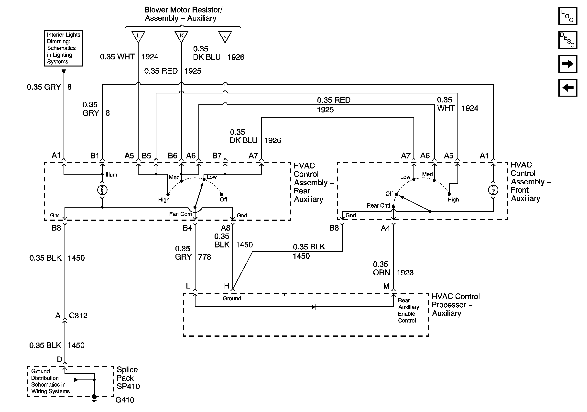
🢒 Auxiliary HVAC w/Heat and A/C - 2 of 3
Auxiliary HVAC w/Heat and A/C - 2 of 3
Auxiliary HVAC w/ Heat and A/C - 2 of 3
Master Electrical Component List
Air Delivery Description and Operation
Auxiliary HVAC w/Heat and A/C - 3 of 3
Auxiliary HVAC w/Heat and A/C - 1 of 3
I/P Dimming Supply Voltage - 6 of 7
G410 - 1 Of 3
Auxiliary HVAC w/Heat and A/C - 1 of 3