GM Service Manual Online
For 1990-2009 cars only
Makes
🢒
Isuzu
🢒
2001
🢒
Isuzu T-Series (Truck Line C)
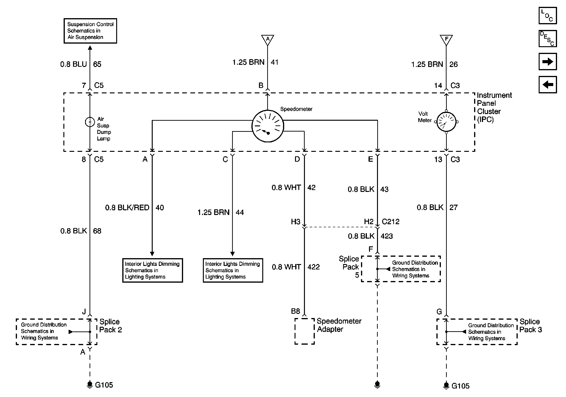
🢒 Air Susp Dump Lamp, Speedometer and Volt Meter
Air Susp Dump Lamp, Speedometer and Volt Meter
Air Susp Dump Lamp, Speedometer and Volt Meter
Master Electrical Component List
Indicator/Warning Message Description and Operation
Fuel, Temperature, Oil Pressure and Check Gauges
Fuse Voltage Supply
Suspension Controls Schematics
Fuse Voltage Supply
Fuse Voltage Supply
Splice Pack 2
Interior Lights Dimming Schematics
Interior Lights Dimming Schematics
G105 Continued, Splice Pack 5, S338
G407, Splice Pack 3, S120, S121, S122, S150, S242, S361