GM Service Manual Online
For 1990-2009 cars only
Figure 1:

DIM Power and Grounds


Object Number: 625338  Size: FS
Master Electrical Component List
Body Control System Description and Operation
DIM Ignition Inputs
IGN SW Fuse (Fuse Block-Rear)
Serial Data Class 2
G200
Battery Feed to the Fuse Block-Rear
IGN SW Fuse (Fuse Block-Rear)
Battery Feed to the Fuse Block-Rear
Figure 2:

DIM Ignition Inputs


Object Number: 625339  Size: FS
Master Electrical Component List
Body Control System Description and Operation
DIM Input/Output (1 of 2)
DIM Power and Grounds
IGN SW (Fuse Block-Rear)
IGN SW (Fuse Block-Rear)
IGN SW (Fuse Block-Rear)
Figure 3:

DIM Input/Output (1 of 2)


Object Number: 565234  Size: FS
Master Electrical Component List
Body Control System Description and Operation
DIM Input/Output (2 of 2)
DIM Ignition Inputs
Headlamp Switch and Sunload Assembly
DRL, High Beam Headlamps, Headlamp Dimmer Switch
Headlamp Switch and Sunload Assembly
License Plate Lamps, Park Lamp Relay
Low Beam Headlamps
DRL, High Beam Headlamps, Headlamp Dimmer Switch
Fog Lamps-Front
A/C Orifice Solenoid
Figure 4:

DIM Input/Output (2 of 2)


Object Number: 565246  Size: FS
Master Electrical Component List
Body Control System Description and Operation
IPM Power and Grounds
DIM Input/Output (1 of 2)
Reverse Lockout Control
Steering Wheel Controls
Horns
Compressor Control W/LX5 (V6)
Windshield Wiper Switch and Fuse
Dimming Control
Instrument Panel/Console Dimming
Figure 5:

IPM Power and Grounds


Object Number: 625340  Size: FS
Master Electrical Component List
Body Control System Description and Operation
IPM Input/Output (1 of 2)
DIM Input/Output (2 of 2)
Battery Feed to the Fuse Block-Rear
IGN 3 RR, ABS, HVAC Fuses (Fuse Block-Rear)
Serial Data Class 2
G201 (2 of 2)
G201 (2 of 2)
Figure 6:

IPM Input/Output (1 of 2)


Object Number: 581601  Size: FS
Master Electrical Component List
Body Control System Description and Operation
IPM Input/Output (2 of 2)
IPM Power and Grounds
Dimming Control
Dimming Control
Headlamp Switch and Sunload Assembly
Indicators and Traction Control Switch
Fog Lamps-Front
Courtesy Lamps-Right
Overhead Reading, Courtesy, and Vanity Mirror Lamps
Audible Warnings
Heater AC Control
Figure 7:

IPM Input/Output (2 of 2)


Object Number: 625341  Size: FS
Master Electrical Component List
Body Control System Description and Operation
RIM Power and Grounds
IPM Input/Output (1 of 2)
Air Delivery
Air Temperature Sensors
Blower Control
Figure 8:

RIM Power and Grounds


Object Number: 625343  Size: FS
Master Electrical Component List
Body Control System Description and Operation
Rim Input/Output (1 of 2)
IPM Input/Output (2 of 2)
IGN SW Fuse (Fuse Block-Rear)
IGN SW Fuse (Fuse Block-Rear)
Serial Data Class 2
G302
IGN-1, VENT SOL, SIR Fuses and IGN 1 Relay (Fuse Block-Rear)
IGN SW (Fuse Block-Rear)
Battery Feed to the Fuse Block-Rear
G402
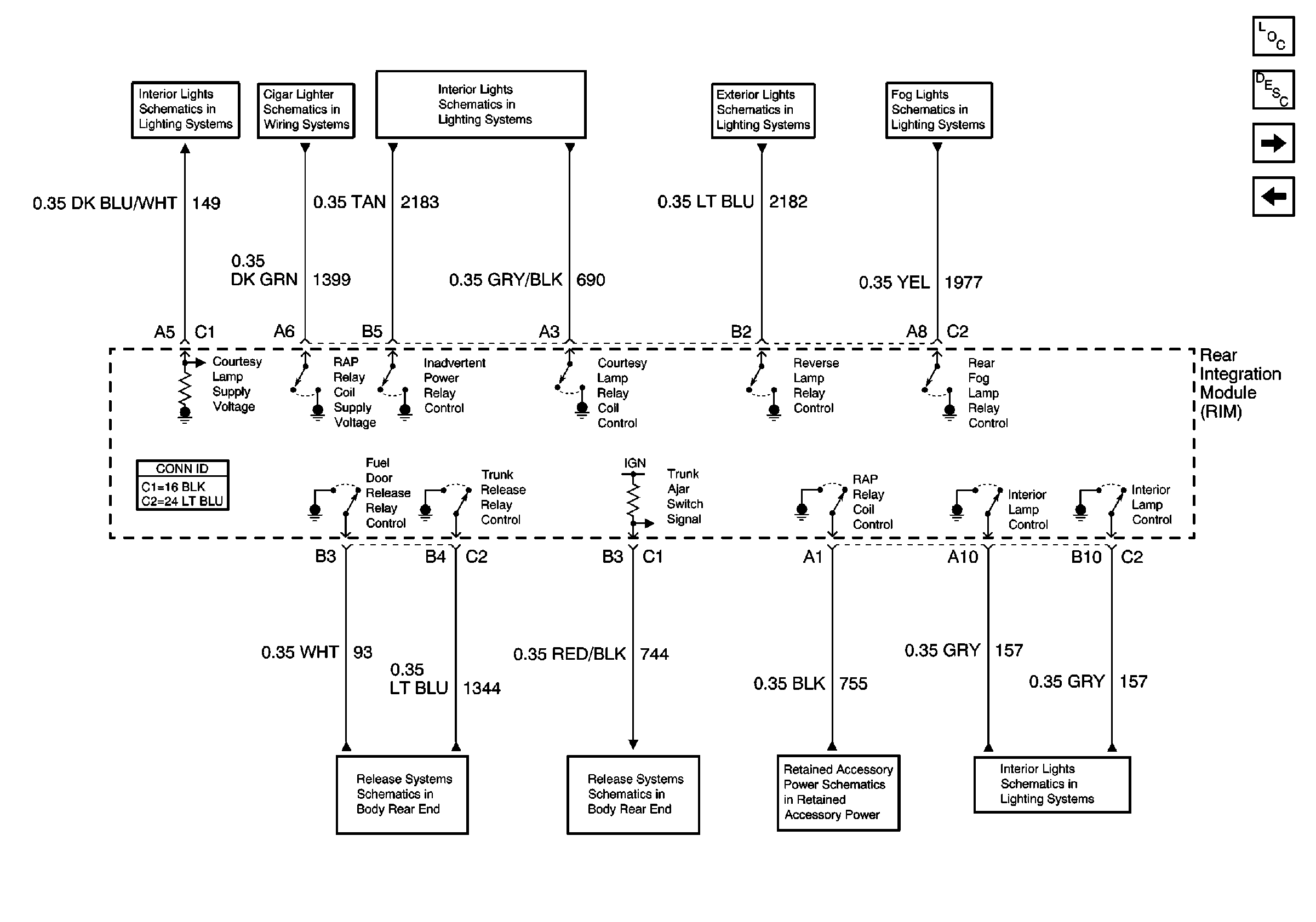
Figure 9:

Rim Input/Output (1 of 2)


Object Number: 581598  Size: FS
Master Electrical Component List
Body Control System Description and Operation
RIM Input/Output (2 of 2)
RIM Power and Grounds
Courtesy Lamps-Right
Cigar Lighter/Auxiliary Outlets
Interior and Front Courtesy Lamp Relays
Backup Lamps
Fog Lamps-Rear
Body Rear End
Body Rear End
Retained Accessory Power (RAP)
Courtesy Lamps-Right
Figure 10:

RIM Input/Output (2 of 2)


Object Number: 565261  Size: FS
Master Electrical Component List
Body Control System Description and Operation
Rim Input/Output (1 of 2)
Front Heated Seats (Partial)
Defogger
Automatic Level Control Suspension Schematics
Power and Grounds