GM Service Manual Online
For 1990-2009 cars only
Makes
🢒
Oldsmobile
🢒
2003
🢒
Aurora
🢒 Ignition Control Modules
Ignition Control Modules
Ignition Control Modules
Master Electrical Component List
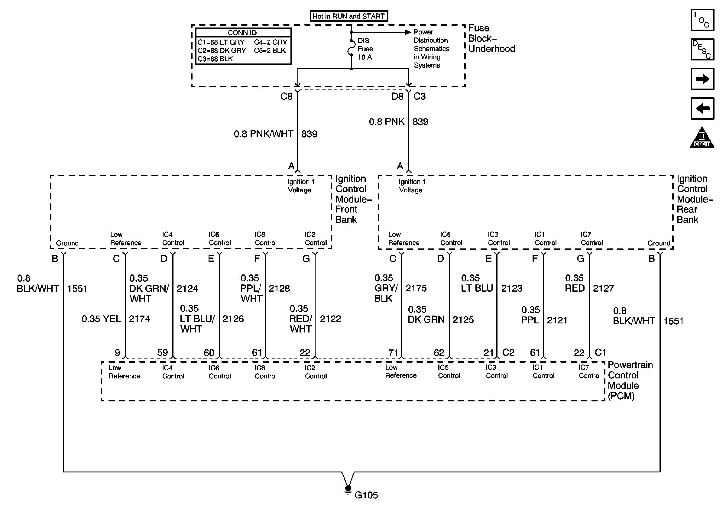
Electronic Ignition (EI) System Description
PCM Inputs
Power to the PCM and Ignition Switch Circuits
OBD II Symbol Description Notice
Battery Feed to the Fuse Block-Underhood