GM Service Manual Online
For 1990-2009 cars only
Makes
🢒
Oldsmobile
🢒
2003
🢒
Bravada
🢒 Ignition Controls- Sensors
Ignition Controls- Sensors
Igniton Controls -- Sensors
Master Electrical Component List
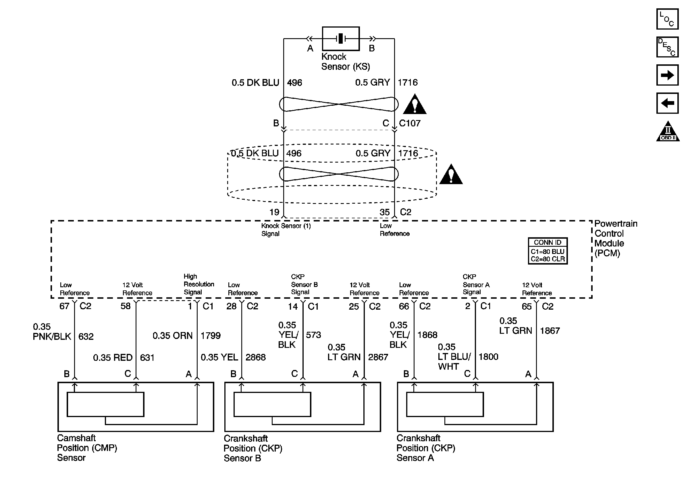
Knock Sensor (KS) System Description
Fuel Controls- Fuel Pump Controls
Ignition Controls- Ignition System
OBD II Symbol Description Notice
Engine Controls Schematic Icons
Engine Controls Schematic Icons