GM Service Manual Online
For 1990-2009 cars only
Makes
🢒
Oldsmobile
🢒
1999
🢒
Intrigue
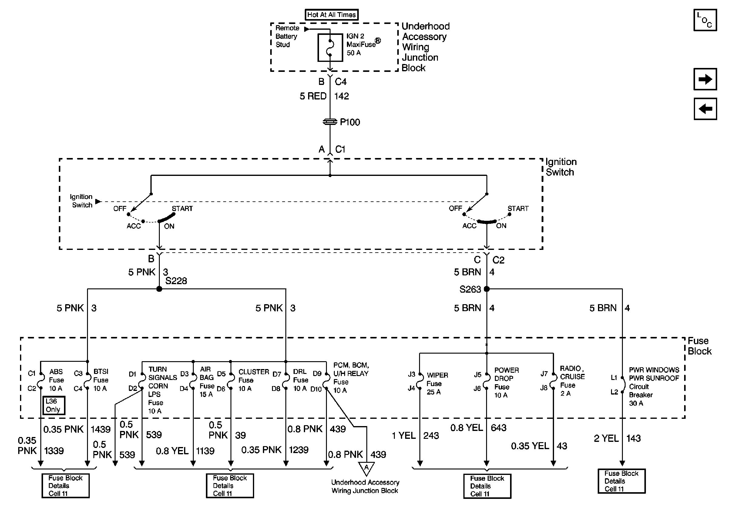
🢒 Cell 10: IGN 2 MaxiFuse®, and Ignition Switch
Cell 10: IGN 2 MaxiFuse®, and Ignition Switch
Cell 10: IGN 2 MaxiFuse®, and Ignition Switch
Power and Grounding Components
Cell 10: IGN 1 MaxiFuse®, and Ignition Switch
Cell 10: Battery, Generator, EBTCM, and Underhood Accessory Wiring Junction Block
Cell 10: Battery, Generator, EBTCM, and Underhood Accessory Wiring Junction Block
Cell 10: ABS, and BTSI Fuses
Cell 10: AIR BAG, CLUSTER, DRL, PCM BCM U/H RELAY, and TURN SIGNALSCORN LPS Fuses
Cell 10: Underhood Accessory Wiring Junction Block
Cell 10: POWER DROP, RADIO CRUISE, RED STRG WHL ILLUM, and WIPER Fuses
Cell 10: POWER SEATS, PWR WINDOWS PWR SUNROOF, and REAR DEFOG CIRcUIT Breakers
Cell 10: IGN 1 MaxiFuse®, and Ignition Switch