GM Service Manual Online
For 1990-2009 cars only
Figure 1:

Power, Ground, Radio Antenna Module and Remote CD Changer


Object Number: 592780  Size: FS
Entertainment Components
Radio/Audio System Circuit Description
Cell 150: Base Speaker System w/o RPO U85
Cell 14: LH IP Ground G203
Handling ESD Sensitive Parts Notice
Handling ESD Sensitive Parts Notice
Cell 14: LH IP Ground G203
SIR Handling Caution
Cell 10: POWER DROP, RADIO CRUISE, RED STRG WHL ILLUM, and WIPER Fuses
Cell 10: ABS BCM, CD CHANGER, CIGAR LTR AUX POWER, INADV POWER BUS,and RADIO HVAC RFA CLUSTER DATA LINK Fuses
Cell 10: ABS BCM, CD CHANGER, CIGAR LTR AUX POWER, INADV POWER BUS,and RADIO HVAC RFA CLUSTER DATA LINK Fuses
Cell 117: I/P Lamp Dimmer Switch, Instrument Cluster, Radio, Heater-A/C ControL
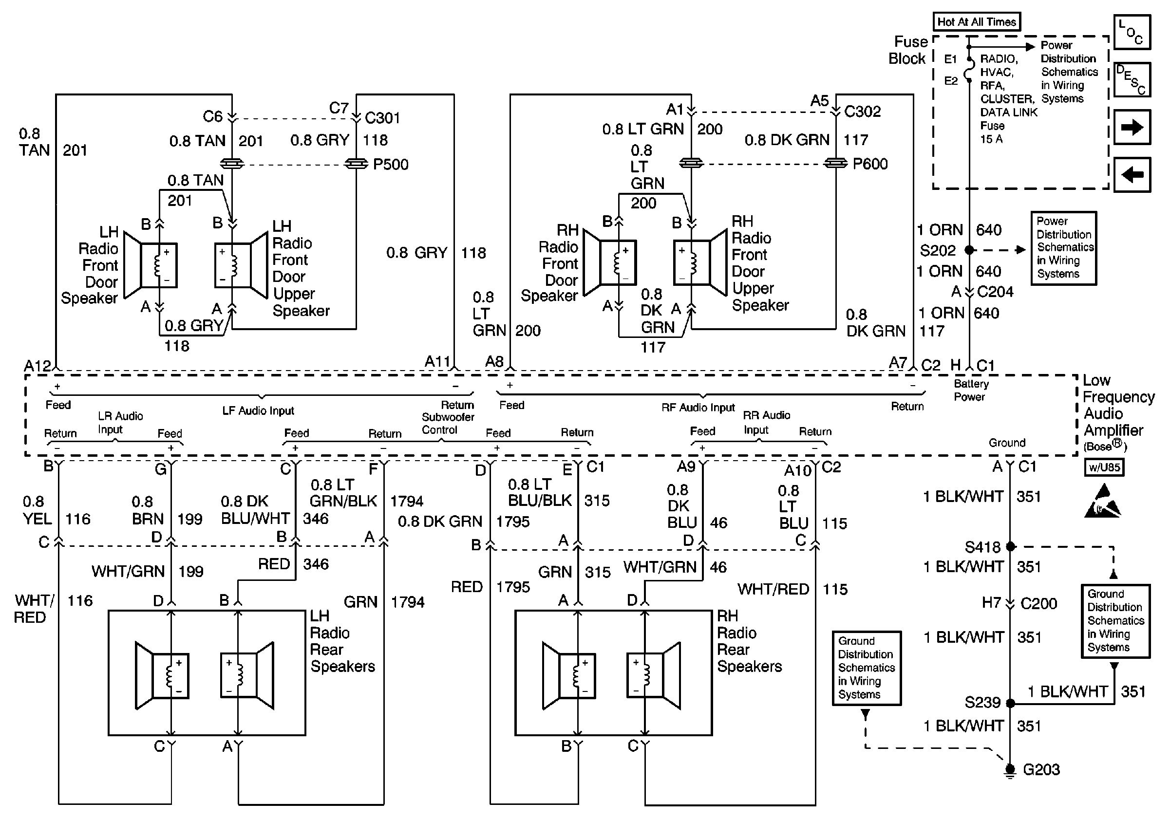
Figure 2:

Speakers UQ3


Object Number: 592781  Size: FS
Entertainment Components
Radio/Audio System Circuit Description
Cell 150: CD Player
Cell 150: Power, Ground, Radio Antenna Module and Steering Wheel Control Switch
Handling ESD Sensitive Parts Notice
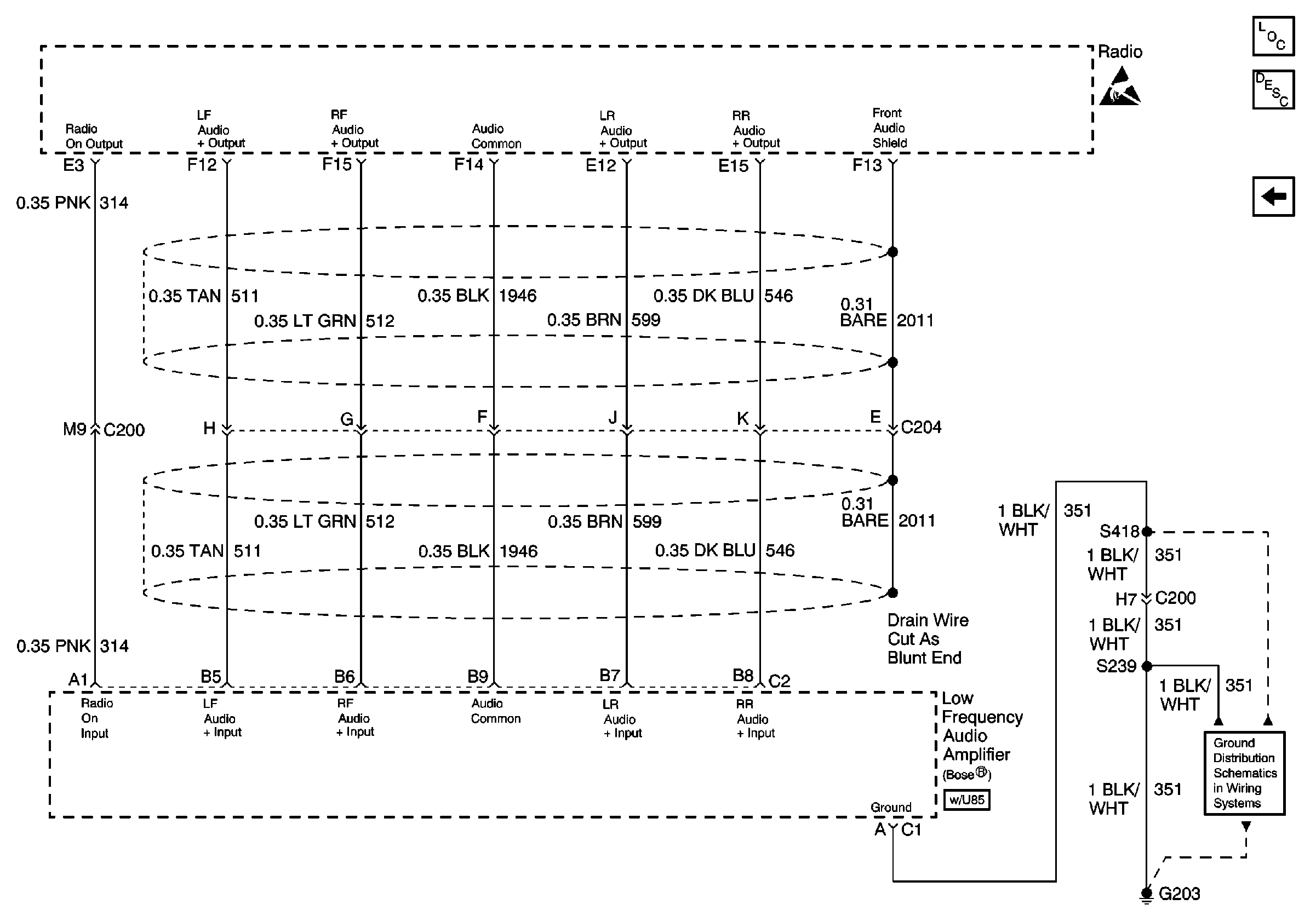
Figure 3:

Low Frequency Audio Amplifier and Speakers U85


Object Number: 592782  Size: FS
Entertainment Components
Radio/Audio System Circuit Description
Cell 150: Bose Speaker System w/ RPO U85
Cell 14: LH IP Ground G203
Handling ESD Sensitive Parts Notice
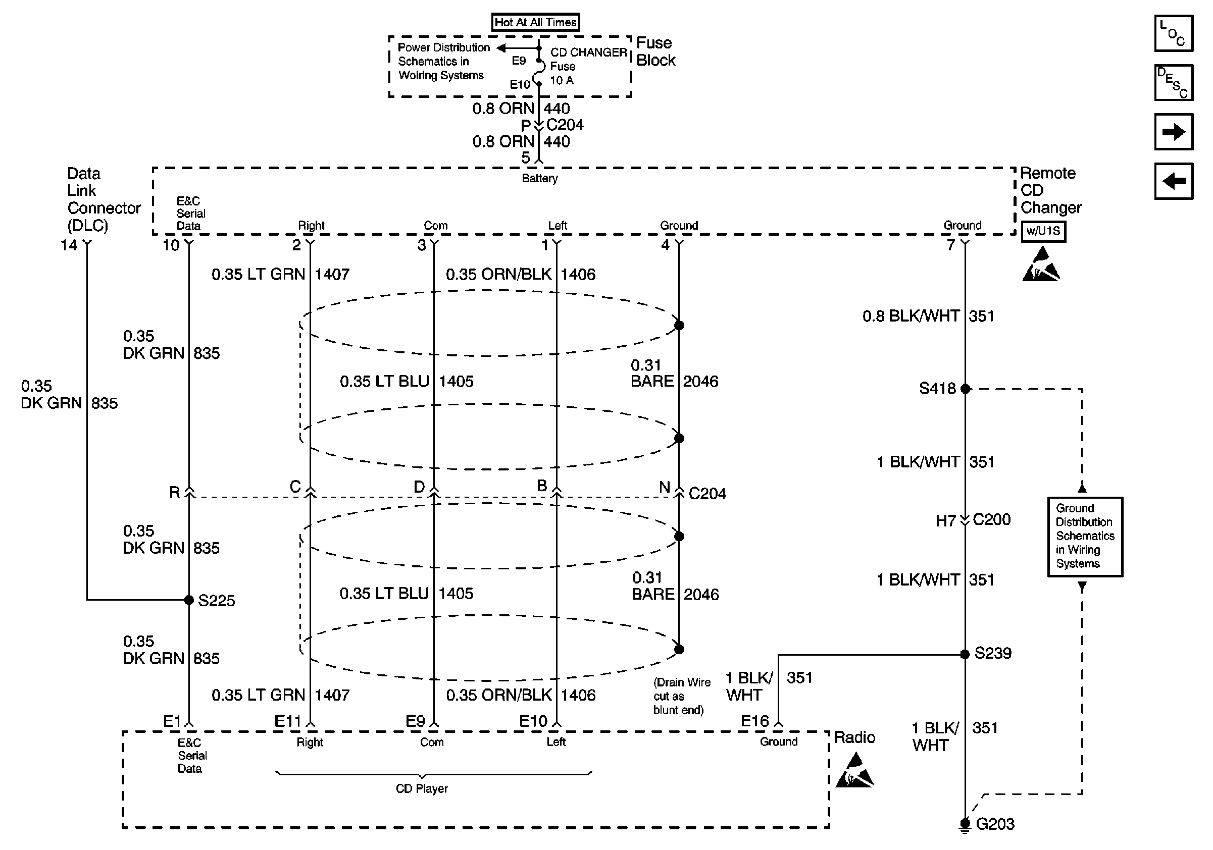
Figure 4:

DLC and Remote CD Changer


Object Number: 592784  Size: FS
Entertainment Components
Radio/Audio System Circuit Description
Cell 150: Bose Speaker System w/ RPO U85
Cell 150: Base Speaker System w/o RPO U85
Handling ESD Sensitive Parts Notice
Cell 14: LH IP Ground G203
Handling ESD Sensitive Parts Notice
Cell 10: ABS BCM, CD CHANGER, CIGAR LTR AUX POWER, INADV POWER BUS,and RADIO HVAC RFA CLUSTER DATA LINK Fuses
Figure 5:

Low Frequency Audio Amplifier U85


Object Number: 592785  Size: FS
Entertainment Components
Radio/Audio System Circuit Description
Cell 150: Low Frequency Audio Amplifier w/ RPO U85
Cell 150: CD Player
Cell 10: ABS BCM, CD CHANGER, CIGAR LTR AUX POWER, INADV POWER BUS,and RADIO HVAC RFA CLUSTER DATA LINK Fuses
Handling ESD Sensitive Parts Notice
Cell 14: LH IP Ground G203
Cell 14: LH IP Ground G203