GM Service Manual Online
For 1990-2009 cars only
Makes
🢒
Oldsmobile
🢒
2002
🢒
Silhouette Ext.
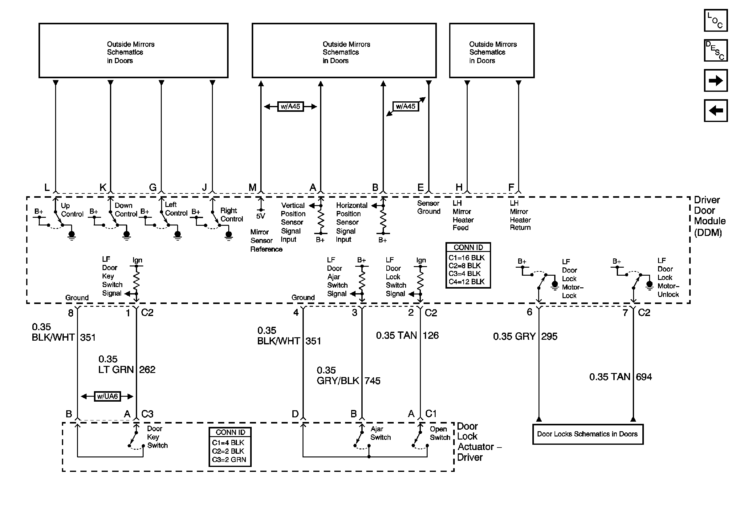
🢒 DDM Inputs/Outputs
DDM Inputs/Outputs
DDM Inputs/Outputs
Master Electrical Component List
Left Mirror (w/o A45)
Left Mirror (w/A45)
Heated Mirrors (DK5)
Left Front Door
LRDM
PDM Power and Ground