GM Service Manual Online
For 1990-2009 cars only
Makes
🢒
Pontiac
🢒
2000
🢒
Bonneville
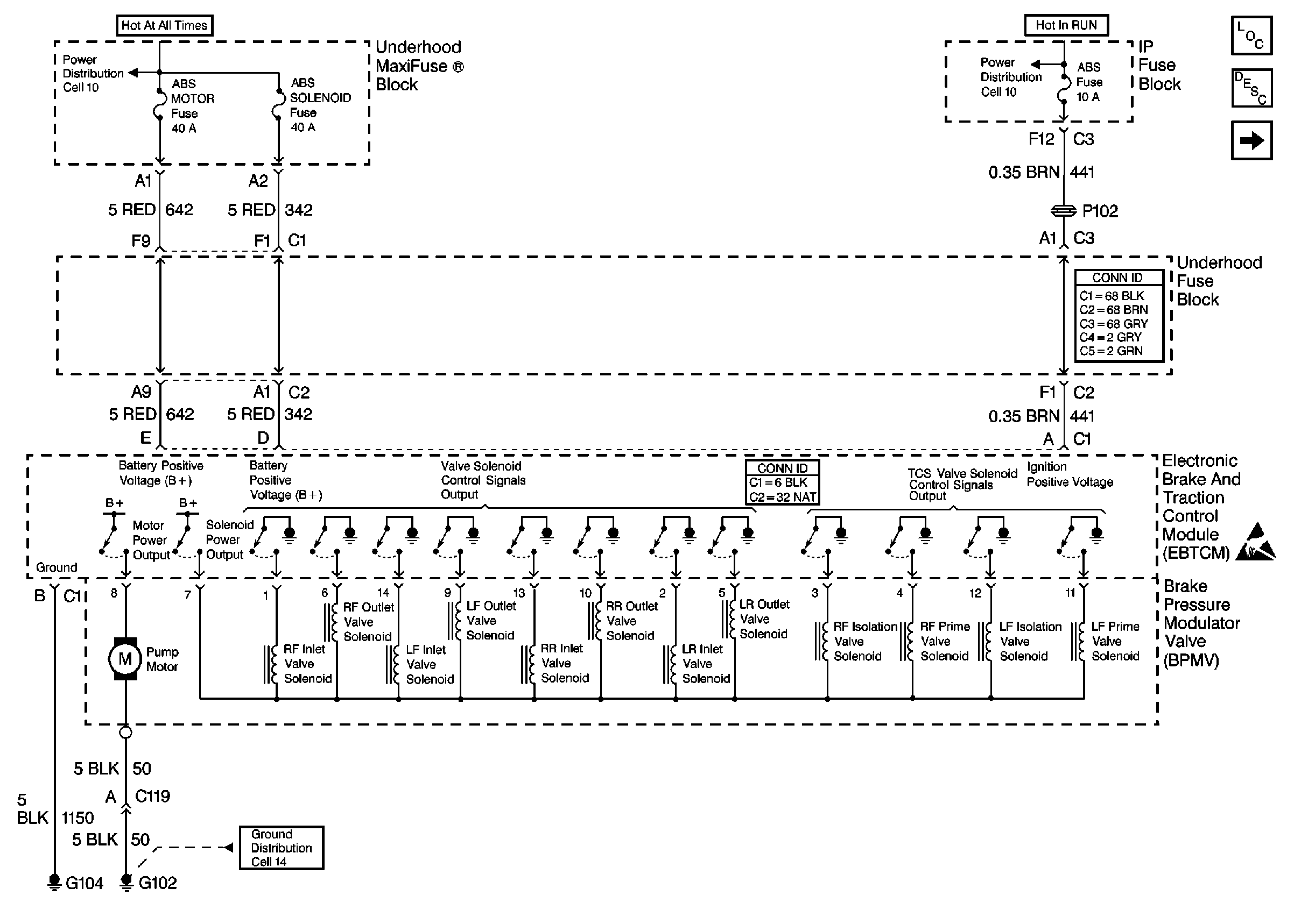
🢒 Cell 44: PWR, GND, EBCM/EBTCM, BPMV Motor and Solenoids
Cell 44: PWR, GND, EBCM/EBTCM, BPMV Motor and Solenoids
Cell 44: PWR, GND, EBCM/EBTCM, BPMV Motor and Solenoids
ABS Components
ABS Description
Cell 44: Indicators and Stoplamp/BTSI Switch
Handling ESD Sensitive Parts Notice
Cell 10: IGN SEN, ABS, RUN, AUX and AUXOT LT
Cell 14: G101, G102 and G103
Cell 10: BATT 1, THFT, BLO MOT, COOL FAN1, IGN, BATT 2, HDLP, AUX, RAP, ABS Solenoid, ABS Motor and RUN Fuses