GM Service Manual Online
For 1990-2009 cars only
Makes
🢒
Pontiac
🢒
2000
🢒
Bonneville
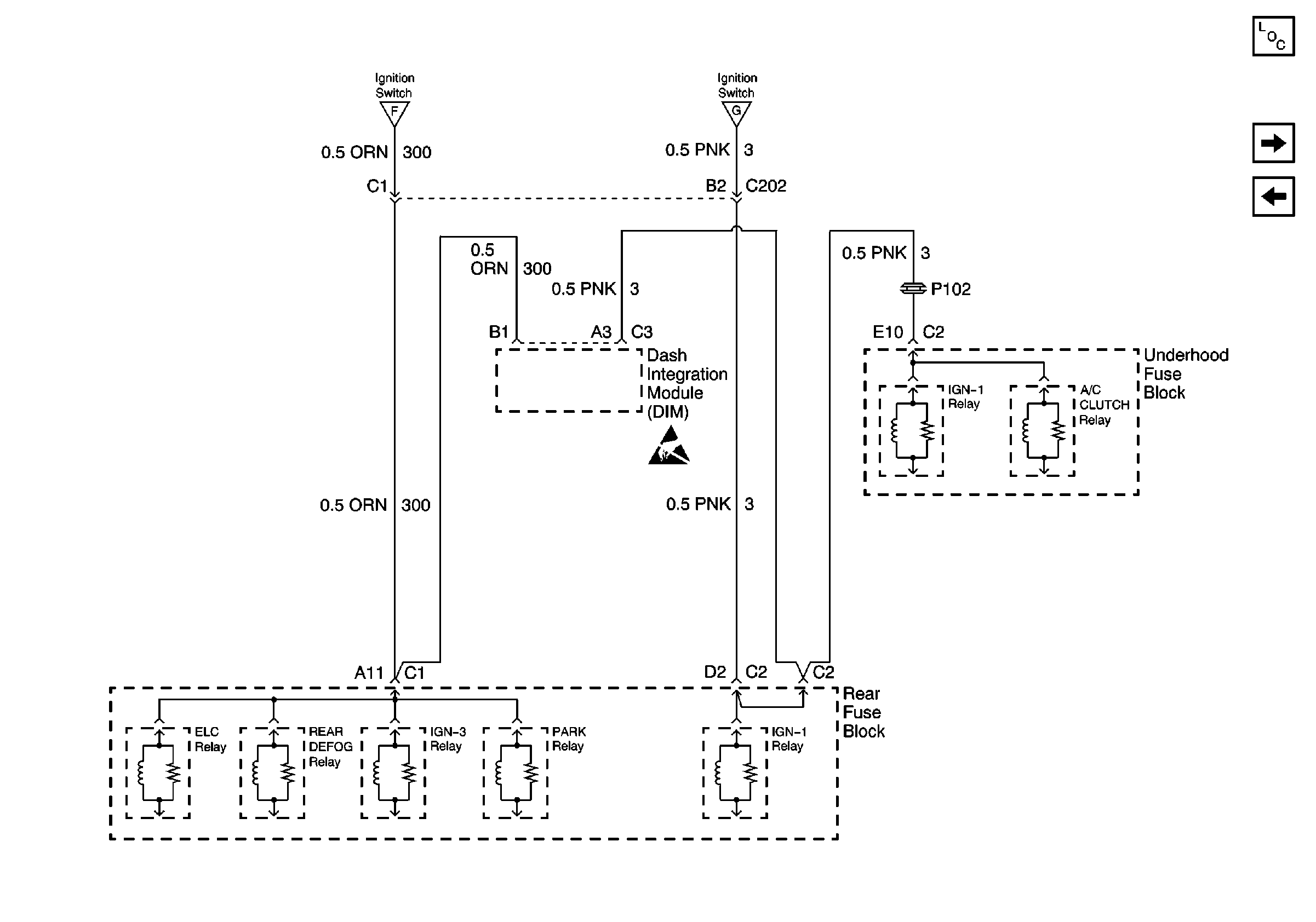
🢒 Ignition Switch (2 of 2)
Ignition Switch (2 of 2)
Ignition Switch (2 of 2)
Power and Grounding Components
IGN-1, VENT SOL and SIR Fuse (Rear Fuse Block)
Ignition Switch (1 of 2)
Ignition Switch (1 of 2)
Ignition Switch (1 of 2)
Handling ESD Sensitive Parts Notice
G103
Compressor Control W/CJ2
Automatic Level Control Suspension Schematics
Rear Window Defogger
G302
G302
Park Lamp Relay