GM Service Manual Online
For 1990-2009 cars only
Makes
🢒
Pontiac
🢒
2001
🢒
Grand Am
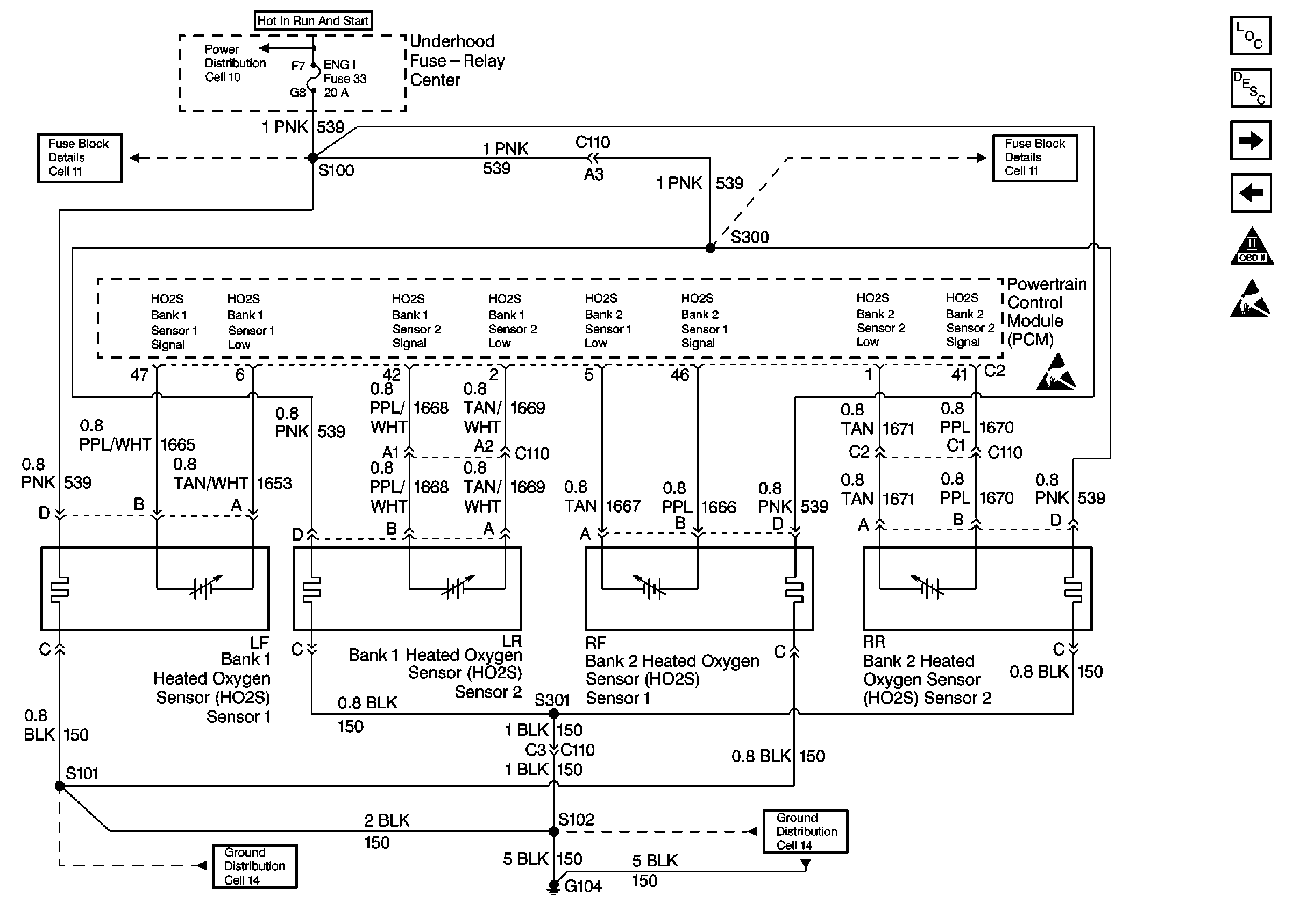
🢒 Cell 20: Heated Oxygen Sensors
Cell 20: Heated Oxygen Sensors
Cell 20: Heated Oxygen Sensors
Cell 10: Hot in Run and Start Fuses
Cell 11: Alt/Start, Auto Park 34, and Eng 1 Fuses
Cell 11: Alt/Start, Auto Park 34, and Eng 1 Fuses
Cell 14: G104
Cell 14: G104
Engine Controls Components
Information Sensors/Switches Description w/TAC
Cell 20: A/C, ABS, and Start Interfaces
Cell 20: EVAP Purge Valve, MAF Sensor, and Instrument Cluster
OBD II Symbol Description Notice
ESD Notice