GM Service Manual Online
For 1990-2009 cars only
Figure 1:

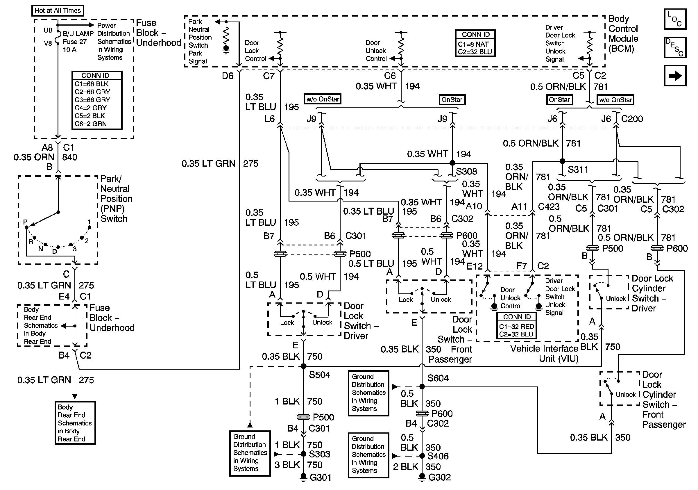
Door Lock Switches


Object Number: 875868  Size: FS
Master Electrical Component List
Power Door Locks Description and Operation
Door Lock Actuators
AIR, ECM SENSE, ALT SENSE, and B/U Lamp Fuses
Body Rear End
Body Rear End
G301
G302, S390, S604
G302, S402, S406, S416
Figure 2:

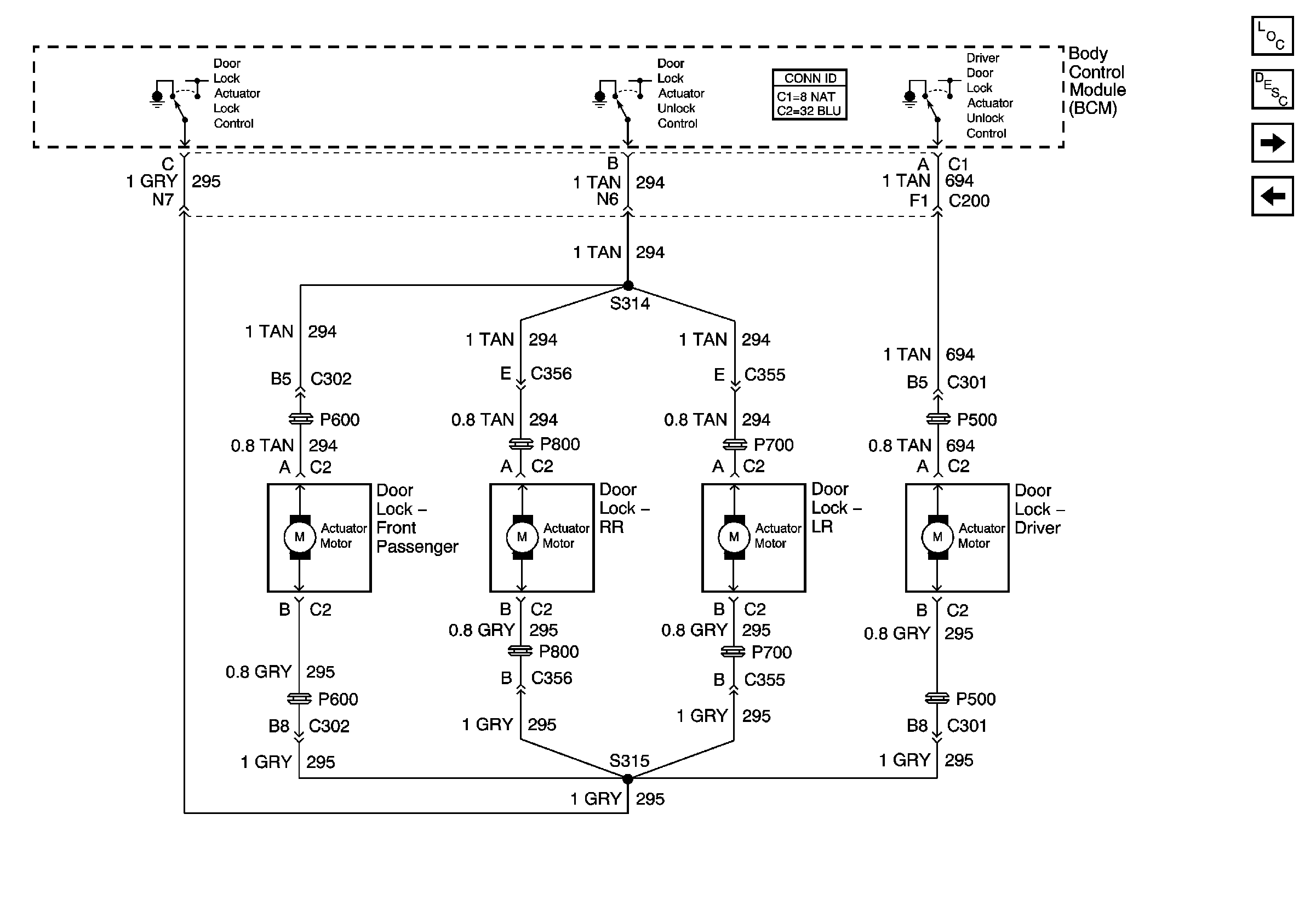
Door Lock Actuators


Object Number: 875869  Size: FS
Master Electrical Component List
Power Door Locks Description and Operation
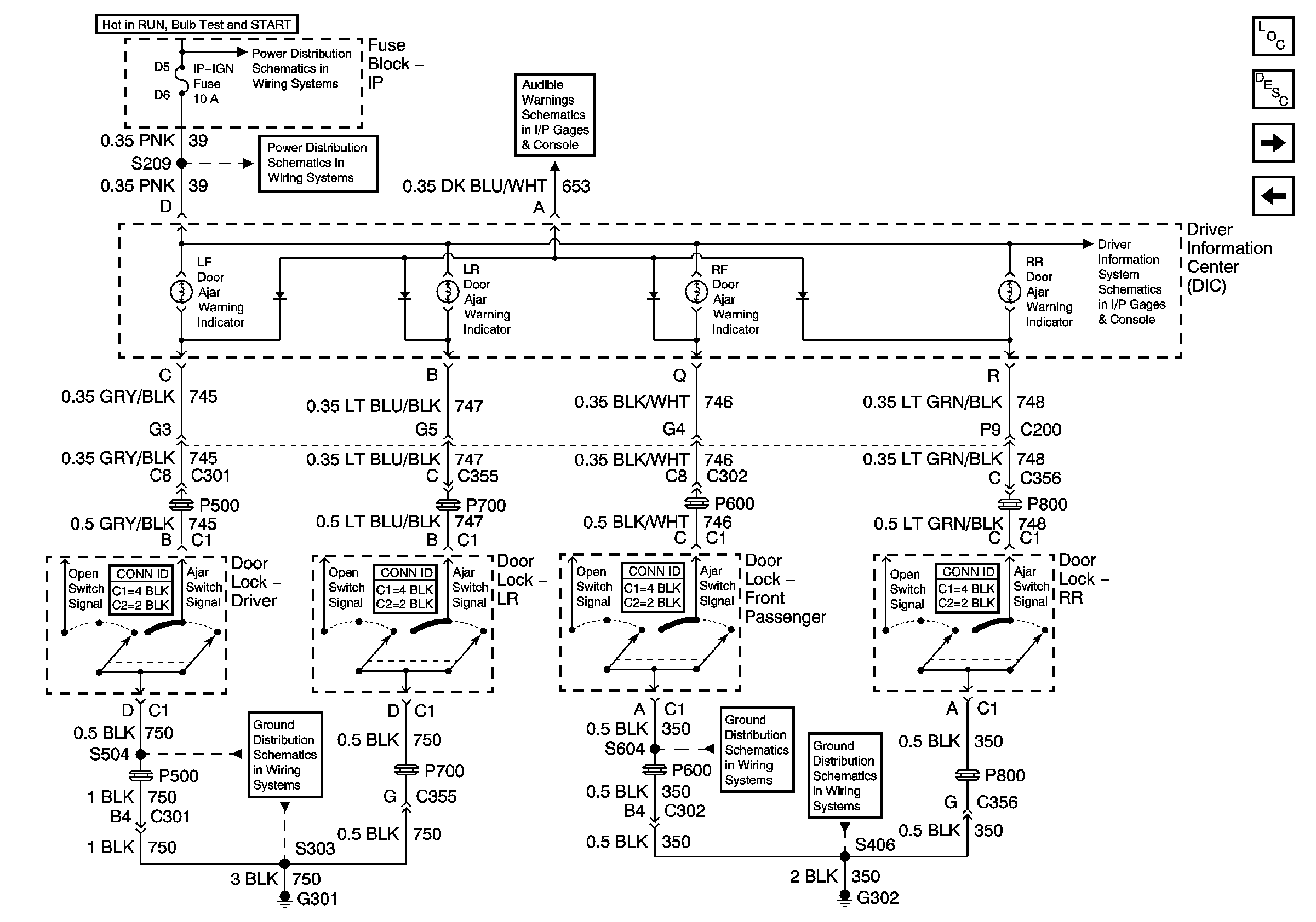
Driver Information Center (DIC), and Door Ajar Indicators (w/o U40)
Door Lock Switches
Figure 3:

Driver Information Center Door Ajar Indicators W/O RPO U40


Object Number: 875870  Size: FS
Master Electrical Component List
Door Ajar Indicator Description and Operation
Driver Information Center (DIC) and Door Ajar Indicators (w/U40)
Door Lock Actuators
IP-IGN, CRUISE, and ECM Fuses
IP-IGN, CRUISE, and ECM Fuses
Audible Warning
G301
G302, S390, S604
G302, S402, S406, S416
Figure 4:

Driver Information Center Door Ajar Indicators W/RPO U40


Object Number: 875872  Size: FS
Master Electrical Component List
Door Ajar Indicator Description and Operation
Driver Information Center (DIC), and Door Ajar Indicators (w/o U40)
G301
G302, S390, S604
G302, S402, S406, S416