GM Service Manual Online
For 1990-2009 cars only
Makes
🢒
Pontiac
🢒
2004
🢒
Montana Ext.
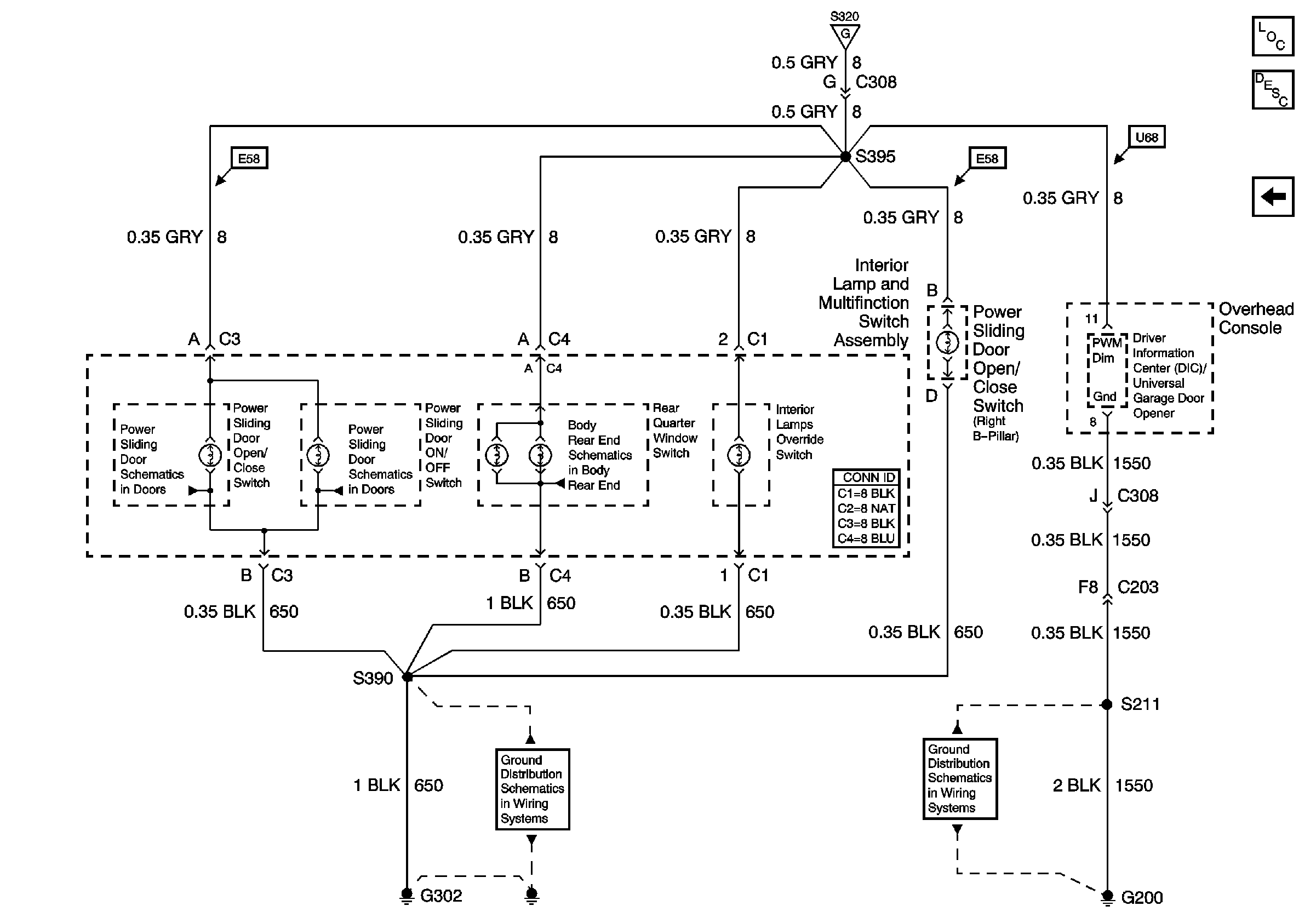
🢒 Interior Lamp and Multifunction Switch, Driver Information Center (DIC) and Rel
Interior Lamp and Multifunction Switch, Driver Information Center (DIC) and Rel
Interior Lamp and Multifunction Switch, Driver Information Center (DIC) and Release Actuator Switch
Master Electrical Component List
Interior Lighting Systems Description and Operation
Rear Window Wiper/Washer and Multifunction Switch, Window and Door Lock Switches
Rear Window Wiper/Washer and Multifunction Switch, Window and Door Lock Switches
Left Door PSD Switches, Park/Neutral Switch and RCDLR
Left Door PSD Switches, Park/Neutral Switch and RCDLR
Rear Quarter Windows
G302, Page 1 of 3
G200, Page 3 of 3